ЛАБА20~1 (945127)
Текст из файла
МОСКОВСКИЙ ЭНЕРГЕТИЧЕСКИЙ ИНСТИТУТ
(технический университет)
Кафедра Теоретических Основ Теплотехники
Лабораторная работа № 20
Теплоотдача в пароводяном теплообменнике.
Студент: Кирпичников А.В.
Группа: ТФ-7-01
Преподаватель:
Работу выполнил:
Работу сдал:
МОСКВА
2003г.
Цель работы: Определить значение среднего коэффициента теплоотдачи от конденсирующего пара к охлаждающей воде; установить его зависимость от скорости движения воды. Определить значение средних коэффициентов теплоотдачи со стороны пара и со стороны воды; установить их зависимость соответственно от температурного напора и скорости движения воды.
Описание методики и опытной установки:
Устройство, служащее для осуществления передачи тепла от одного рабочего тела к другому, называется теплообменным аппаратом или теплообменником. При этом, если процесс теплопередачи от горячего телу к холодному происходит непрерывно и через разделяющею стенку-поверхность теплообмена, то такие теплообменники называются рекуперативными или теплообменниками непрерывного действия.
Средний коэффициент теплоотдачи между греющей и нагреваемой рабочими жидкостями определяется из следующего уравнения, Вт/(м2*град),
(1), где
Q-тепловой поток, Вт;
tл- средняя логарифмическая разность между температурами рабочих жидкостей (полный температурный напор),град;
F- расчётная поверхность теплообмена, м2
Средний коэффициент теплопередачи со стороны греющей (горячей) жидкости определяется из уравнения, Вт/(м2*град),
(2) , где
F1- поверхность теплообмена со стороны греющей среды;
t1-средний температурный напор между горячей жидкостью и стенкой, град.
Аналогично определяется и средний коэффициент теплоотдачи со стороны нагреваемой (холодной) жидкости, Вт/(м2*град),
(3) , где
F2- поверхность теплообмена со стороны нагреваемой среды;
t2- средний температурный напор между стенкой и холодной жидкостью,
град.
Следовательно, чтобы найти из уравнения (1) значение среднего коэффициента теплопередачи, а также из уравнений (2) и (3) средние значения коэффициентов теплоотдачи, необходимо измерить:
Q,F, tл, t1, t2.
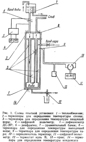
Установка для изучения теплопередачи состоит из пароводяного теплообменника непрерывного действия, уравнительного бачка, системы соединительных трубопроводов и ряда измерительных приборов (Рис.1).
Для измерения расхода воды служит диафрагма. Схема устройства диафрагмы показана на рис. 2.
3
Характеристики
Тип файла документ
Документы такого типа открываются такими программами, как Microsoft Office Word на компьютерах Windows, Apple Pages на компьютерах Mac, Open Office - бесплатная альтернатива на различных платформах, в том числе Linux. Наиболее простым и современным решением будут Google документы, так как открываются онлайн без скачивания прямо в браузере на любой платформе. Существуют российские качественные аналоги, например от Яндекса.
Будьте внимательны на мобильных устройствах, так как там используются упрощённый функционал даже в официальном приложении от Microsoft, поэтому для просмотра скачивайте PDF-версию. А если нужно редактировать файл, то используйте оригинальный файл.
Файлы такого типа обычно разбиты на страницы, а текст может быть форматированным (жирный, курсив, выбор шрифта, таблицы и т.п.), а также в него можно добавлять изображения. Формат идеально подходит для рефератов, докладов и РПЗ курсовых проектов, которые необходимо распечатать. Кстати перед печатью также сохраняйте файл в PDF, так как принтер может начудить со шрифтами.
















