1) - копия (933814), страница 5
Текст из файла (страница 5)
jn min – гарантированный боковой зазор между зубьями;
fa – предельные отклонения межосевого расстояния;
EHS – наименьшее смещение исходного контура рассчитываемого колеса;
Fr – допуск на радиальное биение зубчатого венца колеса;
TН – допуск на смещение исходного контура;
Вероятностное значение мертвого хода можно определить по формуле ([1] стр.65):
(41), где
– значение координаты середины поля рассеяния люфтовой погрешности кинематической цепи,
– коэффициент, учитывающий процент принятого риска, согласно выбранному значению p=1%, t1=0.39 (П2.26 стр.131).
– поле рассеяния мертвого хода элементарных передач.
Значение координаты середины поля рассеяния люфтовой погрешности кинематической цепи ([1] стр.66):
(42), где
– координаты середины поля рассеяния мертвого хода элементарных передач.
Координаты середины поля рассеяния мертвого хода элементарных передач:
(43), где
и
– min и max значение мертвого хода.
Min значение мертвого хода (по [1] стр.62):
(44), где
Max значение мертвого хода в угловых минутах
(45), где
—максимальное значение мертвого хода в мкм.
Если пренебречь радиальными зазорами в опорах шестерни и колеса, то максимальное значение мертвого хода в мкм ([1] стр.60):
(46), где
и
- наименьшее смещение исходного контура шестерни и колеса соответственно,
и
- допуск на смещение исходного контура шестерни и колеса соответственно.
Максимальные значения мертвого хода элементарных передач (jt max), минимальное значение мертвого хода (л мin), максимальное значение мертвого хода (л мах), координаты середины поля рассеяния мертвого хода (Eлj), поле рассеяния мертвого хода элементарных передач (Vлj) и значение координаты середины поля рассеяния (Eлр) представлены в таблице:
| № колеса | 1 | 2 | 3 | 4 | 5 | 6 | 7 | 8 |
| jt max, мкм | 71.05 | 71.05 | 71.05 | 71.05 | ||||
| | 0.017 | 0.068 | 0.25 | 1 | ||||
| л мin угл.мин | 1.06 | 1.06 | 1.06 | 1.06 | ||||
| л мах, угл.мин | 6.43 | 6.43 | 6.43 | 6.43 | ||||
| Eлj, угл.мин | 3.75 | 3.75 | 3.75 | 3.75 | ||||
| Vлj, угл.мин | 5.37 | 5.37 | 5.37 | 5.37 | ||||
| Eлр, угл.мин | 5.41 | |||||||
Значение координаты середины поля рассеяния люфтовой погрешности кинематической цепи ([1] стр.66):
EpлΣ=3.75*0.017+3.75*0.068+3.75*0.25+3.75*1=5.00’
Так как процент принятого риска
, то
Вероятностное значение мертвого хода кинематической цепи
Вероятная суммарная погрешность ЭМП
Условие
(12.68’<[20’]) выполняется, следовательно, согласно [1], ЭМП может обеспечить заданную точность.
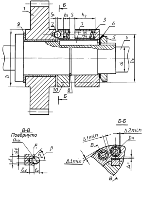
Расчет предохранительной муфты
С
Рис.1. Шариковая предохранительная муфта
огласно ТЗ на предпоследнем валу редуктора (третьем) должна быть установлена предохранительная пружинная шариковая муфта для предотвращения поломки привода из-за перегрузок (для ограничения наибольшего допускаемого крутящего момента). Расчёт предохранительных муфт (см. [5], стр.106) при выбранных общих габаритах и числе шариков заключается в определении необходимых сил прижатия и расчёте пружин.Согласно рекомендации [4] с учетом момента предохранения назначаем число шариков, равным z=5. Наружный диаметр D муфты по рекомендации [4] принимаем D=40 мм. Тогда диаметр центров расточки гнезд под пружины (D0) определится соотношением ([4] стр.23):
D0=2/3D (47)
D0=2/3·17=12 мм.
Зазор ∆2min (см. рис.1) выбирают из технологических соображений, для приборных конструкций и материалов ([4] стр.27) можно принять ∆2min=0.25 мм. Для выбора пружины согласно методике ([4] стр.23) определяют наружный диаметр пружины DH:
DH=(D-D0)/2-2·∆2min (48)
DH=(17-12)/2-2·0.25=2.0 мм.
Поскольку наружный диаметр пружины должен соответствовать диаметру шариков, то согласно с [4] приводим значение наружного диаметра пружины к ближайшему стандартному значению диаметра шариков.
DH=dш=2.0 мм
Число пружин в барабане соответствует числу шариков, т.е. m=z=5.
Сила одной пружины при предварительной деформации, соответствующая регулировке муфты по Mном:
P1 = Pном/m (49), где
Pном - номинальная окружная сила, определяемая из соотношения (50) с учетом Mном =9.8 Н·мм
Pном=
Н
P1=0.35 Н
Силу срабатывания пружин Р2 получают делением силы Рnp на количество пружин m, где Рnp - суммарная сила пружин, которая может быть определена из соотношения ([4] стр.30):
Pnp=P·[tg(++)] (51), где
- угол конуса лунки для шарика, согласно [4] =45º;
- угол трения шарика и лунок ступицы колеса, согласно [4] =8.5º;
- угол трения шарика и обоймы, согласно [4] при стальной обойме =8.5º;
P - окружная сила, определяемая соотношением (52).
P=2··Mmax/D0 (45), где
Mmax - максимальный момент на валу, согласно силовому расчету на 3-ем валу максимальный допустимый момент Mmax=870 Н·мм=0.870 Н·м;
- коэффициент запаса, согласно рекомендациям [4] выбираем =1.2.
P=2·1.2·760/11.3=143 Н
Pnp=143 ·[tg(45+8.5+8.5)]= 271.7 Н
P2=271.7 /5=54.3 Н
Чтобы исключить соударение витков пружины при срабатывании из-за их инерционности, задают инерционный зазор между витками пружин в пределах 0.05...0,25 мм (назначаем инерционный зазор 0.1 мм), на который увеличивают обычный зазор между витками ([4] стр.29). Сила пружины Р3 при максимальной допустимой деформации:
(53)
P3=54.3 /(1-0.1)= 60.4 Н
Часть хода пружины, на которой крутящий момент не превышаем момент предохранения вычисляется по формуле ([4] стр.34):
h = (1 - sinb)·dш/2 (54)
h=(1-sin(45))·1.55/2=0.233 мм.
Диаметр лунки в ступице колеса принимаем ([4] стр.34)
dсв = 0.7dш (55)
dсв =0.7·1.55=1.1 мм.
Зазор S1 согласно [4] назначаем 0.5dш, S1=0.85 мм.
Жесткость пружины, необходимой для обеспечения необходимого режима работы предохранительной муфты, определяется выражением ([4] стр.29):
k = (P2 - P1)/h (56)
k=(54.3 -0.35)/ 0.233 =231.5 Н/мм
Используя полученные значения, из табл.2.2 ([4] стр.24-27) выбираем пружину №154 со следующими характеристиками:
-
Сила пружины при максимальной деформации 1-го витка P3=13.2 Н;
-
Диаметр проволоки d=0.40 мм;
-
Наружный диаметр пружины DН=2.0 мм;
-
Жесткость одного витка k=62.5 Н/мм;
-
Наибольший прогиб одного витка a=0.211 мм.
Расчет предохранительной муфты
Предохранительную шариковую муфту устанавливаем на третьем валу редуктора. Момент, передаваемый валом с муфтой МIII = 0.870 Н*м.
Момент, при котором должна срабатывать (проскальзывать) муфта:
Мпр = ξ*МIII,
где ξ – коэффициент запаса. Примем ξ = 1.5.
Тогда Мпр = 0.870*1.5 = 1.305 [Н*м].
Силу пружины, действующую на шарик, определим по формуле [2]:
где Мпр - момент, при котором муфта проскальзывает, Н*м;
dц - диаметр окружности, проходящей через центры шариков, м;
z - число подпружиненных шариков в муфте;
dш - диаметр шариков, м;
dотв - диаметр отверстия в наружной части муфты, м.
Из конструктивно-технологических соображений примем: z = 5; dш = 2 мм; dц = 12 мм; dотв = 0.7 мм.
Тогда Fпр = 65.74 Н.
Максимальная сила прижатия равна: Рmax = 1.5*Fпр.
Тогда Рmax = 1.5*65.74 = 98.61Н.
В качестве материала для пружины примем стальную пружинную проволоку с маркой стали 60С2А.
Характеристики материала: модуль сдвига G = 8200 МПа;
допускаемое напряжение τ = 750 МПа.
При расчете диаметра проволоки используем уравнение прочности:
где D - средний диаметр пружины, мм;
К - коэффициент увеличения напряжения у внутренней стенки витка, мм.
Примем D = 1 мм; К = 1.2.
В результате расчетов получили d = 0.74 мм.
Назначим число рабочих витков пружины i = 4.
Жесткость пружины k определим по формуле:
k = (P2 - P1)/h
k=(57.76 -0.34)/ 0.255 =225.18 Н/мм
Сделаю расчет длины пружины в ее различных состояниях, а также расчет параметров пружины:
1.Длина пружины в максимально сжатом состоянии Lсж:
Lсж = (ζ*i + iоп)*d, где
















