РПЗ (777910), страница 3
Текст из файла (страница 3)
- Многие поверхности детали имеют высокие показатели точности и низкую шероховатость, что снижает технологичность из-за необходимости применения более точного оборудования и более продолжительной обработки.
- присутствуют поверхности, которые требуют оборудования с ЧПУ и специального инструмента. К таким поверхностям относятся прямоугольные окна с размером 37, плоскости шестигранника и канавка на Ø28;
Для количественной оценки технологичности рассчитаем коэффициенты использования материала, коэффициент шероховатости и точности изготовления детали:
, где
- масса детали,
- масса заготовки.
,
где
- среднее значение шероховатости,
- количество поверхностей с данной шероховатостью.
,
где
- среднее значение точности поверхностей,
- количество поверхностей данной точности.
2.4 Выбор вида и метода изготовления заготовки
Заготовка относится к классу валов, изготавливается из стали марки 30ХГСА, многие поверхности имеют высокую точность и низкую шероховатость, поэтому основными видами заготовки могут быть: прокат, штамповка, поковка, реже – отливка.
Для уточнения вида заготовки и метода её изготовления ниже приведён анализ.
2.4.1. На основе кодирования основных признаков
Определяем четыре основных признака детали:
-
Код материала - 6 (табл. 3.1);
-
Код серийности - 3 (табл. 3.3);
-
Код конструктивных форм - 5 (табл. 3.2);
-
Код массы заготовки – 4 (табл. 3.4)
По четырём основным показателям детали (6-3-6-4) определим возможные виды и способы получения заготовки по таблице 3.7: К ним относятся 7..10.
В соответствии с данными табл.3.6 число возможных видов:
7. Штамповка на молотах и прессах;
8. Штамповка на ГКМ;
9. Свободная ковка;
10. Прокат.
Проведём анализ основных признаков детали для выбора метода получения заготовки.
Результаты анализа основных признаков детали приведены в таблице 3.
Таблица 3 – Результаты анализа основных признаков.
|
Признак |
Возможные значения | Приоритетные виды заготовок |
| Форма детали | простая | П, ПМ |
| Заготовительные свойства материала | ||
| Жидкотекучесть | неудовлетворительная | (О) |
| Пластичность | удовлетворительная | ОД, П, ПМ |
| Свариваемость | неудовлетворительная | (СК) |
| Обрабатываемость резанием | удовлетворительная | П, ПМ |
| Плотность материала | обычная | любая |
| Ответственность | обычная | любая |
| Ориентированность структуры | нет | любая |
| Удельная стоимость материала | обычная | любая |
| Тип производства | серийное | П, ОД, ПМ |
Вывод: на основании проведенного анализа выбираем в качестве заготовки поковку, получаемую методом горячей объемной штамповкой класс точности Т4, степень сложности С1 по ГОСТ 7505-89. Эскиз заготовки приведен на рисунке 5.
Рисунок 5 – Эскиз заготовки.
2.5 Выбор технологических баз
Анализ типовых технологических процессов показал, что при обработке валов в качестве базовых поверхностей могут быть использованы внутренняя и наружная цилиндрические поверхности и торцы.
Использование данного сочетания базовых поверхностей обеспечивает возможность выполнения одного из основных принципов – последовательность смены баз. Кроме того, при обработке ответственных поверхностей применяется принцип постоянства баз.
На рисунке 6 приведены возможные схемы установки, которые могут быть применены для обработки данной детали.
Рисунок 6 – Схемы установки.
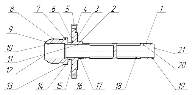
2.6 Разработка маршрута обработки основных поверхностей детали
Рисунок 7 – Поверхности.
В нижеприведенной таблице 3 для поверхностей, изображенных на рисунке 7, показан маршрут их обработки, достигаемый параметр точности и шероховатости, а также номер схемы установки, которая может быть использована при их обработке.
Таблица 4 – Маршрут обработки поверхностей.
| № Пов-ти | Маршрут обработки поверхности | Достигаемые параметры | Номер схемы | |
| Точность | Шероховатость | |||
| 1 | Черновое точение Получистовое точение Чистовое точение Шлифование | IT12 IT11 IT9 IT7 | Ra 12.5 Ra 6.3 Ra 2.5 Ra 0.32 | 2 2 2 4 |
| 2,4,9 | Точение черновое Точение получистовое Точение чистовое | IT 12 IT11 IT9 | Ra 12.5 Ra 6.3 Ra 2.5 | 2 2 2 |
| 3,5,6,12, 14,15,19,21 | Черновое точение Получистовое точение | IT12 IT11 | Ra 12.5 Ra 6.3 | 3 3 |
| 10,11,20 | Сверление Получистовое растачивание | IT12 IT11 | Ra 6,3 Ra 3,2 | 3 3 |
| 8 | Резьбонарезание | 3 | ||
| 13,17 | Фрезерование черновое Фрезерование получистовое | IT12 IT9 | Ra 12.5 Ra 6.3 | 3 3 |
| 7,16 | Сверление | IT12 | Ra 6.3 | 4 |
| 18 | Сверление Фрезерование | IT12 IT10 | Ra 6,3 Ra 6.3 | 4 4 |
Проанализировав таблицу 4 можно сказать, что технологический процесс изготовления детали «стакан» будет состоять из обработки поверхностей 1,2,3,4,8,9,10,11,20 с добавлением обработки поверхностей 13,16,17,18.
2.7 Расчет припусков на обработку
Проведем расчет припусков для диаметрального размера Ø24f7(-0.03) для которого Ra = 0.8 мкм. Заготовка – поковка.
Результаты расчета приведены в таблицу 5.
Таблица 5 - Результаты расчета припусков.
| Маршрут Обработки Поверхности | Элементы припуска | Расчетные величины | Допуск, Ti | Размеры заготовки | Предв. значение припусков | |||||||||
|
|
|
|
|
|
|
|
|
|
| |||||
| Поковка | 63 | 60 | 10,8 | 150 | - | 24,54 | 400 | 24,54 | 24,94 | - | - | |||
| Точение черновое | 20 | 45 | 2 | 70 |
| 24,27 | 150 | 24,27 | 24,42 | 0,27 | 0,52 | |||
| Точение получистовое | 12 | 30 | 0,5 | 0 |
| 24,18 | 90 | 24,18 | 24,27 | 0,09 | 0,15 | |||
| Точение чистовое | 10 | 20 | 0,02 | 0 |
| 24,12 | 70 | 24,12 | 24,19 | 0,06 | 0,08 | |||
| Шлифование окончательное | 8 | 15 | 0,02 | 50 |
| 23,97 | 30 | 23,97 | 24 | 0,15 | 0,19 | |||
итого: 0,57 0,94
, где
- черновая обр.,
чистовая обр.
Черновое точение:
мм
Получистовое точение:
мм
Чистовое точение















