23 2 31 Схемная и микропрограммная реализация БУУ (775995)
Текст из файла
31 Схемная и микропрограммная реализация БУУ.
Блок устройства управления – это устройство, которое обеспечивает управление операционным устройством.
Работа какого-либо устройства (операционного блока), в том числе центрального процессора, полностью определяется структурной схемой его работы.
Структурная схема состоит из блоков прямоугольной и ромбовидной формы. Прямоугольные боки определяют работу узлов операционного блока, ромбовидные - обеспечивают выбор одного из возможных путей реализации структурной схемы.
Действия, указанные в прямоугольном блоке, которые должен выполнить операционный блок, образуют микрокоманду. Каждое из указанных действий в прямоугольном блоке называют микроприказом. Поэтому микрокоманда состоит из одного или нескольких микроприказов. Заметим, что могут быть и пустые микрокоманды, т.е. не задающие никакого действия операционному блоку.
Любой из микроприказов практически может рассматриваться как пересылка информации с целью ее запоминания или преобразования из одного регистра в другой регистр.
Чтобы обеспечить выполнение требуемых микроприказов не постоянно, а в строго определенное время, необходимо расчленить связи, соединяющие соответствующие регистры, управляющими вентилями (схемами И).
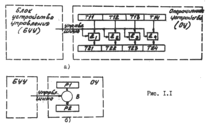
В этом случае управляющий вентиль имеет два входа ( от передающего триггера и управляющий) и один выход, подсоединенный к приемному триггеру (рис.1.1).
Тогда во время установления единичного сигнала на управляющем входе управляющего вентиля будет происходить передача данных от передающего к приемному регистру. Таким образом определяется взаимно однозначное соответствие между микроприказамии управляющими вентилями, т.е. каждому микроприказу взаимно-однозначно соответствует номер управляющего вентиля. Поэтому устройство управления, выдавая управляющие единичные сигналы на определенные управляющие вентили и в требуемое время ( в соответствии со структурной схемой), обеспечивает выполнение операционным устройством необходимого прямоугольного блока структурной схемы.
Действия, определенные в ромбовидном блоке, сводятся к проверке указанных условий и выбор пути выполняет устройство управления. Для этого устройству управления должны быть доступны триггеры, от содержимого которых зависят проверяемые условия. Будем называть множество этих триггеров индикаторами.
Таким образом, при обсуждении работы устройства управления (УУ) требуется выделить в операционном блоке управляющие вентили В1,В2,...,ВN, к которым подсоединены шины от блока устройства управления, и регистр индикаторов И1,И2,...,ИМ, шины от которых подсоединены к БУУ (рис.1.2).
Введем в БУУ регистр управления (РУ) длиной N бит. Установим взаимно-однозначное соответствие между номерами разрядов регистра управления и номерами управляющих вентилей по правилу: i-й разряд РУ соответствует i-му вентилю. Тогда работа БУУ сводится к систематическому формированию двоичных последовательностей. В зависимости от способа формирования двоичных последовательностей выделяют микропрограммную и схемную реализации устройства управления.
Микропрограммная реализация устройства управления
Любая микрокоманда, выдаваемая БУУ в операционное устройство, может рассматриваться как двоичный набор длиной N бит. При микропрограммной реализации БУУ все двоичные последовательности (микрокоманды), соответствующие структурной схеме работы операционного устройства, хранятся в специальной памяти, образуя тем самым микропрограмму, оставляя понятие программы для набора обычных машинных команд.
Идея микропрограммного управления была предложена директором Математической лаборатории Кембриджского университета (Англия) проф. М.В. Уилксом в 1951 г. Уилкс и его сотрудники исходили из такого способа организации компонентов вычислительной системы, при котором она была бы проста в реализации и обслуживании. Их больше интересовало упрощение задачи конструирования, чем возможные сокращения объема аппаратуры.
Микропрограммная реализации БУУ требует аппаратной поддержки. Исходная схема, предложенная Уилксом, приведена на рис. 1.7.
Рис.1.7
Схема состоит из двух матриц: управляющей матрицы С, обеспечивающей формирование требуемых двоичных последовательностей (микрокоманд), и матрицы S ,определяющей номер очередной микрокоманды и дешифратора, на который в строго определенные моменты времени подаются импульсы синхронизации.
Дешифратор в соответствии с кодом, заданным в регистре (длиной К-бит) адреса микрокоманды РАМК, возбуждает одну из 2к выходных шин. Матрицы С и S состоят соответственно из системы 2к горизонтальных и системы вертикальных N и К шин.
Каждая вертикальная линия матрицы С соединена с одним управляющим вентилем. Поэтому управляющие вентили будут открываться простым возбуждением соответствующих управляющих линий матрицы С.
Импульс от дешифратора проходит также и сквозь матрицу, устанавливая определенный код(адрес) на регистре РАМК, по которому будет выбрана соответствующая горизонтальная шина в следующем такте работы БУУ. Чтобы обеспечить устойчивую работу устройства, установка адреса новой микрокоманды осуществляется с определенной задержкой.
Требование к системе управления, связанное с возможностью ветвления. Обеспечивается триггером условия - индикатором (одним или несколькими), состояние которого зависит от результата заранее предусмотренных проверочных операций. В зависимости от результата проверки триггер условия определяет одни из двух различных путей формирования адреса (кода) следующей микрокоманды.
Таким образом, в соответствии с содержимым регистра РАМК выбирается микрокоманда, в которой можно выделить два поля. Управляющее поле микрокоманды обеспечивает управление управляющими вентилями; адресное поле, возможно совместно с соответствующим триггером условия (одним из М индикатор), обеспечивает установку адреса следующей микрокоманды, которая будет управлять функционированием системы во время следующего цикла операции.
Задачи проектирования и реализации микропрограммного УУ
При технической реализации микропрограммного УУ микрокоманды (включая управляющие и адресные поля) хранятся в запоминающем устройстве. Так как обычно микропрограммы неизменны, то запоминающее устройство представляет собой постоянное запоминающее устройство. Последнее обстоятельство дает возможность уменьшить время получения очередной микрокоманды, управляющей операционным устройством в очередном цикле, т.е. увеличить скорость работы операционного устройства.
Основные изменения и дополнения классической схемы Уилкса можно разбить на три класса [1].
-
Изменения в схем выборки адреса микрокоманды (задание последовательности и ветвление).
-
Изменения в определении элементарных операций.
-
Изменения в определении микрокоманды (слова микропрограммной памяти).
Рассмотрим изменения, относящиеся к заданию очередности и ветвления.
В вычислительных машинах ЕС ЭВМ, IBM -360 основной механизм адресации микрокоманд сводится к хранению в слове ячейки памяти микропрограммы (ПМП) максимального количества старших разрядов адреса следующей ячейки ПМП. Адрес следующей микрокоманды определяется содержимым нескольких полей текущей микрокоманды. Ряд полей текущей микрокоманды непосредственно задает базовый адрес, т.е. старшие разряды адреса следующей микрокоманды и эти поля не требуются декодировать. Другие поля текущей микрокоманды непосредственно задают базовый адрес, т.е. старшие разряды адреса следующей микрокоманды и эти поля не требуется декодировать.
Другие поля текущей микрокоманды (одно или два) задают одну из множества взаимно исключающих проверок, которое можно производить в машине. Каждое поле проверки связано с одним из младших разрядов в поле адреса следующей микрокоманды. Если, например, проверка связана с младшим разрядом., то старшие разряды полностью определены содержимым поля адреса текущей микрокоманды. В младший разряд регистра адреса МПП принудительно заносится 0, однако его окончательная установка зависит от результата указанной проверки ветвления. При положительном результате проверки в эту разрядную позицию вводится двоичная единица, в противном случае в ней остается 0.
Способ задания очередности и передачи управления в системе Р4200[1,6] полностью основывается на конкретных требования обработки. Эта машина предназначена прежде всего для экономических расчетов, где большое внимание уделено обработке полей переменной длины. Поскольку в большую часть выполняемых здесь алгоритмов входит ряд последовательных шагов, для образования последовательных адресов микрокоманд используется счетчик (для прибавления единицы). Для организации перехода в точке ветвления в регистр адреса МПП загружается новый адрес.
Каждая из рассмотренных трех схем задания очередности предназначена для того, чтобы повысить гибкость возможных изменений очередности микрокоманд, уменьшить длину ячейки микропрграммной памяти и время выборки следующей микрокоманды.
Организация слова микрокоманды
Дополнительные возможности построения различных реализаций микропроцессорного УУ связаны с определением микрооперации и организацией слова ячейки микропрограммной памяти.
Микрооперация рассматривается как элементарная операция обработки данных, что позволяет многим такого рода операциям, являющимся взаимно исключающими, выполняться одновременно.
При рассмотрении схемы Уилкса и примера (см. рис. 1.5) для каждого управляющего вентиля в системе существует отдельная управляющая шина, исходящая из матрицы управления. Такая схема называется схемой прямого управления. В реальных вычислительных системах схема прямого управления применяется лишь тогда, когда число управляющих вентилей сравнительно невелико (порядка сотни), что имеет место в малых ЭВМ простой архитектуры (например, ЭВМ Наири использует эту схему). Вычислительную машину, имеющую такую организацию слова МПП, при которой используется прямая схема управления, принято называть машиной с горизонтальной структурой.
Наряду с прямым управлением используется кодированное управление. Доводы, поясняющие возможность кодированного управления состоят в следующем. Пусть для функционального узла существует N возможных источников. Однако независимо от числа источников в конкретном цикле работы операционного устройства может быть выбран только один источник. Так, если левым входом сумматора являются (см. рис. 1.3.) регистры Р1 иР2, то источником в операционном цикле работы может выступить либо один из них, либо нулевой сигнал, т.е. один источник из трех возможных.
Таким образом, все множество управляющих вентилей можно разбить на два подмножества, в которые входят взаимно исключающие вентили. Состояние вентилей каждого подмножества можно закодировать. Для размещения кода каждого подмножества в микрокоманде существует свое поле правления. Поэтому вместо того, чтобы в управляющем поле отвести N разрядов как это делается при управлении, здесь требуется только log2N разрядов. Для реализации этого метода управления дополнительно необходим отдельный дешифратор для каждого поля, который обеспечивает в соответствии с кодом выбор одной из N управляющих шин и тем самым возбуждение подсоединенного к этой шине управляющего вентиля.
Преимущество указанного подхода состоит в уменьшении длины управляющего поля микрокоманды, что приводит к снижению стоимости и увеличению быстродействия МПП, однако введение дополнительных дешифраторов, в свою очередь, увеличивает стоимость и вносит некоторую задержку в работе устройства управления.
Для отыскания компромиссного решения при разработке УУ часто используют оба подхода одновременно.
Выше указывалось, что вычислительную машину с прямым управлением называют машиной с горизонтальной структурой. Машины, для которых типично большое количество кодируемых полей в микрокомандах, принято называть машинами с вертикальной структурой. Профессор Каган Б.М. [3] дает определение вертикального микропрограммирования для случая, когда управляющие вентили образуют ровно одно подмножество, определяя ситуацию нескольких подмножеств как горизонтально-вертикальное микропрограммирование (горизонтальность обеспечивают подмножества, а вертикальность- микрооперации внутри каждого из подмножества).
Схемная реализация устройства управления
Обсуждение схемной реализации блока устройства управления начнем с рассмотрения частного случая микропрограммной реализации.
Рис. 1.18
Характеристики
Тип файла документ
Документы такого типа открываются такими программами, как Microsoft Office Word на компьютерах Windows, Apple Pages на компьютерах Mac, Open Office - бесплатная альтернатива на различных платформах, в том числе Linux. Наиболее простым и современным решением будут Google документы, так как открываются онлайн без скачивания прямо в браузере на любой платформе. Существуют российские качественные аналоги, например от Яндекса.
Будьте внимательны на мобильных устройствах, так как там используются упрощённый функционал даже в официальном приложении от Microsoft, поэтому для просмотра скачивайте PDF-версию. А если нужно редактировать файл, то используйте оригинальный файл.
Файлы такого типа обычно разбиты на страницы, а текст может быть форматированным (жирный, курсив, выбор шрифта, таблицы и т.п.), а также в него можно добавлять изображения. Формат идеально подходит для рефератов, докладов и РПЗ курсовых проектов, которые необходимо распечатать. Кстати перед печатью также сохраняйте файл в PDF, так как принтер может начудить со шрифтами.















