11 1 11 (775962)
Текст из файла
11. Схемотехника комбинационных, регистровых и пересчетных схем.
Цифровые логические схемы разделяются на комбинационные и последовательные. Комбинационные – логические устройства, в которых состояние выхода зависит только от текущего состояния их входов. Выходное состояние последовательной схемы определяется как состоянием выходов на данные момент, так и ее предыдущим состоянием, что требует наличие памяти в какой-либо форме (триггер).
Комбинационные схемы можно построить, используя стандартные логические элементы: И, ИЛИ, НЕ, И-НЕ (штрих Шеффера), ИЛИ-НЕ (стрелка Пирса).
Проектирование произвольной логики комбинационного типа.
-
С помощью таблиц истинности задаются значения искомой функции на всех наборах входных аргументов.
-
Минимизировать функцию с помощью карт Вейча.
-
Выписать полученную МДНФ и привести к заданному базису.
Основные типы комбинационных схем:
- Мультиплексор – осуществляет подключение одного из входных каналов к выходному под управлением адресующего слова.
- Демультиплексор – передает данные из одного входного канала в один из нескольких каналов-приемников.
- Дешифратор – устройство, преобразующее двоичный код в код «1 из N» (n входов и 2n выходов).
- Приоритетный шифратор – на выходе формируется двоичный код, соответствующий возбуждаемому входу с наивысшим приоритетом » (2n входов и n выходов).
- Сумматор - операционное устройство, предназначенное для арифметического сложения двух операндов.
- Вычитатель – ОУ, выполняющее арифметическое вычитание кодов чисел.
- Компараторы - (устройства сравнения кодов) выполняют микрооперацию определения отношения между двумя символами. Основными отношениями принято считать «равно» и «больше». Другие отношения могут быть определены через основные.
Триггерные устройства. Основными элементами, предназначенными для хранения информации, являются устройства с двумя устойчивыми состояниями — триггеры.
Регистровые схемы.
Регистр - операционное устройство для хранения, приема и выдачи кодов.
Регистр, предназначенный для работы с двоичными кодами, представляет собой совокупность триггеров, количество которых соответствует количеству разрядов в двоичном коде, и вспомогательных схем, позволяющих дополнительно реализовать следующие функции регистров:
- запись нулевого кода;
- сдвиг кода вправо или влево на заданное число разрядов;
- прием – передачу с преобразованием последовательного кода в параллельный и наоборот;
-
получение обратного кода;
-
выполнение поразрядных логических операций (дизъюнкция, конъюнкция, сложение по модулю 2).
При реализации последовательного кода все его разряды во времени передаются последовательно, один за другим по одной линии связи, при реализации параллельного кода всего его разряды передаются одновременно, каждый по своей цепи.
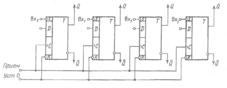
Схема регистра
Счетчики. Счетчиком называется операционное устройство, фиксирующее число сигналов во входной последовательности.
Синтез осуществляется построением таблицы переходов и функций возбуждения входов (далее минимизация с помощью карт Вейча).
Счетчики определяются двумя параметрами:
-
Объем: С = 2n, n – количество разрядов.
-
Задержка: td сч.
Если емкость счетчика С < 2n, то схема называется пересчетной.
По целевому назначению счетчики подразделяются на простые (работают либо в режиме сложения, либо в режиме вычитания) и реверсивные (реализуют оба режима счета).
По типу счета:
-
работающие в режиме сложения;
-
работающие в режиме вычитания;
-
реверсивные (реализуют оба режима счета).
По виду переходов между разрядами:
-
счетчики с последовательными переходами: td сч = td тр * n;
-
счетчики с параллельными переходами: td сч = td тр;
-
счетчики с групповым переносом: td сч = td тр + m* td тр, m – количество групп.
Основой построения счетчиков служат триггеры. Быстродействие счетчика зависит от реализации межразрядных соединений. Существует несколько способов передачи переносов: последовательный, параллельный, сквозной, групповой и др. Групповой перенос представляет комбинацию параллельного переноса в группе и сквозного между группами разрядов счетчика и наоборот.
В счетчике с последовательным переносом счетные сигналы подаются только на вход триггера первого разряда. Для каждого из последующих разрядов сигналы переноса поступают с выхода предшествующих разрядов. В результате происходит последовательное переключение разрядов счетчика. Быстродействие такого счетчика определяется задержкой распространения сигнала:
где n— количество разрядов в счетчике; tdтр— средняя задержка триггера.
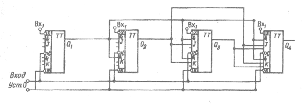
Счетчик с последовательным переносом (суммирующий)
В счетчиках с параллельным переносом на информационный вход каждого разряда поступают сигналы с выходов всех предшествующих разрядов, а входной счетный сигнал одновременно (параллельно) поступает на синхровходы С триггеров всех разрядов. Счетчики с параллельным переносом обычно строятся на базе J – K- и D – V-триггеров, синхронизируемых фронтом сигнала. Быстродействие счетчика с параллельным переносом определяется задержкой сигнала на одном триггере:
.
Счетчик с параллельным переносом
Пересчетные схемы.
Схема счетчика, фиксирующая выходной сигнал после поступления на его вход фиксированного числа сигналов, называется пересчетной схемой.
Число входных сигналов, определяющих появление выходного сигнала, называется коэффициентом пересчета схемы.
При наличии обратных связей n-разрядный двоичный счетчик имеет емкость К<2 n; такие схемы называются счетчиками по модулю К.
Для построения асинхронной пересчетной схемы с заданным числом состояний К определяется:
количество разрядов n из условия
;
число неиспользованных состояний m
;
обобщенная функция сброса
,
которая подается на общую шину установки всего счетчика в нуль.
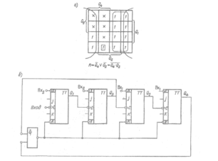
Схема декадного счетчика
4
Характеристики
Тип файла документ
Документы такого типа открываются такими программами, как Microsoft Office Word на компьютерах Windows, Apple Pages на компьютерах Mac, Open Office - бесплатная альтернатива на различных платформах, в том числе Linux. Наиболее простым и современным решением будут Google документы, так как открываются онлайн без скачивания прямо в браузере на любой платформе. Существуют российские качественные аналоги, например от Яндекса.
Будьте внимательны на мобильных устройствах, так как там используются упрощённый функционал даже в официальном приложении от Microsoft, поэтому для просмотра скачивайте PDF-версию. А если нужно редактировать файл, то используйте оригинальный файл.
Файлы такого типа обычно разбиты на страницы, а текст может быть форматированным (жирный, курсив, выбор шрифта, таблицы и т.п.), а также в него можно добавлять изображения. Формат идеально подходит для рефератов, докладов и РПЗ курсовых проектов, которые необходимо распечатать. Кстати перед печатью также сохраняйте файл в PDF, так как принтер может начудить со шрифтами.















