165698 (767796)
Текст из файла
ВЛИЯНИЕ МЕХАНИЗМА ФОРМИРОВАНИЯ ПОЛИМЕРНО-МОНОМЕРНЫХ ЧАСТИЦ НА КИНЕТИЧЕСКИЕ ЗАКОНОМЕРНОСТИ ЭМУЛЬСИОННОЙ ПОЛИМЕРИЗАЦИИ АКРИЛОВЫХ МОНОМЕРОВ
Латексы па основе эфиров акриловой кислоты имеют многочисленные области применения в качестве клеящих и пропитывающих композиций для медицинской, текстильной, бумажной и др. отраслей промышленности.
Проведение эмульсионной полимеризации и сополимеризации акриловых мономеров на практике связано с затруднениями, вызываемыми низкой стабильностью эмульсионной системы и образованием коагулюма в конечном латексе.
Для повышения стабильности эмульсии в процессе синтеза латекса обычно пользуются различными приемами, которые иногда усложняют технологию процесса и понижают воспроизводимость результатов (например, дробное введение компонентов реакционной системы по ходу полимеризации — эмульгатора, мономера, инициатора). Для упрощения технологии получения латексов за счет единовременной загрузки всех компонентов реакционной системы при сохранении высокой стабильности эмульсии в ходе полимеризации необходимо установить механизм формирования полимерно-мономерных частиц (ПМЧ) и выяснить факторы, определяющие их число. В настоящее время единой точки зрения на механизм формирования ПМЧ при эмульсионной полимеризации не существует.
В литературе при рассмотрении механизма образования частиц при эмульсионной полимеризации принято [1] разделять мономеры на следующие группы: плохо растворимые в воде (стирол, изопрен и др.); мономеры, растворимость которых в воде составляет 1-3% (метилметакрилат и др.), и мономеры, хорошо растворимые в воде (например, нитрил акриловой кислоты и т. п.). Считают, что механизм образования ПМЧ зависит от степени растворимости мономера в воде.
При полимеризации плохо растворимых в воде мономеров большинство исследователей придерживается качественной схемы Харкинса и Юрженко [2, 3] об образовании ПМЧ из солюбилизированных мономером мицелл эмульгатора.
Эта схема была уточнена в работах [4, 5], в которых на основании изучения дисперсного состава эмульсий хлоропрена, стирола, изопрена и смесей изопрена со стиролом, а также дисперсий полимеров, полученных при разных копверсиях мономера в присутствии эмульгаторов различной природы было показано, что эмульсии гидрофобных мономеров содержат помимо макрокапель мономера и набухших в мономере мицелл эмульгатора микрокапли мономера, количество которых зависит от природы эмульгатора, а также способа эмульгирования мономера.
В определенных условиях капли микроэмульсии играют существенную роль при формировании ПМЧ. Эти исследования позволили найти пути управления механизмом формирования частиц, их размерами, распределением по размерам, ММ и ММР.
При полимеризации мономеров, относительно хорошо растворимых в воде, возможными местами образования ПМЧ принято считать истинный раствор мономера в иоде и набухшие в мономере мицеллы эмульгатора [61. Принимают, что при инициировании процесса персульфатом калия полимеризация начинается в водной фазе, образующийся олигомерный радикал дифилен и способен адсорбироваться на границе раздела фаз или внедряться в мицеллы эмульгатора, продолжая свой рост за счет солюбилизированного в мицеллах эмульгатора мономера. Другим путем образования ПМЧ считают выпадение растущих в водной фазе олигомерных радикалов в отдельную фазу при достижении такой степени полимеризации, при которой они становятся нерастворимыми в воде. Выпавшие в воду олигомерные радикалы образуют так называемые первичные частицы. Чем лучше растворим мономер в поде, тем больше образуется в воде растущих радикалов и соответственно большее число первичных частиц. Стабильность образующихся первичных частиц зависит от того, находятся ли на их поверхности заряженные стабилизирующие группы и присутствует или нет в системе эмульгатор.
Первичные частицы подвергаются интенсивной флоккуляции, которая и определяет конечный размер и распределение частиц по размерам. Причиной флоккуляции частиц считают быстрый расход эмульгатора в начале полимеризации вследствие образования большого числа частиц, сильно набухающих в своем мономере, рост которых приводит к исчерпыванию свободного эмульгатора в системе, а также пониженную адсорбцию эмульгатора на ПМЧ [7].
Однако все приведенные выше предположения о возможных местах формирования ПМЧ не базируются на данных дисперсного состава эмульсий мономеров, сравнительно хорошо растворимых в воде, в частности мономеров акрилового ряда, поскольку таковые в литературе отсутствуют. В то же время именно дисперсный состав эмульсии определяет механизм формирования частиц, и можно найти пути получения стабильных в процессе синтеза латексов заданной дисперсности.
Дисперсность эмульсий акриловых мономеров метилакрилата (МА), этилакрила-та (ЭА) и бутилакрилата (БА) исследовали с помощью гранулометра модели ТА фирмы «Культроникс», нефелометра типа «Софика», а также методом определения устойчивости эмульсий в поле центробежных сил. Скорость полимеризации изучали дилатометрическим методом. Размеры латексных частиц рассчитывали по микрофотографиям, полученным с помощью электронного микроскопа «Тесла-632». Эфи-ры акриловой кислоты очищали путем двойной перегонки по известным методикам [81.
Анализ полученных данных показал, что при перемешивании мономеров в воде при комнатной температуре в течение 20 мин при 600 об/мин в отсутствие эмульгатора образуются высокодисперсные неустойчивые эмульсии (рис. 1). Размер капель эмульсии МА и ЭА не превышает 15 мкм, максимальное количество капель имеет размер 3—5 мкм. Эмульсии БА имеют более широкое распределение капель по размерам (размеры изменяются в интервале 3—40 мкм).
Введение в систему ионогенного эмульгатора (алкилсульфоната натрия) Е-30 и неионного (цетилового спирта со степенью оксиэтилирования 30) Ц-30 практически не изменяет дисперсность макрокапель мономера в эмульсиях МА и ЭА; дисперсность бутилакрилатной эмульсии возрастает. Эти результаты согласуются с данными по изменению межфазного натяжения от концентрации эмульгатора, приведенными на рис. 2. Видно, что минимальное межфазное натяжение на границе водный раствор Е-30 (Ц-30) — мономеры практически одинаково, что, по-видимому, обусловливает мало различающуюся дисперсность эмульсий.
Кроме макрокапель все изученные эмульсии, согласно данным светорассеяния, содержат микрокапли мономера с диаметром 0,20—0,25 мкм. Образование микрокапель мономера было подтверждено также данными анализа дисперсности эмульсий, полученных в статических и динамических условиях. В статических условиях образование плотного белого слоя микроэмульсии наблюдали на можфазной границе акриловый мономе)) --водный раствор эмульгатора (соотношение мономер : водная фаза=1: 1 но объему, концентрация эмульгатора 4 вес.% в расчете на воду) при осторожном наслаивании мономера на водный раствор. Объем слоя микроэмульсии существенно больше в присутствии неионного эмульгатора.
В динамических условиях образование микроэмульсии и ее объем оценивали, определяя устойчивость эмульсий в поле центробежных сил но времени полного разрушения эмульсий, полученных в присутствии
Рис. 1. Гистограммы распределения капель эмульсий акриловых мономеров: 1 — бу-тилакрилат, 2 — этилакрилат, 3 - метилакрилат. а — без эмульгатора, б - Е-30, в -Ц-30
Рис. 2. Изотермы межфазного натяжения па границе водный раствор эмульгатора ■ моиомер: 1 — бутилакрилат, 2 — этилакрилат, 3 — метилакрилат. а - Е-30, б — Ц-30
Е-30 и Ц-30. Было показано, что время полного разрушения эмульсии ЭА, полученной в присутствии Е-30, составляет 13 мин, а Ц-30— 42 мин (в первом случае в системе присутствуют следы микроэмульсии, а во втором — объем микроэмульсии составляет 4 об.%).
Об образовании микроэмульсии свидетельствуют также данные по кинетике нарастания предельного напряжения сдвига межфазных адсорбционных слоев на границе мономер — водный раствор эмульгатора, определенные по методике [9]. Из данных, приведенных на рис. 3, видно, что через —100 мин после наслаивания фаз происходит увеличение прочности межфазных слоев на границе мономер — водный раствор эмульгатора, обусловленное образованием микроэмульсии, ее накоплением и структурированием.
Микроэмульгирование на межфазной границе наблюдается не только при высоких, но и при низких концентрациях мономера (ниже и равной предельной солюбилизации мономера в мицеллах эмульгатора). Средний
Рис. 3. Кинетика нарастания предельного напряжения сдвига межфазных слоев на границе водный раствор ПАВ — мономер для бутилакри-лата {1—3) и метилакрилата (4—6). 1, 4 — мономер : вода; 2, 5 - мономер: 4%-ный водный раствор Е-30; 3, 6 — мономер : 4% -ный водный раствор Ц-30
Рис. 4. Кинетика полимеризации метилакрилата (9 вес.%) в присутствии Ц-30 при условии предварительного выдерживания (1) и без предварительного выдерживания (2) размер капель микроэмульсии (определен методом светорассеяния) совпадает со средним размером стабилизированных эмульгатором Ц-30 и за-полимеризоваиных облучением капель микроэмульсии МА (найден по данным электронной микроскопии) и составляет 0,1—0,2 мкм.
Полученные результаты показывают, что дисперсность эмульсий акриловых мономеров существенно выше дисперсности эмульсий гидрофобных мономеров, например стирола. Эти эмульсии содержат макрокапли мономера с размерами <1 мкм и микрокапли мономера с размерами <0,2 мкм, которые наряду с мицеллами эмульгатора могут принимать участие в формировании ПМЧ.
Вклад микрокапель мономера в формирование ПМЧ хорошо виден при сравнении данных по кинетике эмульсионной полимеризации МА в присутствии эмульгатора Ц-30, полученных при проведении процесса в различных условиях. Эти исследования проводили при низкой концентрации мономера, равной величине предельной солюбилизации МА в мицеллах эмульгатора Ц-30. Величина предельной солюбилизации МА в мицеллах Ц-30, предварительно определенной рефрактометрическим методом, равна 9,9 мл мономера на 100 мл 4%-ного водного раствора Ц-30, а время полной солюбилизации мономера составляет при 20° 90 мин и при 40° 20 мин.
В первом случае систему выдерживали при перемешивании до полной солюбилизации мономера, добавляли инициатор и проводили процесс. Во втором случае, при прочих равных условиях, инициатор вводили сразу после смешения всех компонентов реакционной системы. Полученные результаты приведены на рис. 4.
Видно, что в первом случае (кривая 1) полимеризация начинается после индукционного периода, равного 20 мин, и протекает со скоростью 1,8%/мин; уменьшение скорости полимеризации наблюдается после конверсии 30%.
При инициировании полимеризации после смешения компонентов реакционной системы процесс протекает без индукционного периода с высокой стационарной скоростью до высокой конверсии мономера.
Другими словами, при проведении полимеризации МА в условиях, исключающих полную солюбилизацию мономера в мицеллах эмульгатора, в образовании ПМЧ принимают участие и микрокапли мономера; об-
Рис. 5. Распределение по размерам частиц ПМА-латекса, полученного с предварительным выдерживанием (1) и без выдерживания (2)
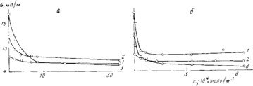
Рис. 6. Зависимость скорости полимеризации от концентрации метилакрилата и gрисутствии различных эмульгаторов: 1 -Е-30, 2 - Ц-30, 3 - С-10, 4 - сукцинол ДТ-2 1 щее число частиц возрастает, что приводит к повышению скорости полимеризации.
Участие микрокапель эмульсии в формировании ПМЧ подтверждается данными по распределению латексных частиц по размерам, полученных при проведении полимеризации по указанным выше способам. Как видно из рис. Г), распределение частиц по размерам значительно шире при проведении полимеризации сразу после смешения компонентов реакционной системы.
Типичные зависимости скорости полимеризации МА, ЭА и БА от концентрации мономера приведены па рис. 6.
1>Характеристики
Тип файла документ
Документы такого типа открываются такими программами, как Microsoft Office Word на компьютерах Windows, Apple Pages на компьютерах Mac, Open Office - бесплатная альтернатива на различных платформах, в том числе Linux. Наиболее простым и современным решением будут Google документы, так как открываются онлайн без скачивания прямо в браузере на любой платформе. Существуют российские качественные аналоги, например от Яндекса.
Будьте внимательны на мобильных устройствах, так как там используются упрощённый функционал даже в официальном приложении от Microsoft, поэтому для просмотра скачивайте PDF-версию. А если нужно редактировать файл, то используйте оригинальный файл.
Файлы такого типа обычно разбиты на страницы, а текст может быть форматированным (жирный, курсив, выбор шрифта, таблицы и т.п.), а также в него можно добавлять изображения. Формат идеально подходит для рефератов, докладов и РПЗ курсовых проектов, которые необходимо распечатать. Кстати перед печатью также сохраняйте файл в PDF, так как принтер может начудить со шрифтами.
















