109086 (765375)
Текст из файла
О движении перпендикулярного луча в эксперименте Майкельсона – Морли
Валерий Петров
Согласно современной теории относительности никакими экспериментами невозможно обнаружить абсолютное движение Земли. Однако в эксперименте Майкельсона – Морли имеет место движение интерферометра относительно центра Солнца. Так почему же такое относительное движение, вопреки теории относительности, не сопровождается никакими наблюдаемыми явлениями?
Исследование траектории движения перпендикулярного луча
Как известно, основной постулат своей теории относительности Эйнштейн изложил следующим образом:
«...не только в механике, но и в электродинамике никакие свойства явлений не соответствуют понятию абсолютного покоя... для всех координатных систем, для которых справедливы уравнения механики, справедливы те же электродинамические и оптические законы... Это предположение (содержание которого в дальнейшем будет называться «принципом относительности») мы намерены превратить в предпосылку...».
Очевидно, что понятие «абсолютный покой» есть нечто противоположное понятию «абсолютное движение». Тогда постулат Эйнштейна можно сформулировать следующим образом:
«...не только в механике, но и в электродинамике никакие свойства явлений не соответствуют понятию абсолютного движения...».
Во времена Эйнштейна, как и до сегодняшнего дня, под абсолютным движением понимают движение относительно эфира, который Эйнштейн «отменил» своей теорией относительности. Тогда приведенный выше постулат Эйнштейна нужно понимать как невозможность обнаружения движения относительно этого самого эфира. Ну, нельзя, так нельзя. Однако возникает вопрос, а какое именно отношение имеет данный постулат к известному эксперименту Майкельсона – Морли, в котором, как полагают, вопрос о движении Земли относительно эфира был поставлен в наиболее прямой форме. В действительности, однако, это не так: поскольку в данном эксперименте, безусловно, имеет место движение интерферометра относительно центра Солнца, и, следовательно, в наиболее прямой форме был поставлен вопрос именно о том, не сопровождается ли движение интерферометра относительно Солнца, т.е. относительное движение, какими-либо эффектами. Эксперимент подтверждает: не сопровождается. Тогда возникает вопрос, а почему нет, коль скоро появление каких-либо эффектов в результате относительного движения интерферометра не противоречит теории относительности Эйнштейна?
Возникает и еще один вопрос, связанный с движением перпендикулярного луча в этом эксперименте: почему именно этот луч отклоняется в направлении движения интерферометра, в результате чего он всегда попадает в одну и ту же точку на отражателе, независимо от положения интерферометра относительно направления орбитального движения Земли? Попробуем с этим разобраться.
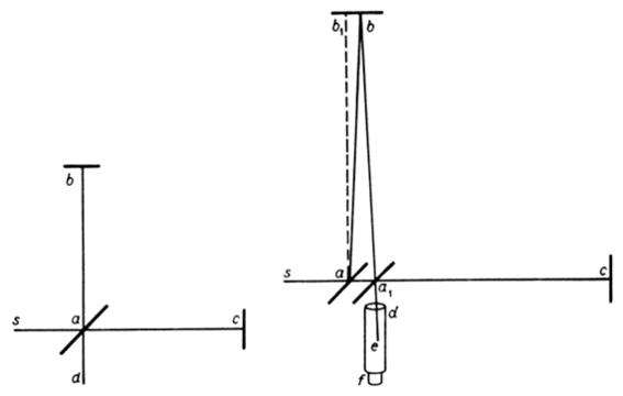
В работе в [1] было показано, что ход лучей в эксперименте Майкельсона – Морли можно рассматривать в двух системах координат, одна из которых связана с Землей (назовем ее движущейся), а другая – с Солнцем (назовем ее неподвижной), относительно которой интерферометр, установленный на Земле, движется с орбитальной скоростью. И хотя наблюдатель в данном эксперименте находится на Земле, сам Майкельсон, как это можно установить из его отчетов, рассматривает ход лучей в интерферометре с точки зрения неподвижного наблюдателя, относительно которого интерферометр движется с орбитальной скоростью Земли. Как же, по мнению Майкельсона движется перпендикулярный луч в его эксперименте? «Луч sa отражается по аb (рис. 1), причем угол bab1 равен углу аберрации α, возвращается по ba1 (aba1 = 2α) θ попадает в фокус зрительной трубы, направление которой не меняется» [2].
Рис. 1. Траектория движения перпендикулярного луча в эксперименте Майкельсона – Морли
Таким образом, по мнению Майкельсона, перпендикулярный луч отклоняется вслед за смещением интерферометра вследствие аберрации. В действительности, аберрация здесь совершенно не при чем! Как известно, это явление возникает в результате движения приемника света относительно источника. В эксперименте же Майкельсона приемник света и источник неподвижны относительно друг друга. Так почему же, в таком случае, перпендикулярный луч отклоняется вслед за смещением интерферометра, движущегося, напомним, относительно неподвижного наблюдателя?
Итак, предположим для начала, что строго вдоль меридиана Земли со скоростью, скажем, u, движется современный сверхзвуковой самолет. Как выглядит траектория движения этого самолета с точки зрения наблюдателя, неподвижного относительно Солнца? Как и в движущейся системе координат, самолет летит строго вдоль меридиана, но сам меридиан движется перпендикулярно движению самолета с орбитальной скоростью Земли v. В этом случае, согласно законам механики Галилея – Ньютона траектория движения самолета представляет собой гипотенузу прямоугольного треугольника со сторонами u и v, как это изображено на рис. 2:
Рис. 2. Треугольник скоростей и треугольник расстояний
За время t, в течение которого в движущейся системе координат самолет пролетит расстояние L между двумя точками a и b, лежащими на меридиане, в неподвижной системе за это же время самолет пролетит путь ab, равный √u2 + v2t. Как следует из треугольника расстояний, в неподвижной системе координат длина пути ab равна √L2 + (vt)2, откуда следует:
√L2 + (vt)2 = √u2 + v2t
L2 + v2t2 = u2t2 + v2t2
L = ut
t = L / u
Таким образом, время, в течение которого самолет пролетит путь L между точками a и b, лежащими на меридиане, оказывается одинаковым и равным t = L / u как в движущейся, так и в неподвижной системах координат.
Предположим, далее, что строго вдоль меридиана проложен линейный ускоритель элементарных частиц, в котором частицы движутся с некоторой скоростью u. Как и в предыдущем случае частицы движутся строго вдоль ускорителя, однако в неподвижной системе координат сам ускоритель смещается с орбитальной скоростью перпендикулярно направлению движению частиц. В этом случае, как было показано выше, траектория движения частиц представляет собой гипотенузу прямоугольного треугольника со сторонами u и v, как это изображено на рис. 1.
За время t, в течение которого в движущейся системе координат движущаяся в ускорителе частица пролетит расстояние L, в неподвижной системе за это же время та же частица пролетит путь ab, равный √u2 + v2t. Как следует из треугольника расстояний, в неподвижной системе координат длина пути ab равна √u2 + v2t, откуда следует:
t = L / u
Таким образом, время, в течение которого частица пролетит путь L в ускорителе, оказывается одинаковым и равным t = L / u как в движущейся, так и в неподвижной системах координат.
Предположим теперь, что строго вдоль меридиана проложен стеклянный стержень длиной L, внутри которого со скоростью u движутся световые импульсы, как это было в эксперименте Шамира и Фокса [3]. Как и в движущейся системе координат в неподвижной системе световые импульсы движутся строго вдоль стеклянного стержня, однако сам стеклянный стержень смещается с орбитальной скоростью перпендикулярно направлению движению световых импульсов. В этом случае, как было показано выше, траектория каждого из световых импульсов представляет собой гипотенузу прямоугольного треугольника со сторонами u и v, как это изображено на рис. 1.
За время t, в течение которого в движущейся системе координат движущийся в стержне импульс пролетит расстояние L, в неподвижной системе за это же время тот же импульс пролетит путь ab, равный √u2 + v2t. Как следует из треугольника расстояний, в неподвижной системе координат длина пути ab равна √L2 + (vt)2, откуда следует:
t = L / u
Таким образом, время, в течение которого импульс света пролетит путь L в стержне, оказывается одинаковым и равным t = L / u как в движущейся, так и в неподвижной системах координат.
Предположим, наконец, что световые лучи движутся в воздухе со скоростью c строго вдоль меридиана, как это было в эксперименте Майкельсона – Морли. Как показали результаты эксперимента, в движущейся системе координат перпендикулярные лучи движутся строго между точками a и b, одна из которых (a) лежит на полупрозрачном зеркале, а другая (b) – на отражателе. Очевидно, и в движущейся системе координат перпендикулярный луч света также должен двигаться между теми же двумя точками: a и b. Таким образом, наблюдается следующая картина: перпендикулярный луч света движется строго вдоль линии между двумя точками a и b, однако сама эта линия смещается относительно неподвижного наблюдателя со скоростью орбитального движения Земли. Тогда, если перпендикулярный луч действительно отклоняется в направлении орбитального движения Земли – а так оно и было на самом деле – то причиной такого отклонения, как и во всех рассмотренных выше случаях, является сложение скорости движения перпендикулярного луча с орбитальной скоростью Земли. В этом случае, согласно законам механики Галилея-Ньютона, траектория движения перпендикулярного луча света представляет собой гипотенузу прямоугольного треугольника со сторонами u и v, как это изображено на рис. 1 (в данном случае u = c). Тогда за время t, в течение которого в движущейся системе координат перпендикулярный луч пройдет расстояние L между точками a и b, в неподвижной системе за это же время тот же импульс пролетит путь ab, равный √c2 + v2t. Как следует из треугольника расстояний, в неподвижной системе координат длина пути ab равна √L2 + (vt)2, откуда следует:
t = L / с
Таким образом, время, в течение которого импульс света пролетит путь L, оказывается одинаковым и равным t = L / с как в движущейся, так и в неподвижной системе координат, что и подтверждают результаты эксперимента.
В эксперименте Шамира и Фокса отклонение перпендикулярного луча фактически обусловлено сложением скорости движения этого луча со скоростью движения среды – стеклянного стержня, в которой движется луч. Но это означает, вопреки общепринятому мнению, что эфир внутри стеклянного стержня полностью, а не по Френелю, увлекается движением этого стержня. Другими словами, эфир, находящийся между молекулами стекла, и сами эти молекулы представляют сплошную оптическую среду, движущуюся относительно той или иной системы координат как нечто единое целое.
Точно так же и в эксперименте Майкельсона – Морли: отклонение перпендикулярного луча фактически обусловлено сложением скорости движения этого луча со скоростью движения среды – атмосферы Земли, в которой распространяется луч в данном случае. Это означает, вопреки общепринятому мнению, что эфир внутри атмосферы Земли полностью, а не по Френелю, увлекается движением ее (атмосферы). Другими словами, эфир, находящийся между молекулами газов, входящих в состав атмосферы, и сами молекулы этих газов представляют сплошную оптическую среду, движущуюся относительно той или иной системы координат как нечто единое целое. Так как движеение интерферометра относительно этой среды отсутствует, результаты эксперимента будут нулевыми, что и происходит на самом деле.
Заключение
Таким образом, изложенные выше соображения позволяют заключить следующее:
Отклонение перпендикулярного луча вслед за смещением интерферометра, наблюдаемым в неподвижной системе координат, обусловлено сложением скорости движения перпендикулярного луча света со скоростью движения атмосферы, движущейся с орбитальной скоростью Земли.
В свою очередь, нулевой результат эксперимента Майкельсона – Морли обусловлен отсутствием движения интерферометра относительно той среды, в которой распространяются лучи света в данном эксперименте, т.е. атмосферы Земли, что является единственно правильным и непротиворечивым объяснением нулевого результата данного эксперимента. Следовательно, несмотря на нулевой результат, эксперимент Майкельсона – Морли является не подтверждением, а, напротив, полным опровержением и ТО Лоренца, и СТО Эйнштейна.
Список литературы
Петров В.В. Опыт Майкельсона – Морли и гипотеза Френеля. НиТ, 2001.
Albert A. Michelson, Edward W. Morley. On the Relative Motion of the Earth and the Luminiferous Ether. The American Journal of Science. III series. Vol. XXII, No. 128, p. 120...129 (имеется перевод данной статьи в книге «Эфирный ветер» под редакцией доктора технических наук В.А. Ацюковского. М. Энергоатомиздат, 1992).
Shamir J., Fox R. A new experimental test of special relativity. Nuov. Cim., 1969, 62B, p. 258...264.
Для подготовки данной работы были использованы материалы с сайта http://n-t.ru/
Характеристики
Тип файла документ
Документы такого типа открываются такими программами, как Microsoft Office Word на компьютерах Windows, Apple Pages на компьютерах Mac, Open Office - бесплатная альтернатива на различных платформах, в том числе Linux. Наиболее простым и современным решением будут Google документы, так как открываются онлайн без скачивания прямо в браузере на любой платформе. Существуют российские качественные аналоги, например от Яндекса.
Будьте внимательны на мобильных устройствах, так как там используются упрощённый функционал даже в официальном приложении от Microsoft, поэтому для просмотра скачивайте PDF-версию. А если нужно редактировать файл, то используйте оригинальный файл.
Файлы такого типа обычно разбиты на страницы, а текст может быть форматированным (жирный, курсив, выбор шрифта, таблицы и т.п.), а также в него можно добавлять изображения. Формат идеально подходит для рефератов, докладов и РПЗ курсовых проектов, которые необходимо распечатать. Кстати перед печатью также сохраняйте файл в PDF, так как принтер может начудить со шрифтами.
















