169831 (742593), страница 2
Текст из файла (страница 2)
Циклонная печь для сжигания сточных вод.
Печь для сжигания жидких, газообразных и твердых отходов.
Печь включает: огнеупорную цилиндрическую стенку печи 1, заключенную в кожух 2, в пространстве между которыми установлена камера подачи воздуха 3, выполненная в виде трубы, перфорированная поверхность 4 которой переходит в гофрированную 5, причем суммарная площадь отверстий перфорации составляет не менее 1,2 площади проходного сечения перфорированного трубопровода, а отношение длины гофрированной поверхности к длине перфорированной поверхности не менее 0,2. Трубопроводы для подачи сжигаемых отходов 6, основного 7 и дополнительного 8 воздуха расположены коаксиально относительно друг друга и соединены между собой радиальными пластинами 9, 10, 11, 12, равномерно распределенными по кругу. Трубопровод для дополнительной подачи воздуха 8 соединен с камерой подачи воздуха 3 через кольцевой конусообразный клапан 13 с регулируемым зазором 14, образованным внутренней стенкой трубопровода 8 и наружной стенкой кольцевого конусообразного клапана 13. На стенке кожуха печи 2 камера подачи воздуха 3 закреплена с помощью резьбовой муфты 15, на наружной поверхности которой установлен регулятор зазора 16 и имеется зазор 17, образованный торцами трубопроводов 6 для подачи отходов и 7 для подачи основной части воздуха. Печь для сжигания жидких, газообразных и твердых отходов работает следующим образом. В камеру подачи воздуха поступает воздух, причем часть потока с постоянным расходом проходит через перфорированную стенку кольцевого конусообразного клапана 13 и направляется к трубопроводу для подачи основного воздуха 7, при этом его площадь обеспечивает оптимальную и постоянную во времени скорость воздушного потока, необходимую для наилучшего диспергирования жидких отходов. В трубопровод для дополнительной подачи воздуха 8 через регулируемый зазор 14 поступает другая часть воздуха. Величина зазора изменяется с помощью регулятора зазора 16 и позволяет обеспечить дополнительную подачу воздуха на горение. Скорость подачи основного воздуха остается постоянной независимо от изменения подачи дополнительного воздуха на горение. Для регулирования положения фронта пламени возможно изменение зазора 17 путем осевого смещения трубы отходов 6. В результате такой организации подачи воздуха и отходов в камеру печи улучшается тепломассообмен, ускоряется процесс горения, что приводит к резкой интенсификации окисления продуктов неполного сгорания, и необходимость в дополнительной турбулизации и рециркуляции газового потока отпадает.
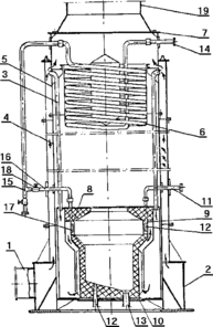
Конструктивная схема рекуперативной печи для сжигания сточных вод:
1 - входной воздушный патрубок; 2 - кольцевой канал; 3 - воздухонагревательные трубы; 4 - нижняя часть обечайки печи; 5 - верхняя часть обечайки печи; 6 - змеевиковый теплообменник; 7 - верхний фланец печи; 8,9 - воздушные сопла; 10 - камера сгорания; 11 - топливный патрубок; 12 - топливная форсунка; 13 - летка; 14 - входной патрубок в змеевиковый теплообменник; 15 - выходной патрубок из змеевикового теплообменника; 16 - продувочный патрубок; 17 - распыляющее устройство; 18 - регулировочный вентиль; 19 - патрубок для выхода дымовых газов.
3. Решение задачи по абсорбции
Условия задачи:
Рассчитать диаметр и высоту насадки абсорбера для улавливания из воздуха ацетона водой. Рассчитать также расход поглотителя в м3/ч, если расход газовой смеси в рабочих условиях 6000 (м3/ч) с концентрацией ацетона 8 (%, объемн.), степень улавливания составляет 90 (%). Концентрация ацетона в воде на входе в абсорбер Хн = 0, а на выходе составляет 71 % от максимально возможной в данных условиях, т.е. от равновесной с входящим газом. Уравнение линии равновесия имеет вид Y* = 1,68X, где Y[кмоль А/кмоль воздуха], X [кмоль А/кмоль В]. Скорость газа в абсорбере 1,1 (м/с), коэффициент массопередачи 0,3 [кмоль А/(м2чкмоль А/кмоль В)], коэффициент смачиваемости насадки φ = 0,88. В качестве насадки используются керамические кольца Рашига размером 25х25х3, давление в колонне 0,2 (МПа) и температура 20 оС. Дать принципиальную схему абсорбера и фазовую диаграмму Y-X.
Решение:
-
Приведём расход газовой смеси к нормальным условиям:
-
Определим количество (расход) паров ацетона в составе газовой смеси расчёте на 1 час:
Где VM – молярный объём газа, кмоль/м3.
-
Построение рабочей линии и линии равновесия.
Для построения рабочей линии процесса абсорбции необходимо определить координаты точек А и В, характеризующих состав газовой и водной фаз на входе и выходе из абсорбера.
а) Содержание паров ацетона во входящем воздухе (в отн. мольных долях) составляет:
б) Относительная мольная доля паров ацетона в газовой смеси на выходе из адсорбера:
в) Содержание ацетона в поглотителе-воде при входе в абсорбер по условию задачи составляет Хв=0.
г) Находим координату Хн.
По условию задачи координата Хн, т.е. концентрация ацетона в поглотителе на выходе из абсорбера составляет n = 71% от равновесной с входящим газом. Поэтому необходимо сначала найти равновесную со входящим газом концентрацию Х*.
Т.к. уравнение линии равновесия Y* =1,68·Х и при входе в абсорбер отн. мольная доля ацетона составляла Yн =
, то:
Следовательно,
Таким образом координаты точек А и В составляют:
А(0; 0,08695) и В(0,03674; 0,008695)
На основе полученных данных строим линию равновесия и рабочую линию процесса АВ, а также схему абсорбера для противоточной абсорбции:
Построение рабочей линии АВ и линии равновесия ОС:
Схема движения абсорбата и абсорбента в абсорбере:
-
Найдём среднюю движущую силу процесса по газовой фазе ∆Yср на входе в абсорбер и выходе из него:
Средняя движущая сила в абсорбере при прямой линии равновесия определяется по формуле:
-
Из уравнения массопередачи:
при условии, что Ку = Кх/1,68, рассчитаем площадь контакта фаз в адсорбере F, необходимую для обеспечения перехода требуемого количества газа в жидкую фазу.
Площадь контакта в абсорбере создаётся с помощью керамических колец Рашига. Для колец формата 25х25х3,удельная поверхность насадки δ = 204 м2/м3.
-
Рассчитаем габариты адсорбера:
Поскольку
F = Hн· S · δ · ψ,
где Hн – высота насадки колец Рашига;
S – площадь сечения абсорбера;
δ – удельная поверхность насадки ,
Ψ – коэффициент смачивания = 0.88,
то можно записать:
– объём насадки,
где Vн – объём слоя колец Рашига, необходимый для создания данной поверхности F при коэффициенте смачивания
Таким образом, объём насадки колец Рашига должен составить:
Далее находим площадь поперечного сечения абсорбера S:
где V0 – расход газовой смеси при н.у.,
w – линейная скорость газового потока (м/с).
Для цилиндрического абсорбера площадь сечения определяется из площади круга:
Откуда определяем диаметр абсорбера:
- нормальные ряды колонных аппаратов, мм = 1400
и высоту насадки абсорбера Нн:
-
Требуемый для проведения процесса расход поглотителя–воды определяем из уравнения:
(кмоль В/кмоль А)
отсюда следует:
где Мац. - расход поглощаемого компонента ; М(ацетона)=
кмоль/ч; Мв = 18 кг/кмоль (Н2О) Xн=0,03674 – конечная концентрация ацетона в воде на выходе из абсорбера (отн.мольн.доли – кмоль А/кмоль В).
Поэтому расход воды L составит:
Выводы: для проведения процесса абсорбции необходимо использовать насадку с диаметром D=
м и высотой Нн=
м, при этом расход поглотителя-воды составит
м3/час.
Заключение
Загрязнение окружающей среды является серьезной проблемой для всех стран мира. По мере роста народонаселения и масштабов производства экологические последствия становятся все более серьезными и распространенными, а нетронутые природные пространства непрерывно сокращаются. Стало ясно, что снижение качества окружающей среды уже нельзя считать приемлемым компромиссом.
Дальнейшее развитие инженерной защиты окружающей среды находится в направлении совершенствования основных технологий производства и минимизации их воздействия на окружающую среду, что потребует дальнейшего развития и повышения качества технических природоохранных методов и средств. Это, в свою очередь, ставит задачи углубления теоретических основ техники и технологии защиты окружающей среды.
По мере развития техники и совершенствования технологических процессов появляются новые виды веществ, выбрасываемых в атмосферу. В то же время происходит модернизация существующего и разработка новых видов технологического оборудования, в котором осуществлена полная герметизация, автоматизация, дистанционное управление. Внедряется безотходная технология, при которой исключаются выбросы в атмосферу, возникают новые методы очистки воздуха от вредных газов и паров, разрабатывается и применяется новое технологическое оборудование, в состав которого входят встроенные агрегаты для удаления и обезвреживания вредных веществ. Все это вселяет надежду, что недалеко то время, когда практически все технологические процессы станут безотходными и выброс вредных веществ в атмосферный воздух практически прекратится.
Решение проблемы очистки сточных вод от различных загрязнений требует специальных знаний различных дисциплин, в первую очередь, химической технологии. Мы должны знать основные методы обезвреживания наиболее распространенных загрязнений, их технико-экономические показатели, реальные возможности и перспективы в данной области.
При очистке приходится решать одновременно ряд проблем, связанных с многокомпонентностью очищаемых сред, и их необходимо подвергать различным методам очистки, расход выбросов по времени непостоянен, изменяется концентрация в них различных вредных веществ и т. д. Все это, конечно, осложняет очистку, требует принятия в каждом отдельном случае соответствующих решений.
Проблемы, возникающие при разработке и проектировании очистных систем, тесно связаны и со всеобщими законами (цикличность, безотходность и др.), и с конкретными закономерностями природных технологий. Вклад каждой из них в результирующее действие зависит от большого числа факторов, связанных с параметрами загрязнений, среды, конструктивными особенностями аппаратов. Многие из факторов взаимосвязаны, а результирующие зависимости имеют настолько сложный характер, что не всегда удается найти логическое объяснение полученным результатам. Поэтому даже в расчетах простейших очистных устройств приходится основываться на экспериментальные данные и производственный опыт.















