PDA-0614 (741297), страница 3
Текст из файла (страница 3)
Некоторые формулы для расчета абсорбционных и хемосорбционных процессов приведены в гл. 4. Показатели абсорбционной очистки: степень очистки (КПД) и коэффициент массопередачи k зависят от растворимости газа в абсорбенте, технологического режима в реакторе (w, Т, р) и от других факторов, например от равновесия и скорости химических реакций при хемосорбции. В хемосорбционных процессах, где в жидкой фазе происходят химические реакции, коэффициент массопередачи увеличивается по сравнению с физической абсорбцией. Большинство хемосорбционных процессов газоочистки обратимы, т. е. при повышении температуры поглотительного раствора химические соединения, образовавшиеся при хемосорбции, разлагаются с регенерацией активных компонентов поглотительного раствора и с десорбцией поглощенной из газа примеси. Этот прием положен в основу регенерации хемосорбентов в циклических системах газоочистки. Хемосорбция в особенности применима для тонкой очистки газов при сравнительно небольшой начальной концентрации примесей.
Рис. 4. Схема установки для абсорбционно-десорбционного метода разделения газов:
1 — абсорбер;
2 — десорбер;
3 — теплообменник;
4 — холодильник
Абсорбенты, применяемые в промышленности, оцениваются по следующим показателям: 1) абсорбционная емкость, т. е. растворимость извлекаемого компонента в поглотителе в зависимости от температуры и давления; 2) селективность, характеризуемая соотношением растворимостей разделяемых газов и скоростей их абсорбции; 3) минимальное давление паров во избежание загрязнения очищаемого газа парами абсорбента; 4) дешевизна; 5) отсутствие коррозирующего действия на аппаратуру. В качестве абсорбентов применяют воду, растворы аммиака, едких и карбонатных щелочей, солей марганца, этаноламины, масла, суспензии гидроксида кальция, оксидов марганца и магния, сульфат магния и др.
Очистная аппаратура аналогична уже рассмотренной аппаратуре мокрого улавливания аэрозолей. Наиболее распространен насадочный скруббер, применяемый для очистки газов от диоксида серы, сероводорода, хлороводорода, хлора, оксида и диоксида углерода, фенолов и т. д. В насадочных скрубберах скорость массообменных процессов мала из-за малоинтенсивного гидродинамического режима этих реакторов, работающих при скорости газа г = 0,020,7 м/с. Объемы аппаратов поэтому велики и установки громоздки.
Для очистки выбросов от газообразных и парообразных примесей применяют и интенсивную массообменную аппаратуру — пенные аппараты, безнасадочный форсуночный абсорбер, скруббер Вентури, работающие при более высоких скоростях газа. Пенные абсорберы работают при г = 14 м/с и обеспечивают сравнительно высокую скорость абсорбционно-десорбционных процессов; их габариты в несколько раз меньше, чем насадочных скрубберов. При достаточном числе ступеней очистки (многополочный пенный аппарат) достигаются высокие показатели глубины очистки: для некоторых процессов до 99,9%. Особенно перспективны для очистки газов от аэрозолей и вредных газообразных примесей пенные аппараты со стабилизатором пенного слоя. Они сравнительно просты по конструкции и работают в режиме высокой турбулентности при линейной скорости газа до 4-5 м/с.
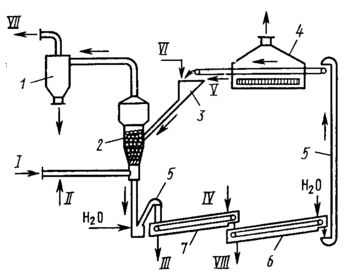
Рис. 5. Схема абсорбционной очистки газов от СО2 с получением товарного диоксида углерода:
1 — холодильник;
2 — воздуходувка;
3 — пенный абсорбер;
4 — насос;
5 — теплообменник;
6 — пенный десорбер;
7 — кипятильник десорбера;
I — газ на очистку;
II — вода;
III — очищенный газ;
IV — диоксид углерода потребителю;
V — пар
римером безотходной абсорбционно-десорбционной циклической схемы может служить поглощение диоксида углерода из отходящих газов растворами моноэтаноламина с последующей регенерацией поглотителя при десорбции СОа. На рис. 5 приведена схема абсорции СО2 в пенных абсорберах; десорбция СО2 проводится также при пенном режиме. Установка безотходна, так как чистый диоксид углерода после сжижения передается потребителю в виде товарного продукта.Абсорбционные методы характеризуются непрерывностью и универсальностью процесса, экономичностью и возможностью извлечения больших количеств примесей из газов. Недостаток этого метода в том, что насадочные скрубберы, барботажные и даже пенные аппараты обеспечивают достаточно высокую степень извлечения вредных примесей (до ПДК) и полную регенерацию поглотителей только при большом числе ступеней очистки. Поэтому технологические схемы мокрой очистки, как правило, сложны, многоступенчаты и очистные реакторы (особенно скрубберы) имеют большие объемы.
Любой процесс мокрой абсорбционной очистки выхлопных газов от газо- и парообразных примесей целесообразен только в случае его цикличности и безотходности. Но и циклические системы мокрой очистки конкурентоспособны только тогда, когда они совмещены с пылеочисткой и охлаждением газа.
Адсорбционные методы применяют для различных технологических целей — разделение парогазовых смесей на компоненты с выделением фракций, осушка газов и для санитарной очистки газовых выхлопов. В последнее время адсорбционные методы выходят на первый план как надежное средство защиты атмосферы от токсичных газообразных веществ, обеспечивающее возможность концентрирования и утилизации этих веществ.
Адсорбционные методы основаны на избирательном извлечении из парогазовой смеси определенных компонентов при помощи адсорбентов — твердых высокопористых материалов, обладающих развитой удельной поверхностью Sуд (Sуд — отношение поверхности к массе, м2/г). Промышленные адсорбенты, чаще всего применяемые в газоочистке, — это активированный уголь, силикагель, алюмогель, природные и синтетические цеолиты (молекулярные сита). Основные требования к промышленным сорбентам — высокая поглотительная способность, избирательность действия (селективность), термическая устойчивость, длительная служба без изменения структуры и свойств поверхности, возможность легкой регенерации. Чаще всего для санитарной очистки газов применяют активный уголь благодаря его высокой поглотительной способности и легкости регенерации.
Адсорбцию газовых примесей обычно ведут в полочных реакторах периодического действия без теплообменных устройств; адсорбент расположен на полках реактора. Когда необходим теплообмен (например, требуется получить при регенерации десорбат в концентрированном виде), используют адсорберы с встроенными теплообменными элементами или выполняют реактор в виде трубчатых теплообменников; адсорбент засыпан в трубки, а в межтрубном пространстве циркулирует теплоноситель.
Очищаемый газ проходит адсорбер со скоростью 0,05–0,3 м/с. После очистки адсорбер переключается на регенерацию. Адсорбционная установка, состоящая из нескольких реакторов, работает в целом непрерывно, так как одновременно одни реакторы находятся на стадии очистки, а другие — на стадиях регенерации, охлаждения и др. (рис. 6). Регенерацию проводят нагреванием, например выжиганием органических веществ, пропусканием острого или перегретого пара, воздуха, инертного газа (азота). Иногда адсорбент, потерявший активность (экранированный пылью, смолой), полностью заменяют.
Наиболее перспективны непрерывные циклические процессы адсорбционной очистки газов в реакторах с движущимся или взвешенным слоем адсорбента, которые характеризуются высокими скоростями газового потока (на порядок выше, чем в периодических реакторах), высокой производительностью по газу и интенсивностью работы (см. рис. 7).
О
бщие достоинства адсорбционных методов очистки газов:
-
глубокая очистка газов от токсичных примесей;
-
сравнительная легкость регенерации этих примесей с превращением их в товарный продукт или возвратом в производство; таким образом осуществляется принцип безотходной технологии.
Адсорбционный метод особенно рационален для удаления токсических примесей (органических соединений, паров ртути и др.), содержащихся в малых концентрациях, т. е. как завершающий этап санитарной очистки отходящих газов.
Недостатки большинства адсорбционных установок — периодичность процесса и связанная с этим малая интенсивность реакторов, высокая стоимость периодической регенерации адсорбентов. Применение непрерывных способов очистки в движущемся и кипящем слое адсорбента частично устраняет эти недостатки, но требует высокопрочных промышленных сорбентов, разработка которых для большинства процессов еще не завершена.
К
Рис. 6. Схема адсорбционной газоочистной установки:
/ — фильтр;
2, 3 — адсорберы;
4 — конденсатор;
5 — сепаратор;
/ — очищаемый газ;
// — очищенный газ;
///—водяной пар;
IV — неконденсируе.уые пары;
V—сконденсированный адсорбтив в хранилище;
VI — водный конденсат
аталитические методы очистки газов основаны на реакциях в присутствии твердых катализаторов, т. е. на закономерностях гетерогенного катализа (см. гл. 5). В результате каталитических реакций примеси, находящиеся в газе, превращаются в другие соединения, т. е. в отличие от рассмотренных методов примеси не извлекаются из газа, а трансформируются в безвредные соединения, присутствий: которых допустимо в выхлопном газе, либо в соединения, легко удаляемые из газового потока. Если образовавшиеся вещества подлежат удалению, то требуются дополнительные операции (например, извлечение жидкими или твердыми сорбентами). Т
рудно провести границу между адсорбционными и каталитическими методами газоочистки, так как такие традиционные адсорбенты, как активированный уголь, цеолиты, служат активными катализаторами для многих химических реакций. Очистку газов на адсорбентах–катализаторах называют адсорбционно-каталитической. Этот прием очистки выхлопных газов весьма перспективен ввиду высокой эффективности очистки от примесей и возможности очищать большие объемы газов, содержащих малые доли примесей (например, 0,1—0,2 в объемных долях SO2). Но методы утилизации соединений, полученных при катализе, иные, чем в адсорбционных процессах.
Рис. 7. Катионитовый фильтр:
1 – катионит;
2 – песок
Адсорбционно-каталитические методы применяют для очистки промышленных выбросов от диоксида серы, сероводорода и серо-органических соединений. Катализатором окисления диоксида серы в триоксид и сероводорода в серу служат модифицированный добавками активированный уголь и другие углеродные сорбенты. В присутствии паров воды на поверхности угля в результате окисления SO2 образуется серная кислота, концентрация которой в адсорбенте составляет в зависимости от количества водяного пара при регенерации угля от 15 до 70%.
Схема каталитического окисления H2S во взвешенном слое высокопрочного активного угля приведена на рис. 8. Окисление H2S происходит по реакции
H2S + 1/2 О2 = Н2О + S
Рис. 8. Схема каталитической очистки газа от сероводорода во взвешенном слое активного угля:
1 – циклон-пылеуловитель;
2 – реактор со взвешенным слоем;
3 – бункер с питателем;
4 – сушильная камера;
















