166732 (740414)
Текст из файла
Размещено на http://www.allbest.ru/
Западноказахстанский аграрно-технический университет
имени Жангир хана
Кафедра химии и химической технологии
Реферат
Тема:
Фильтpoвaниe жидкиx нeоднoрoдных cиcтeм
Уральск 2011
Содержание
1. Фильтрование
2. Фильтрование суспензий
3. Фильтры и фильтрующие центрифуги
1. Фильтрование
Фильтрование применяют в промышленности для тонкого разделения жидких или газовых гетерогенных систем. С его помощью можно добиться значительно более полной, чем в процессах осаждения, очистки жидкости или газа от взвешенных частиц и, соответственно, более высокого выхода продукта (если им является твердая фаза суспензии).
В процессе фильтрования твердые частицы либо задерживаются на поверхности фильтровальной перегородки, образуя осадок, либо проникают в ее глубину, задерживаясь в порах. В соответствии с этим различают фильтрование с образованием осадка и фильтрование с закупориванием пор. Иногда их совмещают (применяя фильтрование с образованием осадка и закупориванием пор).
Движущей силой процесса фильтрования является разность давлений до и после фильтра. Если эта разность создается с помощью насоса, компрессора или вакуум-насоса, то происходит фильтрование под действием перепада давления, если с помощью центробежных сил - центробежное фильтрование (центрифугирование).
2. Фильтрование суспензий
В простейшем случае фильтр представляет собой сосуд, корпус которого разделен на две части фильтровальной перегородкой. Суспензию помещают в верхнюю часть сосуда таким образом, чтобы она в течение всего процесса фильтрования соприкасалась с фильтровальной перегородкой. В разделенных частях сосуда создают разность давлений
Др = p1 — p2
под действием которой жидкость проходит через поры фильтровальной перегородки, образуя фильтрат. Твердые частицы задерживаются на поверхности перегородки, формируют осадок. Этот процесс является примером фильтрования с образованием осадка. Он предпочтительнее фильтрования с закупориванием пор, так как в последнем случае сильно осложняется или становится вообще невозможной регенерация фильтровальной перегородки.
Разность давлений по обе стороны фильтровальной перегородки создают разными способами, соответственно и фильтрование проходит при различных условиях.
Если пространство над суспензией сообщают с источником сжатого газа или пространство под фильтровальной перегородкой присоединяют к источнику вакуума, происходит фильтрование при постоянной разности давлений. При этом скорость фильтрования уменьшается вследствие повышения гидравлического сопротивления слоя осадка возрастающей толщины.
Если суспензию подают на фильтр поршневым насосом, производительность которого практически не зависит от напора, фильтрование осуществляется при постоянной скорости. Разность давлений при этом увеличивается по мере роста сопротивления осадка.
3. Фильтры и фильтрующие центрифуги
По режиму работы различают фильтры периодического и непрерывного действия; оба типа широко применяют в промышленности для процессов фильтрования с образованием осадка. Для фильтрования с закупориванием пор используют только фильтры периодического действия.
На фильтрах непрерывного действия осуществляют режим фильтрования при постоянной разности давлений (в случае промывки осадка - одновременно и при постоянной скорости). На фильтрах периодического действия осуществляют любой режим фильтрования.
По способу создания разности давлений различают вакуум-фильтры и фильтры, работающие под давлением. Последние наиболее целесообразно использовать, когда осадок малосжимаем, но обладает высоким гидравлическим сопротивлением. В других случаях вакуум-фильтры предпочтительнее, поскольку проще по конструкции.
По взаимному направлению силы тяжести и движения фильтрата различают фильтры с совпадающими, противоположными и перпендикулярными направлениями.
Нутч-фильтры. Нутч представляет собой простейший фильтр периодического действия, работающий под вакуумом или под избыточным давлением. Направления силы тяжести и движения фильтрата в нем совпадают. К достоинствам конструкции, помимо перечисленных выше для открытого нутча, добавляются большая движущая сила и пригодность для разделения суспензий, выделяющих токсичные пары. К недостаткам относятся ручная выгрузка осадка, громоздкость. По этим причинам нутчи используют в основном в производствах малой мощности. Нутч небольшого размера применяют в лабораторных исследованиях.
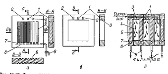
Рис. 1. Открытый нутч-фильтр
1-корпус; 2-суспензия; 3 - фильтровальная перегородка; 4—пористая подложка; 5 - штуцер для выхода фильтрата, соединенный с вакуум-насосом
На рис.1 изображен нутч-фильтр, работающий под вакуумом. Он представляет собой открытый резервуар 1, над дном которого расположена пористая подложка (ложное дно) 4, поддерживающая фильтровальную перегородку 3. Суспензию 2 загружают сверху, затем в пространстве под ложным дном создают вакуум (соединяя его с вакуум-насосом), вследствие чего жидкая фаза проходит в виде фильтрата через фильтровальную перегородку З и удаляется из нутча через штуцер внизу. Твердая фаза суспензии образует осадок на фильтровальной перегородке. После этого в случае необходимости нутч заполняют промывной жидкостью и проводят отмывку осадка от фильтрата. По окончании процесса фильтрования нутч некоторое время остается под вакуумом, что позволяет уменьшить влажность осадка. Затем осадок удаляют из фильтра сверху вручную.
Основными достоинствами вакуумных нутч-фильтров являются простота и надежность в работе, возможность тщательной промывки осадка. К недостаткам относятся громоздкость, ручная выгрузка осадка, негерметичность. Кроме того, для них, как и для других вакуум-фильтров (которые будут рассмотрены ниже), характерна невысокая движущая сила (на практике Ар не более 75 кПа).
На рис.2. изображен закрытый нутч-фильтр, работающий под давлением (до 0,3 МПа). Нутч состоит из корпуса 1 с рубашкой 2, съемной крышки 8 и перемещающегося дна 4. На опорной решетке б располагается фильтровальная перегородка 5. Иногда в качестве перегородки применяют слой волокон. В этом случае необходимо использовать защитную сетку 7. Над фильтровальной перегородкой располагают кольцевую перегородку 3, поддерживающую осадок во время его выгрузки. При этом дно 4 опускается и поворачивается на такой угол, чтобы осадок было удобно снимать вручную с фильтровальной перегородки. Нутч снабжен штуцерами 9, 10 и 11 соответственно для подачи суспензии и сжатого воздуха и для удаления фильтрата. для того чтобы давление в аппарате не превысило допустимого, он снабжен предохранительным клапаном 12. В рубашку 2 обычно подают насыщенный водяной пар для повышения температуры фильтрования, что обеспечивает снижение вязкости фильтрата и соответствующее увеличение производительности.
Цикл работы на нутче обычно состоит из следующих стадий: заполнение нутча суспензией, собственно фильтрование под давлением сжатого газа, подсушка осадка, заполнение нутча промывной жидкостью, промывка осадка, его сушка, удаление с фильтровальной перегородки, регенерация последней.
К достоинствам конструкции, помимо перечисленных выше для открытого нутча, добавляются большая движущая сила и пригодность для разделения суспензий, выделяющих токсичные пары. К недостаткам относятся ручная выгрузка осадка, громоздкость. По этим причинам нутчи используют в основном в производствах малой мощности. Нутч небольшого размера применяют в лабораторных исследованиях.
Рис. 2. Закрытый нутч-фильтр:
1- корпус; 2 - обогревающая рубашка; 3- кольцевая перегородка; 4 - откидывающееся дно; 5-фильтровальная перегородка; 6-опорная решетка; 7-сетка; 8-съемная крышка; 9-предохранительный клапан
Фильтр-прессы. Они относятся к фильтрам периодического действия, работающим под давлением. Направления сил тяжести и движения фильтрата в них перпендикулярны.
Рис.3. Фильтр-пресс:
а- плита; б рама; в - сборка, 1-отверстия в плитах и рамах, образующие при сборке канал для подачи суспензии, 2 отверстия в плитах и рамах, образующие канал для подачи промывной жидкости, 3- отводы для прохода суспензии внутрь рам; 4-внутренние пространства рам; 5-фильтровальные перегородки; б- рифления плит, 7- каналы в плитах для выхода фильтрата на стадии фильтрования или промывной жидкости - на стадии промывки осадка, 8 -центральные каналы в плитах для сбора фильтрата или промывной жидкости; 9 -краны на линиях вывода фильтрата или промывной жидкости
фильтрование гетерогенный центрифуга суспензия
Одна из распространенных конструкций фильтр-пресса схематически изображена на рис.3. Фильтр представляет собой сборку из чередующихся плит и рам, что существенно увеличивает рабочую поверхность фильтрующей перегородки. Плиты имеют вертикальные рифления 6, предотвращающие приавтпание фильтровальной ткани к плитам и обеспечивающие дренаж фильтрата. Полая рама фильтр-пресса помещается между двумя плитами, образуя камеру 4 для осадка. Отверстия 1 и 2 в плитах и рамах совпадают, образуя каналы для прохода соответственно суспензии и промывной воды. Между плитами и рамами помешают фильтровальные перегородки («салфетки») 5. Отверстия в салфетках также совпадают с отверстиями в плитах. Сжатие плит и рам производится посредством винтового или гидравлического зажимов.
На стадии фильтрования суспензия по каналу 1 и отводам З поступает в полое пространство (камеру) 4 внутри рам. Жидкость проходит через фильтровальные перегородки 5, по желобкам рифлений б движется к каналам 7 и далее в каналы 8. Отсюда фильтрат выводится через краны 9, открытые на стадии фильтрования.
После заполнения пространства (камеры) 4 осадком подачу суспензии прекращают. Затем начинается стадия промывки осадка. Промывная жидкость проходит по каналам 2, омывает осадок и фильтровальные перегородки и выводится через краны 9. По окончании промывки осадок обычно продувают сжатым воздухом для удаления остатков промывной жидкости. После этого плиты и рамы раздвигают, и осадок частично падает под действием силы тяжести в сборник, установленный под фильтром. Оставшуюся часть осадка выгружают вручную.
К достоинствам фильтр-прессов относятся большая удельная поверхность фильтрования, возможность проведения процесса при высоких давлениях (до 1,5 М Па), простота конструкции, отсутствие частей, движущихся в процессе эксплуатации, возможность отключения отдельных неисправных плит закрытием выходного крана.
Недостатками являются ручное обслуживание, невозможность полной промывки осадка, быстрый износ фильтровальных салфеток из-за частой разборки фильтра и работы его при повышенных давлениях.
Среди фильтров непрерывного действия наиболее распространены барабанные вакуум-фильтры. Схема такого фильтра представлена на рис.4. Фильтр имеет вращающийся цилиндрический перфорированный барабан 1, покрытый металлической волнистой сеткой 2, на которой располагается тканевая фильтрующая перегородка 3. Барабан на 30—40% своей поверхности погружен в суспензию. Поскольку в данном фильтре направление осаждения твердых частиц противоположно направлению движения фильтрата, в корыте 6 для суспензии установлена качающаяся мешалка 7, поддерживающая ее однородность.
Рис.4. Барабанный вакуум-фильтр:
1 - перфорированный барабан, 2 - волнистая сетка; З - фильтровальная перегородка; 4 - осадок; 5 - нож для съема осадка, б - корыто для суспензии; 7 - касающаяся мешалка; 8 - устройство для подвода промывной жидкости; 9 - камеры (ячейки) барабана;10 - соединительные трубки; 11 - вращающаяся чаегь распределительной головки; 12 - неподвижная часть распределительной головки; I - зона фильтрования и отсоса фильтрата; II – зона промывки осадка и отсоса промывных вод; III - зона съема осадка; IV - зона очистки фильтровальной ткани
Барабан разделен радиальными перегородками на ряд изолированных друг от друга ячеек (камер) 9. Каждая камера соединяется трубой 10 с различными полостями неподвижной части 12 распределительной головки. Трубы объединяются во вращающуюся часть 11 распределительной головки. Благодаря этому при вращении барабана 1 камеры 9 в определенной последовательности присоединяются к источникам вакуума и сжатого воздуха. В результате при полном обороте барабана каждая камера проходит несколько зон, в которых осуществляются процессы фильтрования, промывки осадка и другие.
Зона 1 — фильтрования и отсоса фильтрата. Здесь камера соприкасается с суспензией. В это время камера соединена с источником вакуума. Под действием вакуума фильтрат проходит через фильтровальную ткань, сетку и перфорацию барабана внутрь камеры и через трубу выводится из аппарата. На наружной поверхности барабана, покрытой фильтровальной тканью, образуется осадок 4.
Зона II — промывки осадка и отсоса промывных вод. Здесь камера, вышедшая из корыта с суспензией, также сообщена с источником вакуума, а на осадок с помощью устройства 8 подается промывная жидкость. Она проходит через осадок и по трубе выводится из аппарата.
Зона III — съема осадка. Попав в эту зону, осадок сначала подсушивается вакуумом, а затем камера соединяется с источником сжатого воздуха. Воздух не только сушит, но и разрыхляет осадок, что облегчает его последующее удаление. При подходе камеры с просушенным осадком к ножу 5 подача сжатого воздуха прекращается. Осадок падает с поверхности ткани под действием силы тяжести. Нож служит в основном направляющей плоскостью для слоя осадка, отделяющегося от ткани.
Характеристики
Тип файла документ
Документы такого типа открываются такими программами, как Microsoft Office Word на компьютерах Windows, Apple Pages на компьютерах Mac, Open Office - бесплатная альтернатива на различных платформах, в том числе Linux. Наиболее простым и современным решением будут Google документы, так как открываются онлайн без скачивания прямо в браузере на любой платформе. Существуют российские качественные аналоги, например от Яндекса.
Будьте внимательны на мобильных устройствах, так как там используются упрощённый функционал даже в официальном приложении от Microsoft, поэтому для просмотра скачивайте PDF-версию. А если нужно редактировать файл, то используйте оригинальный файл.
Файлы такого типа обычно разбиты на страницы, а текст может быть форматированным (жирный, курсив, выбор шрифта, таблицы и т.п.), а также в него можно добавлять изображения. Формат идеально подходит для рефератов, докладов и РПЗ курсовых проектов, которые необходимо распечатать. Кстати перед печатью также сохраняйте файл в PDF, так как принтер может начудить со шрифтами.
















