kursovik (739514)
Текст из файла
Применение экспресс-анализаторов АН-7560,
АН-7529 и АС-7932 в аналитической химии.
Содержание.
Наименование раздела Стр
Введение.
I. Экспресс-анализаторы АН-7560 и АН-7529.
1. Описание.
2. Работа анализаторов.
3. Конструкция.
3.1. Измерительный блок.
3.2. Датчик.
4. Газовый тракт.
5. Указания по мерам безопасности при работе с анализатором.
6. Настройка анализатора.
7. Порядок работы анализатора.
7.1. Общие указания.
7.2. Проведение анализов.
8. Техническое обслуживание анализаторов.
II. Экспресс-анализатор АС-7932.
2. Описание.
2.1. Принцип действия анализатора.
2.1.1. Измерительный блок.
2.1.2. Датчик.
2.1.3. Электродная система
2.1.4. Газовый тракт.
3. Проверка и корректировка режимов работы анализатора.
3.1. Установка рабочей точки.
3.2. Регулировка "холостого счета".
3.3. Градуировка анализатора.
4. Техническое обслуживание анализатора.
III. Кулонометрический метод анализа.
IV. МВИ определение углерода в сырье.
V. МВИ определение серы в сырье.
Введение.
Аналитическая химия – наука прикладная и экспериментальная. Задачей аналитической химии определение содержания тех или иных веществ в исследуемой системе наиболее быстрыми, точными и рациональными методами.
Особенно интенсивное развитие физико-химических методов анализа и расширение областей применения их происходят в последнее время. Это связанно не только с особой сложностью задач, стоящих сейчас перед аналитической химией, но и с теми возможностями, которые для этого предоставляет современное приборостроение, электроника и автоматика. Принципиально каждое из свойств системы может быть использовано для её исследования и определения состава, если будет найден надёжный способ его измерения и сопоставления с химическими изменениями в системе. Это предопределяет дальнейшее развитие физико-химических методов анализа, появления всё новых и новых методов и их модификаций.
I. Экспресс-анализаторы АН-7560 и АН-7529.
1. Описание.
Анализаторы предназначены для экспрессного определения содержания углерода в стали и сплавах методом автоматического кулонометрического титрования по величине рН. Используются в химических лабораториях предприятий металлургической промышленности и других отраслях народного хозяйства, а также в лабораториях научно-исследовательских учреждений.
Рис. 1. Экспресс-анализаторы типов АН-7529 и АН-7560 на углерод.
Анализаторы рассчитаны на непрерывную круглосуточную эксплуатацию в условиях заводских лабораторий при температуре окружающего воздуха от 10 до 35°С, относительной влажности до 80%и соответствуют требованиям, предъявляемым к приборам группы 2 ГОСТ 22261-76.
Диапазоны измеряемых массовых долей углерода:
-АН-7529 от 0,03 до 4,00%;
-АН-7560 от 0,001 до 0,1%.
Сходимость показаний анализаторов, определяемая как средне квадратическое отклонение результатов анализа, для сталей с массовыми долями углерода до 1,5%не превышает значений, вычисляемых по формулам:
-для АН-7529 δ=±(0,005N +0,0025);
-для АН-7560 δ=±(0,005N +0,0005);
где δ-сходимость показаний анализаторов,%С;
N-среднее арифметическое значение показаний анализатора, полученное на n пробах (n≥10) одного и тогоже образца, % С.
Сходимость показаний анализатора АН-7529 при анализе чугунов с массовой долей углерода свыше 1,5% (дол 4%) не превышает 0,05%С.
Продолжительность одного анализа 1,5 мин в зависимости от навески. Индикация результатов анализа цифровая (в процентах углерода). Ввод значения массы навески пробы ручной или от автоматических весов. Питание - от сети переменного тока: напряжение 220 В, частота 50 Гц. Потребляемая мощность: экспресс-анализатора типа АН-7529 250 В-А; экспресс-анализатора типа АН-7560 150 В-А; устройства сжигания 3000 В-А. Расход кислорода 0,7 л/мин. Время прогрева измерительного блока 30 мин. Габаритные размеры (не более): измерительного блока 480х240х400 мм; блока газоподготовки 110х190х450 мм; датчика 300х700х300 мм; устройства сжигания 400х450х615 мм. Масса: измерительного блока 20 кг; блока газоподготовки 10 кг; датчика 20 кг; устройства сжигания 55 кг.
В комплект поставки входят: измерительный блок, датчик, блок газоподготовки, устройство сжигания, комплект запасных частей и принадлежностей, паспорт на анализатор.
Измерительный блок анализатора состоит из трех субблоков: аналогового, цифрового и выпрямительного. Датчик выполнен в виде стойки, на которой закреплены электролитическая ячейка с электродной системой рН-метра и генераторными электродами (анод и катод), привод мешалки и компенсатор "холостого счета". На датчике расположены также выключатели генераторного тока и двигателя мешалки.
Газовый тракт состоит из редуктора, устанавливаемого на кислородном баллоне (или магистрали), редуктора-фильтра, блока газоподготовки, трубки сжигания навески и трубки дожигания примесей кислорода (последняя только в АН-7560).
Устройство сжигания представляет собой трубчатую печь с регулятором температуры.
2 Работа анализаторов.
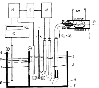
Рис.2. Элементарная схема экспресс-анализатора стали на углерод'.
1-трубчатая печь; 2-измерительный электрод, 3-вспомогательный электрод; 4-электролитическая ячейка, 5-поглотительный раствор; б-вспомогательный раствор, 7-проницаемая для тока перегородка; 8- катод, 9-анод; 10-интегратор тока (пересчетное и индикаторное устройство); 11-мешалка, 12-высокоомныи усилитель рН-метра; 13-преобразователь "U→Тц", 14-стабилизатор тока.
В анализаторах применён метод автоматического титрования по величине рН. Функциональная схема, поясняющая принцип работы анализаторов, приведена на рис.2. Навеска стали, помещённая в фарфоровую лодочку, сжигается в трубчатой печи (1) в потоке очищенного от примесей кислорода. Образовавшийся при сжигании содержавшегося в стали углерода углекислый газ уносится потоком кислорода в электролитическую ячейку (4) датчика и поглощается в ней раствором (5), вызывая его закисление.
Закисление раствора приводит к изменению э.д.с. электродной системы (2), (3) и соответствующему изменению выходного напряжения высокоомного усилителя рН-метра (12), которое затем преобразователем (13) преобразуется в импульсы напряжения с длительностью, пропорциональной значению этого напряжения. Импульсы напряжения стабилизатором тока (14) преобразуются в импульсы тока, протекающие по участку цепи: анод (9)-вспомогательный раствор (6)-токопроницаемая целлофановая перегородка (7)-поглотительный раствор (5)-катод (8), вызывают восстановление ионов водорода на катоде, нейтрализуя кислоту, образующуюся при поглощении углекислого газа. Количество электричества, потребовавшегося для нейтрализации, фиксируется пересчётным и индикаторным устройством (10), отградуированным в % массовой доли углерода.
В состав поглотительного раствора входят хлористый стронций и хлористый калий. При поглощении углекислого газа происходят следующие реакции:
СО2+Н2О=Н2СО3
Н2СО3+SrCl2=SrCO3+2HCl
HCl=H++Cl-
При протекании генераторного тока катионы водорода восстанавливаются:
2Н+2е - =Н2
На цинковом аноде при протекании тока образуются ионы цинка, взаимодействующие со вспомогательным электролитом, содержащим хлористый калий и ферроцианид калия:
Zn-2e-=Zn2+; 3Zn2++2Fe (CN)64+→K2Zn3[ (CN)6]2
Образовавшаяся комплексная соль цинка выпадает в осадок.
3 Конструкция.
Анализатор выполнен в виде измерительного блока, датчика и газового тракта. Для работы анализатора необходимо также устройство сжигания, которое может поставляться в комплекте анализатора. Для автоматического ввода значения массы навески в комплекте может поставляться корректор массы.
3.1 Измерительный блок конструктивно выполнен в виде унифицированной конструкции АСЭТ УТК. Для доступа к монтажу передней панели, последняя выполнена откидывающейся. Фиксация панели осуществляется двумя винтами, расположенными под крышками боковых стенок блока. Радиатор крепится к тыльной части блока также винтами. Монтаж блока выполнен на печатных платах, входная высокоомная часть усилителя рН-метра выполнена в виде отдельного экранированного блока. Экран усилителя от корпуса блока изолирован.
Печатные платы установлены в разъёмах, соединяющихся друг с другом объёмным монтажом. На передней панели блока размещены:
-
Цифровой индикатор"%С";
-
Цифровой индикатор" Навеска, г";
-
Кнопки ручного набора массы навески;
-
Цифровой индикатор "Время, мин."; кнопка "Сброс";
-
Регулятор "Раб.точка" с лимбом;
-
Регулятор "Градуировка" с лимбом;
-
Кнопка проверки рабочей точки;
-
Программный переключатель установки времени анализа;
-
Выключатель сетевого питания и выключатель таймера.
3.2 Датчик выполнен в виде стойки, с двумя кронштейнами, на которых установлены:
-
Сосуд электролитической ячейки;
-
Электродная система рН-метра;
-
Мешалка;
-
Генераторные электроды;
-
Выключатели генераторного тока и двигателя мешалки;
-
Компенсатор холостого счёта.
3.3 Сосуд электролитической ячейки имеет два отсека, заполненные растворами и разделённые перегородкой. Правый отсек сосуда – катодный, левый – анодный. Отсеки электрически соединены с помощью токопроводящей плёнки, закрывающей отверстие между отсеками.
В качестве плёнки, проницаемой для электрического тока, применена гидратцеллюлозная плёнка (целлофан). Допускается использовать сорта целлофана, применяемые в пищевой и мясомолочной промышленности. Необходимо, чтобы применяемая плёнка впитывала воду, и при этом сохраняла достаточную механическую прочность. Важным критерием пригодности плёнки является соответствие величины тока титрования прибора номинальному значению (4А+0,2А для АН-7529 и 0,4А+0,02А для АН-7560) в течение всего срока работы плёнки (обычно плёнку меняют каждый раз при смене раствора). Плёнка крепится между двумя резиновыми накладками с помощью вкладыша, зажимаемого клиньями.
3.4 Электродная система рН-метра из стеклянного (измерительного) электрода и вспомогательного электрода.
Электродная система соединяется специальным антивибрационным кабелем со входом рН-метра, находящегося в измерительном блоке.
3.5 Мешалка, предназначенная для перемешивания поглотительного раствора, выполнена из нержавеющей стали, а её конструкция, состоящая из цилиндрической сетки с вращающимися внутри её проволочным ротором, обеспечивает эффективное поглощение углекислого газа раствором.
Мешалка приводится во вращение двигателем. Ось мешалки вращается в шарикоподшипнике, установленном на кронштейне крепления ячейки.
Вращение оси должно происходить по часовой стрелке (вид сверху), во избежание свинчивания мешалки.
На оси мешалки под крышкой ячейки установлена резиновая втулка, которая препятствует выходу брызг вместе с газом из сосуда вдоль оси наружу. При эксплуатации датчика нужно следить, чтобы эта резиновая втулка была прижата вверх с небольшим усилием, при котором зазор между резиновой втулкой и крышкой ячейки отсутствует, а трение между втулкой и платой не тормозит вращение мешалки.
3.6 Анод и катод, являющиеся генераторными электродами, конструктивно выполнены различно. В качестве анода используются сменные цинковые пластины толщиной 1÷3 мм марки ЦО или ЦР ГОСТ 3640-65. анод крепится винтом в левом отсеке сосуда электролитической ячейки.
Катод выполнен из нержавеющей стали в виде U-образной скобы с поперечными перемычками. Катод крепится к верхней крышке правого отсека сосуда ячейки симметрично относительно окна перегородки.
3.7 Тумблер "Мешалка" предназначен для включения и выключения двигателя мешалки, обеспечивающей перемешивание поглотительного раствора ячейки с целью увеличения эффективности поглощения углекислого газа, получающегося в результате сжигания проб анализируемых образцов.
Тумблер "Ток" предназначен для включения и выключения цепи тока генераторных электродов, обеспечивающего кулонометрическое титрование поглотительного раствора.
3.8 Компенсатор "Холостого счёта" предназначен для уменьшения интенсивности самопроизвольного счёта индикатора "%С" из-за наличия примесей в техническом кислороде.
Компенсатор состоит из 10 резисторов, коммутируемых переключателем "Компенсация". Компенсация обеспечивается подщелачиванием поглотительного раствора током, величина которого определяется положением переключателя "Компенсация" независимо от системы автоматического титрования.
4. Газовый тракт.
Характеристики
Тип файла документ
Документы такого типа открываются такими программами, как Microsoft Office Word на компьютерах Windows, Apple Pages на компьютерах Mac, Open Office - бесплатная альтернатива на различных платформах, в том числе Linux. Наиболее простым и современным решением будут Google документы, так как открываются онлайн без скачивания прямо в браузере на любой платформе. Существуют российские качественные аналоги, например от Яндекса.
Будьте внимательны на мобильных устройствах, так как там используются упрощённый функционал даже в официальном приложении от Microsoft, поэтому для просмотра скачивайте PDF-версию. А если нужно редактировать файл, то используйте оригинальный файл.
Файлы такого типа обычно разбиты на страницы, а текст может быть форматированным (жирный, курсив, выбор шрифта, таблицы и т.п.), а также в него можно добавлять изображения. Формат идеально подходит для рефератов, докладов и РПЗ курсовых проектов, которые необходимо распечатать. Кстати перед печатью также сохраняйте файл в PDF, так как принтер может начудить со шрифтами.















