151874 (733144), страница 2
Текст из файла (страница 2)
При проходженні ж крізь камери резисторів Rl і R2 аналізованої газової суміші умови охолодження резисторів Rl, R3, і R2, R4 будуть різними, через що і температури нагріву вказаних пар резисторів відрізнятимуться. В результаті цього й величини опорів вказаних пар резисторів змінюються, що викликає розбалансування вимірювального мосту і появу відхилення стрілки мілівольтметра вздовж шкали, градуйованої у відсотках вмісту контрольованої складової у складі газової суміші.
Газову суміш, що надходить у камери, де розміщено резистори R1 і R3, необхідно відфільтрувати від часток пилу, а то й від інших домішок, які можуть вносити похибки у вимірювання (наприклад, тих, що мають коефіцієнт теплопровідності, близький за величиною до такого у контрольованій складовій).
Крім того, необхідно забезпечити рівність температур повітря у камерах резисторів R2 та R4 і температури газової суміші, що проходить крізь камери резисторів R1 та R3 Слід дбати також і про незмінність величини струму, що надходить до мосту від батареї Б.
Тут було розглянуто найпростішу схему термокондуктометричного газоаналізатора.
Реально ж на енергетичних підприємствах часто користуються газоаналізаторами, що створені на основі врівноважених автоматичних мостів. При цьому, звичайно, можна одержати дещо більшу точність вимірювань, але такі газоаналізатори значно дорожчі і складніші в обслуговуванні.
3. Вимірювання концентрації розчинів
розчин суміш концентрація речовина
На електричних станціях досить часто вимірюють концентрації окремих хімічних речовин у водяних розчинах.
Концентрації кислот, лугів та солей необхідно вимірювати для того, щоб забезпечити можливість підтримувати рівень величини концентрації розчинів у певних межах. Це необхідно для нормального протікання технологічних процесів. Для таких вимірювань найчастіше користуються кондуктометричними концентратомірами. Ці прилади визначають величину концентрації за величиною електропровідності (чи за оберненою їй величиною електричного опору) електродної чарунки, заповненої досліджуваним розчином.
Кондуктометричні концентратоміри можуть бути контактними, там, де електроди введено у схему вимірювання опору (частіше за все мостову) і мають безпосередній фізичний контакт з досліджуваною рідиною, чи безконтактними (де відсутній безпосередній контакт чутливої частини вимірювального устаткування з досліджуваною рідиною). Безконтактний метод вимірювання слід вважати більш прогресивним, бо при цьому унеможливлюється вплив стану поверхні вимірювальних електродів на результат вимірювань.
Кондуктометричні концентратоміри працюють виключно на змінному струмі, щоб уникнути похибок, пов'язаних з поляризацією вимірювальних електродів, яка завжди матиме місце при постійному струмі.
Користуватись кондуктометричними концентратомірами слід обачно, щоб уникнути появи грубих похибок, спричинених властивістю більшості розчинів мати однакові значення електричного опору (чи електричної провідності) чарунки при суттєво відмінних величинах концентрації. На рис. 4 наведено залежності питомої електропровідності γ водяних розчинів деяких речовин від величини їхньої концентрації С у цих розчинах.
Рис. 4. Залежності питомої електропровідності розчинів від концентрації (температура 20 °С)
Рис. 5 Схема автоматичного контактного кондуктоміра
Як видно, у всіх залежностей, що розглянуто, кожному значенню питомої електропровідності відповідає два, а для сірчаної кислоти — й чотири різних значення величини концентрації. Але у межах найбільш вірогідних величин концентрації (десь 0...20 .%) величина питомої електропровідності розчинів однозначно пов'язана з величиною концентрації.
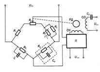
Принципову схему для визначення величини концентрації розчинів на основі вимірювання величини опору розчину, залитого у чарунку контактного кондуктоміра, наведено на рис. 5. Цей кондуктомір являє собою автоматичний врівноважений міст, у якому електродну чарунку з досліджуваним розчином позначено як паралельно ввімкнені резистор Rx та ємність Сх. Компенсацію похибок при відхиленні температури довкілля від номінального значення виконує терморезитор Rт з паралельно ввімкненим манганіновим резистором R3. Резистори R1 і R2 також зроблено з манганіну. Конденсатор С увімкнено для кращого врівноваження мосту, в якому вже є ємність чарунки Сх. Міст врівноважують реохордом Rp, рухомий контакт якого, разом із покажчиком, приводить до руху реверсивний двофазний двигун РД, обмотка управління котрого живиться електронним підсилювачем П, керованим напругою, що є на вимірювальній діагоналі мосту у його розбалансованому стані. Двигун РД обертається доти, доки є напруга, й зупиняється, коли її не стане після збалансування мосту.
У безконтактному концентратомірі досліджуваний розчин не має контакту з будь-якими електродами, бо ЕРС, що викликає в ньому струм, індукується в одновитковій обмотці, створеній самим розчином.
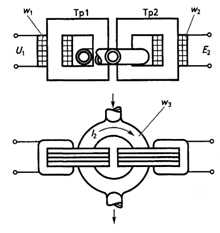
Будову чутливого елемента такого концентратоміра зображено на рис. 6. Елемент складається з двох трансформаторів Тр1 і Тр2. Обмотку w1 першого трансформатора приєднують до мережі змінного струму, а обмотку w2 другого — до входу електронного підсилювача автоматичного потенціометра, що вимірює її ЕРС. Зв'язок між трансформаторами здійснює одновиткова обмотка w3, створена досліджуваним розчином, що протікає всередині кільцевої трубки, виконаної з ізоляційного матеріалу. До кільцевої трубки з двох боків приєднано прямі відрізки трубок, по одному з яких розчин надходить у кільце, а по іншому видаляється з нього, даючи можливість проводити вимірювання безперервно, у потоці розчину. Про величину електричного опору рідини, що міститься у замкненому каналі, створеному кільцевою трубкою, посередньо може свідчити величина ЕРС, що індукується в обмотці w2. Величина цієї ЕРС буде пропорційною струмові І2, що проходить кільцем, створеним трубкою з рідиною.
Рис. 6 Чутливий елемент безконтактногоконцентратоміра
Якщо ЕРС, індукована у цьому кільці магнітним потоком, що проходить магнітопроводом трансформатора Тр1, відома й відома величина струму І2, що проходить розчином, котрий міститься у кільці, то питання про величину опору розчину, що заповнює кільце, а отже і величину електропровідності розчину вирішується однозначно — величина електропровідності пропорційна величині ЕРС, виміряної на кінцях обмотки w2. Таким чином, показання автоматичного потенціометра, що вимірює вказану ЕРС, завжди будуть пропорційні величині електропровідності розчину, що є у кільцевому каналі устаткування.
Безконтактний концентратомір дуже зручний тим, що разом з автоматичним потенціометром забезпечує вимірювання і реєстрацію величини електропровідності розчинів у потоці. Необхідно лише, щоб трансформатор Тр1 живився стабілізованою напругою.
З концентратомірів, які використовують на електричних станціях, слід назвати солеміри. Ці прилади застосовують для визначення вмісту солей у живильній воді парових та водогрійних котлів, у конденсаті або парі.
Солемір складається з датчика та врівноваженого мосту змінного струму, до котрого приєднують цей датчик. Принципово солемір не відрізняється від інших контактних концентратомірів, хіба що більш складною системою відбору й підготовки проби для вимірювань. Ця проба, перед надсиланням її у датчик, підлягає багатократному упарюванню (щоб позбавити її від можливої присутності аміаку та вуглекислоти), багатократному дроселюванню та охолодженню до 60...30 °С. Але жодне з устаткувань, що бере участь у підготовці проби, не має ніяких електротехнічних пристроїв і тому тут не розглядається. Щодо чутливого елемента датчика, то він має два пластинчасті електроди з ізольованими відводами, що безпосередньо занурені у воду чи конденсат, солоність яких визначається. Датчики солемірів розраховано на відносно малі концентрації, наприклад від 0,1 до 5 мг/л, хоча іноді вони бувають розраховані й до 4 г/л.
4. Вимірювання вологості речовин
Вологість — це вміст води у твердих та рідких речовинах або вміст водяної пари у повітрі чи газах. Прилади для вимірювання вологості мають назву вологоміри.
На підприємствах енергетики використовують тільки електричні вологоміри (за винятком тих, що вимірюють вологість у побутових приміщеннях). Електричні вологоміри можуть визначати величину вологості за величиною електропровідності вологої речовини, за величиною її діелектричної проникності чи за величиною діелектричних втрат.
Найпростішими за побудовою є вологоміри, що визначають величину вологості твердих чи сипких речовин за величиною їхньої електропровідності. Такі вологоміри виконують на основі приладів чи схем, призначених для вимірювання електричних опорів. Ці прилади чи схеми приєднують до електродів, занурених на певну глибину у речовину, вологість якої визначають за певної відстані між цими електродами. Звичайно, електропровідність твердих чи сипких речовин буде тим більшою (а вимірювальний опір тим менший), чим більшою буде вологість.
Зазначимо, що такий метод вимірювання вологості досить чутливий, бо за невеликих величин вологості відносна зміна величини питомого опору вологої речовини може бути у декілька разів більшою за відносну зміну самої вологості.
Разом з тим очікувана величина похибки при таких вимірюваннях може бути невизначеною через наявність значної величини температурного коефіцієнта питомого опору та невизначеність величини самої температури, котра на різній глибині сипкої речовини може бути різною. Якщо ж зважити на те, що контрольована речовина має однакову температуру по всій товщині шару, то температурну похибку можна суттєво зменшити, увімкнувши у сусіднє плече вимірювального мосту додатковий напівпровідниковий резистор (термистор), що має температурний коефіцієнт того самого знаку, що й у контрольованої речовини. Величину ж загального температурного коефіцієнта опору сусіднього плеча мосту можна зробити рівним величині температурного коефіцієнта опору контрольованої речовини, якщо змінити співвідношення між величиною опору термістора та резистора, увімкнених в одне плече мосту.
Для визначення вологості (тобто вмісту води) рідких речовин, що мають відносно великий питомий опір, наприклад мазуту чи іншого рідкого палива, доцільно користуватись ємнісними електричними вологомірами. Ці вологоміри використовують тому, що величина діелектричної проникності води у кілька десятків разів більша, ніжу якого завгодно рідкого палива. Тобто наявність домішки води у паливі повинна збільшувати ємність конденсатора, зануреного у паливо.
Вологомір, що вимірює вологість мазуту, який надходить до форсунки, що розпорошує його у топці, складається з ємнісної чарунки, встановленої всередині мазутного трубопроводу, і електронної схеми, що вимірює величину ємності конденсатора цієї чарунки. Вихідним приладом електронної схеми, градуйованим у відсотках вологості, є магнітоелектричний міліамперметр. Електронна схема має також релейний вихід — сигнальне реле вмикає своїми контактами світловий і акустичний сигнали, якщо величина вологості мазуту наближається до небезпечного рівня (звичайно це 15...20 %), за яким може статися гасіння факелу, створеного форсункою.
Цей вологомір має досить складну температурну компенсацію — додатковий ("зразковий") конденсатор, заповнений мазутом, що не має домішки води, який весь час перекачується крізь теплообмінник, розташований у потоці мазуту, що транспортується трубопроводом до форсунки. Слід вказати на значну загальну складність будови подібних вологомірів і недостатню їхню надійність в умовах безперервної експлуатації.
Вологоміри, що діють на основі вимірювання діелектричних втрат, влаштовано майже так, як і вологоміри, що діють на основі зміни величини ємності конденсатора певних розмірів, викликаної зміною діелектричної проникності. Виконані вони на основі мостових схем, але таких, які вимірюють величину тангенса кута діелектричних втрат у речовині, що слугує за діелектрик конденсаторної чарунки. Ці вологоміри застосовують у випадках, коли вміст води у контрольованій речовині більше впливає на величину діелектричних втрат, ніж на величину ємності.
Список рекомендованої літератури
-
Клюев А.С, Пин Л.М., Коломиец Е.И. Наладка средств измерений и систем технологического контроля: Справочное пособие. — М.: Энергоиздат, 1990.
-
Телешевский Б.Е. Измерения в электро- и радиотехнике. — М.: Высш. шк., 1984.
-
Телешевский Б.Е. Лабораторные работы по электро- и радиоизмерениям. — М.: Высш. шк., 1984.
-
Шаповаленко О.Г., Бондар В.М. Основи електричних вимірювань: Підручник.— К.: Либідь, 2002.
-
Шихин А.Я., Белоусова Я.М., Пухляков Ю.X. и др. Электротехника. — М.: Высш. шк., 1989.
Размещено на Allbest.ru















