151705 (733109)
Текст из файла
КРИСТАЛЛИЧЕСКАЯ СТРУКТУРА КЕРАМИК Tl2Ba2 , ПОЛУЧЕННЫХ С ИСПОЛЬЗОВАНИЕМ ВЫСОКОГО ДАВЛЕНИЯ
(реферат)
Введение
Актуальной проблемой до сих пор является определение роли кристаллохимических параметров высокотемпературных сверхпроводников (ВТСП) в повышении температуры перехода в сверхпроводящее состояние (Tc). Интерес к оксофторидам вызван тем, что частичное замещение кислорода на фтор приводит к изменению концентрации носителей заряда в Cu-O плоскостях купратных сверхпроводников, что в конечном итоге, определяет сверхпроводящие свойства оксофторидов. Определение взаимосвязи большинства ВТСП характеристик с содержанием носителей заряда обуславливает стремление к поиску критических кристаллохимических параметров, определяющих Тс. Параболическую зависимость Тс в зависимости от содержания дырок имеют большинство ВСТП фаз. Тем не менее, содержание дырок является не единственным параметром, определяющим Тс, так как нет общей зависимости Тс от содержания дырок для абсолютно всех ВТСП фаз. Известно [1,2], что Тс зависит от расстояний d (Cu-Cu) в CuO2 плоскости и от d (CuO2 - A) от CuO2 плоскости до соответствующей плоскости катионов А (А=Ca, Sr, Ba, Y и т.д.). В тоже время, средние расстояния d (Cu-Cu) и d (CuO2 - A), определяемые из дифракционных экспериментов несут информацию о дырочной концентрации (р) (расстояние d (Cu-Cu) уменьшается, а расстояние d (CuO2 - A) - увеличивается с ростом концентрации дырок). Однако, расстояния зависят не только от р, но также и от геометрического фактора (размеры и заряды катионов в остальных слоях). Поэтому зависимость Тс от кристаллохимических параметров в сверхпроводнике более полно выражается комбинацией таких величин как d (CuO2 - A) и d (Cu-Cu), которые содержат информацию о дырочной концентрации, размере и заряде катионов А.
Из имеющихся экспериментальных данных следует, что влияние фтора на структуру и электрофизические свойства таллиевых высокотемпературных сверхпроводников (ВТСП) практически не изучено. Исходя из изложенного, целью работы является поиск взаимосвязи между кристаллохимическими параметрами и Тс для таллиевой керамики Tl2Ba2CaCu2OyFx (х=0; 0,1; 0,2).
Образцы таллий содержащих керамик готовились из пероксида бария, дифторида бария и оксидов таллия, меди, кальция. Учет повышенной летучести таллия был произведен добавлением избыточного количества Tl2O3 (10 мас.%), так что исходная шихта имела состав: 1.1×Tl2O3+ x/2 ×BaF2+ (2-x/2) ×BaO2+1.0×CaO+2.0×CuO, где х = 0,0; 0,1; 0,2. Предварительное прессование составов осуществлялось при давлении 100 МПа (образцы изготавливались в виде таблеток Ø12 мм и высотой 4-5 мм). Затем таблетки заворачивались во фторопластовую пленку и помещались в контейнер для последующей обработки в аппарате высокого давления. Диапазон прикладываемого давления составил (1 - 5) ГПа. Выдержка под давлением составляла 5 минут при комнатной температуре. После обработки давлением полученные образцы помещались в печь. Синтез образцов проводился в одну стадию на воздухе при температуре 825 С, в течение 3 часов (скорость набора температуры 2.85 ºС/мин). Для изучения структуры керамик применялся рентгеноструктурный анализ (дифрактометр ДРОН-3М, CuKα - монохроматическое излучение, шаг сканирования 0.02˚, диапазон сканирования 20˚ - 60˚, экспозиция 10 секунд в каждой точке). Все расчеты проводились с помощью программы QUANTO [3]. Для всех синтезированных образцов были измерены параметры сверхпроводящего перехода резистивным методом (четырехконтактный метод) на постоянном токе. Чувствительность нуль-индикатора составляла 5×10-9 В. Значение температуры перехода в сверхпроводящее состояние (Тс (10 - 90%)) определялось как средняя точка отрезка между температурами, соответствующими 10 и 90% сигнала. Ширина перехода также определялась на уровне 10 и 90% сигнала. Температурные исследования электросопротивления и восприимчивости проводились в интервале 77-300 К. Температура контролировалась с точностью ±0,2 К.
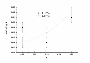
РЕЗУЛЬТАТЫ И ИХ ОБСУЖДЕНИЕ. Синтез образцов был проведен при 825 0С. Полученные при этой температуре образцы с точки зрения рентгенофазового анализа были однофазными. В то время как однофазность керамических образцов тех же составов, но без применения высокого давления (ВД), достигалась лишь при 840 0С [4]. Таким образом, применение ВД на стадии компактирования исходной шихты позволяет снизить температуру синтеза керамики (c 840 до 825 0С). Более ранние исследования [4] показали, что величина ширины перехода в сверхпроводящее состояние для образцов, синтезированных без использования ВД, составляла не менее 11 К, в то время как для большинства обработанных ВД керамических образцов эта величина составляет 4-7 К. Так как ширина перехода в сверхпроводящее состояние свидетельствует о качестве образцов, очевидно, что приложение ВД способствует получению более совершенных образцов, которые имеют большую плотность и меньшую дефектность по таллию (поскольку приложение ВД способствует уменьшению степени летучести таллия в ходе синтеза). Температуры перехода в сверхпроводящее состояние (Тс) образцов, обработанных ВД (табл.1), соответствуют значениям температур перехода в сверхпроводящее состояние для образцов, полученных без использования ВД [4]. Отмечено небольшое увеличение значения Тс с ростом температуры синтеза для всех образцов. Схожая закономерность, видимо, имеет место с ростом величины прикладываемого давления. Так для образцов не содержащих фтор с ростом величины прикладываемого давления происходит изменение Тс от 105,1 К (1 ГПа) до 106 К (5 ГПа) при температуре синтеза 825 0С. Для выяснения роли кристаллохимических параметров в повышении температуры перехода для уточнения не были взяты образцы, обработанные давлением 5 ГПа, т.к значения их температур перехода в сверхпроводящее состояние практически не отличались от соответствующих величин образцов, обработанных давлением 2,5 ГПа. Кристаллическая структура керамических образцов системы Tl-2212 уточнялась в рамках пространственной группы I4/mmm. Похожей моделью пользовались авторы в [6,7] (рис.1). В исходной модели предполагалось, что атомы фтора замещают атомы кислорода не в медь-содержащей плоскости, как это предполагалось в некоторых работах, например, в [8], а в позициях О (2), как это было показано авторами в работе [9]. Результаты уточнения приведены в [13]. По результатам уточнения были рассчитаны величины J, d (Cu-Cu) и (D1+D2) [13]. Анализ результатов уточнения параметров решетки показывает, что с ростом величины высокого давления компактирования от 1 до 2,5 ГПа происходит: уменьшение расстояния О3 - О2; увеличение расстояния Cu - O2; уменьшение расстояния Са - O1; уменьшение расстояния Ва - O3; практически не меняется координата zO3; увеличение координаты zBa. А с изменением х от 0 до 0,2: практически не меняется координата zTl; уменьшается координата zBa; уменьшение расстояния Ва - O3. Изменения параметров решетки не всегда адекватно отражают тонкие изменения в структуре, которые, видимо, и имеют решающее влияние на величину температуры перехода. Наибольшему воздействию в связи с изменением величины давления и концентрации фтора подверглись атомы бария. Что качественно согласуется с данными, приведенными в [10]. Более того, расстояние d (CuO2 - Ba) действительно изменяется с изменением содержания фтора (судя по изменению координаты zBa). Характер изменения координаты zBa говорит о большем содержании дырок (что согласуется с [2,10,11]) в образцах с меньшим х (с ростом х координата zBa уменьшается, следовательно, содержание дырок уменьшается). Небольшое увеличение zBa с ростом давления от 1 до 2,5 ГПа, по всей видимости, может свидетельствовать о некотором увеличении содержания дырок с ростом величины давления. В пользу уменьшения числа дырок с увеличением содержания фтора свидетельствует рост расстояний d (Cu-Cu) (рис.2), что согласуется с работой [2].
Рис.1 Кристаллическая структура Tl2Ba2CaCu2Oy
Рис.2 Зависимость расстояния d (Cu - Cu) от содержания фтора (x)
Рис.3 Зависимость температуры перехода в сверхпроводящее состояние от суммы "эффективных" расстояний D1+D2
Таблица 1. Температура перехода в сверхпроводящее состояние образцов системы Tl2Ba2CaCu2O8-x/2Fx (где x=0; 0,1; 0,2)
Рис.4. Зависимость температуры перехода в сверхпроводящее состояние от J
Таким образом, возникновение дырок на атомах меди, расположенных на концах диагонали квадрата купратной сетки, должно приводить к следующим структурным изменениям: сжатию квадрата путем смещения атомов меди; сдвигу атомов бария от плоскости квадрата. Сдвиг атомов бария от плоскости квадрата купратной сетки связан с необходимостью сохранения равновесных расстояний между атомами бария и атомами кислорода, расположенными в плоскости CuO2 и соответствует минимальной потенциальной энергии, поэтому он не зависит от способа возникновения дырок. Строя в [1,2,11] зависимость Тс от отношения J (J=d (Cu-Cu) / (D1+D2)) и (D1+D2), авторы обнаружили, что все ВТСП фазы могут быть разделены только на две группы с присущей зависимостью Тс (J): фазы с одним слоем CuO2 и с несколькими слоями. График такой зависимости схож с параболой. Однако, более близкая аппроксимация этой зависимости дает уравнение полинома третьей степени (рис.3,4). J растет с ростом размера и заряда катиона А [2]. Зависимости построены на основе структурных данных 131 соединения (включая Hg-1201, Tl-2201 фазы, имеющие в решетке одну плоскость CuO2, и соединения, имеющие 2-4 плоскости меди, фаз Y-123, 124, 247; Hg-1212, 1213, 1223, 1234, 2212; Tl-1212, 1223, 2212, 2223; Tl0,5Pb0,5-1212,1223; Hg0,5Pb0,5-1212 и др.). На графики нанесены точки, рассчитанные по результатам уточнения наших систем (величины Тс взяты как температуры начала перехода в сверхпроводящее состояние, как и в [1,2,11]). Как может быть видно из графиков, полученные нами точки хорошо "ложатся" на предложенную зависимость. Что с одной стороны подтверждает достаточную точность измерения структурных параметров для образцов нашей системы, а с другой стороны свидетельствует в пользу выбора параметров J и (D1+D2) для описания зависимости температуры перехода в сверхпроводящее состояние от кристаллохимических параметров. Таким образом, управление изменением расстояний Cu-Cu и CuO2 - Ba может явиться одним из способов изменения Тс.
Согласно существующим представлениям, гранулярные ВТСП являются многосвязной джозефсоновской средой [1, 2], в которой имеется сильный пиннинг, поэтому представляется естественным применение концепции критического состояния для описания электродинамики ВТСП. В таких сверхпроводниках существует целый спектр характерных масштабов, приводит к тому, что электродинамика высокотемпературных сверхпроводников оказывается намного более сложной и интересной, нежели обычных. Поэтому исследования в этом направлении имеют как фундаментальное значение для понимания физики многосвязных систем, так и прикладное значение при использовании этих материалов.
Парадигма самоорганизованной критичности (СОК) была сформулирована Баком в 1987 году (см. например [3]). Согласно концепции СОК, гигантские динамические системы, накапливая малые возмущения, естественным образом эволюционируют к критическому состоянию, которое в дальнейшем является самоподдерживающимся, то есть не требует для своего существования точной подстройки внешних параметров. По своей структуре это критическое состояние является набором большого числа метастабильных критических состояний, по которым блуждает система. Очередное малое внешнее воздействие выводит систему из одного метастабильного критического состояния и порождает в ней динамический процесс ("лавину"), по окончании которого система оказывается в другом метастабильном критическом состоянии. Лавины могут быть как малыми, так и гигантскими, охватывающими всю систему, но и те и другие порождаются одинаково малыми возмущениями. Именно такой тип поведения и был назван самоорганизованной критичностью. Находящаяся в самоорганизованном критическом состоянии система теряет характерные масштабы как длины, так и времени, и ее корреляционные функции имеют степенные асимптотики.
Необходимым условием для существования самоорганизации является наличие большого числа близких метастабильных состояний в системе, между которыми происходят переходы. Как было показано в [4], гранулярные сверхпроводники, которые представляют собой джозефсоновскую среду, удовлетворяют этому условию, если количество квантов магнитного потока, запиннингованных на одном элементарном контуре в сверхпроводнике, образованном соседними гранулами, велико. В этом случае континуальное приближение для джозефсоновской среды неприменимо, а гранулярный сверхпроводник необходимо описывать дискретными уравнениями, которые оказываются полностью аналогичными уравнениям для модельной песочной кучи в задаче о самоорганизации. При этом оказалось, что ВАХ сверхпроводника является пространственно изотропной, то есть не зависит от силы Лоренца, что было подтверждено экспериментально в работах [5, 6].
Характеристики
Тип файла документ
Документы такого типа открываются такими программами, как Microsoft Office Word на компьютерах Windows, Apple Pages на компьютерах Mac, Open Office - бесплатная альтернатива на различных платформах, в том числе Linux. Наиболее простым и современным решением будут Google документы, так как открываются онлайн без скачивания прямо в браузере на любой платформе. Существуют российские качественные аналоги, например от Яндекса.
Будьте внимательны на мобильных устройствах, так как там используются упрощённый функционал даже в официальном приложении от Microsoft, поэтому для просмотра скачивайте PDF-версию. А если нужно редактировать файл, то используйте оригинальный файл.
Файлы такого типа обычно разбиты на страницы, а текст может быть форматированным (жирный, курсив, выбор шрифта, таблицы и т.п.), а также в него можно добавлять изображения. Формат идеально подходит для рефератов, докладов и РПЗ курсовых проектов, которые необходимо распечатать. Кстати перед печатью также сохраняйте файл в PDF, так как принтер может начудить со шрифтами.















