151150 (732929)
Текст из файла
- 7 -
Электрический ток в вакууме. Электровакуумные приборы
Важнейшими приборами в электронике первой половины ХХ в. были электронные лампы, в которых использовался электрический ток в вакууме. Однако им на смену пришли полупроводниковые приборы. Но и сегодня ток в вакууме используется в электронно-лучевых трубках, при вакуумном плавлении и сварке, в том числе в космосе, и во многих других установках. Это и определяет важность изучения электрического тока в вакууме.
Вакуум (от лат. vacuum – пустота) – состояние газа при давлении, меньшем атмосферного. Это понятие применяется к газу в замкнутом сосуде или в сосуде, из которого откачивают газ, а часто и к газу в свободном пространстве, например к космосу. Физической характеристикой вакуума есть соотношение между длиной свободного пробега молекул и размером сосуда, между электродами прибора и т.д.
Рис.1. Откачивание воздуха из сосуда
Когда речь идет о вакууме, то почему-то считают, что это совсем пустое пространство. На самом же деле это не так. Если из какого-нибудь сосуда откачивать воздух (рис.1), то количество молекул в нем с течением времени будет уменьшаться, хотя все молекулы из сосуда удалить невозможно. Так когда же можно считать, что в сосуде создан вакуум?
Молекулы воздуха, двигаясь хаотически, часто сталкиваются между собой и со стенками сосуда. Между такими столкновениями молекулы пролетают определенные расстояния, которые называются длиной свободного пробега молекул. Понятно, что при откачивании воздуха концентрация молекул (их количество в единице объема) уменьшается, а длина свободного пробега – увеличивается. И вот наступает момент, когда длина свободного пробега становится равной размерам сосуда: молекула движется от стенки к стенке сосуда, практически не встречаясь с другими молекулами. Вот тогда-то и считают, что в сосуде создан вакуум, хотя в нем еще может быть много молекул. Понятно, что в меньших по размерам сосудах вакуум создается при больших давлениях газа в них, чем в больших сосудах. Если продолжать откачивание воздуха из сосуда, то говорят, что в нем создается более глубокий вакуум. При глубоком вакууме молекула может много раз пролететь от стенки к стенке, прежде чем встретится с другой молекулой. Откачать все молекулы из сосуда практически невозможно. Где берутся свободные носители зарядов в вакууме? Если в сосуде создан вакуум, то в нем все же есть немало молекул, некоторые из них могут быть и ионизированы. Но заряженных частичек в таком сосуде для выявления заметного тока мало. Как же получить в вакууме достаточное количество свободных носителей заряда? Если нагреть проводник, пропуская по нему электрический ток или другим способом (рис.2), то часть свободных электронов в металле будет иметь достаточную энергию, чтобы выйти из металла (выполнить работу выхода).
Явление излучения электронов накаленными телами называется термоэлектронной эмиссии.
Рис. 2. Излучение электронов раскаленным проводником
Электроника и радио почти ровесники. Правда, поначалу радио обходилось без своей сверстницы, но позднее электронные приборы стали материальной основой радио, или, как говорят, его элементарной базой.
Начало электроники можно отнести к 1883 году, когда знаменитый Томас Альфа Эдисон, пытаясь продлить срок службы осветительной лампы с угольной нитью накаливания, ввел в баллон лампы, из которой откачан воздух, металлический электрод.
Именно этот опыт привел Эдисона к его единственному фундаментально-научному открытию, которое легло в основу всех электронных ламп и всей электроники до транзисторного периода. Открытое им явление впоследствии получило название термоэлектронной эмиссии.
Внешне опыт Эдисона выглядел довольно просто. К выводу электрода и одному из выводов раскаленной электрическим током нити он подсоединил батарею и гальванометр.
Стрелка гальванометра отклонялась всякий раз, когда к электроду подсоединялся плюс батареи, а к нити – минус. Если полярность менялась, то ток в цепи прекращался.
Эдисон обнародовал этот эффект и получил патент на открытие. Правда, работу свою он, как говорится, до ума не довел и физическую картину явления не объяснил. В это время электрон еще не был открыт, а понятие «термоэлектронная эмиссия», естественно, могло появиться лишь после открытия электрона.
Вот в чем ее суть. В раскаленной металлической нити скорость движения и энергия электронов повышаются настолько, что они отрываются от поверхности нити и свободным потоком устремляются в окружающее ее пространство. Вырывающиеся из нити электроны можно уподобить ракетам, преодолевшим силу земного притяжения. Если к электроду будет присоединен плюс батареи, то электрическое поле внутри баллона между нитью накаливания и электродом устремит к нему электроны. То есть внутри лампы потечет электрический ток.
Поток электронов в вакууме является разновидностью электрического тока. Такой электрический ток в вакууме можно получить, если в сосуд, откуда тщательно откачивается воздух, поместить нагреваемый катод, являющийся источником «испаряющихся» электронов, и анод. Между катодом и анодом создается электрическое поле, сообщающее электронам скорости в определенном направлении.
В трубках телевизоров, радиолампах, установках для плавления металлов электронным лучом, многих других установках электроны движутся в вакууме. Каким образом получают потоки электронов в вакууме? Как управляют этими потоками?
Мы знаем, что в металлах имеются электроны проводимости. Средняя скорость движения этих электронов зависит от температуры металла: она тем больше, чем выше температура. Расположим в вакууме на некотором расстоянии друг от друга два металлических электрода (рис.3) и создадим между ними определенную разность потенциалов. Тока в цепи не будет, что свидетельствует об отсутствии в пространстве между электродами свободных носителей электрического заряда. Следовательно, в металлах имеются свободные электроны, но они удерживаются внутри металла и при обычных температурах практически не могут выходить из него.
Для того чтобы электроны смогли выйти за пределы металла (аналогично вылетанию молекул за пределы жидкости при ее испарении), они должны преодолеть силы электрического притяжения со стороны избытка положительного заряда, возникшего в металле вследствие вылетания электронов, а также сил отталкивания со стороны электронов, которые вылетели ранее и образовали вблизи поверхности металла электронное «облачко». Иначе говоря, чтобы вылететь из металла в вакуум, электрон должен выполнить определённую работу А против этих сил, естественно, разную для разных металлов. Эту работу называют работой выхода электронов из металла. Работа выхода выполняется электронами за счет их кинетической энергии. Поэтому ясно, что медленные электроны вырваться из металла не могут, а вырываются только те, кинетическая энергия которых Ек превышает работу выхода, то есть Ек ≥ А. Выход свободных электронов из металла называют эмиссией электронов.
Для того чтобы существовала эмиссия электронов, необходимо сообщить электронам проводимости металлов кинетическую энергию, достаточную для выполнения работы выхода. В зависимости от способа сообщения электронам необходимой кинетической энергии бывают различные типы электронной эмиссии. Если энергия сообщается электронам проводимости за счет бомбардировки металла извне какими-то иными частицами (электронами, ионами), имеет место вторичная электронная эмиссия. Эмиссия электронов может происходить под влиянием облучения металла светом. В этом случае наблюдается фотоэмиссия, или фотоэлектрический эффект. Возможно также вырывание электронов из металла под действием сильного электрического поля – автоэлектронная эмиссия. Наконец, электроны могут приобретать кинетическую энергию за счет нагревания тела. В этом случае говорят об термоэлектронной эмиссии.
Рассмотрим подробнее явление термоэлектронной эмиссии и его применение.
При обычных температурах мизерное число электронов может обладать кинетической энергией, сравнимой с работой выхода электронов из металла. С повышением температуры число таких электронов растет и при нагревании металла до температур порядка 1000 – 1500 градусов уже значительное число электронов будет иметь энергию, превышающую работу выхода из металла. Именно эти электроны могут вылететь из металла, но они не удаляются от его поверхности, поскольку металл при этом заряжается положительно и притягивает электроны. Поэтому около нагретого металла создается «облачко» электронов. Часть электронов из этого «облачка» возвращается обратно в металл, и в то же время из металла вылетают новые электроны. При этом между электронным «газом» и электронным «облачком» устанавливается динамическое равновесие, когда число электронов, вылетающих за определённое время из металла, сравнивается с числом электронов, которые за то же время возвращаются из «облачка» в металл
Вакуумный диод (двухэлектродная лампа)
Из предыдущего параграфа становится понятным, как сделать так, чтобы в рассмотренной выше цепи (рис.3) протекал постоянный электрический ток. Очевидно, достаточно нагреть один из металлических электродов, а именно электрод, соединённый с отрицательным полюсом источника тока. В этом случае электроны, вылетая из нагретого металла, будут притягиваться к положительно заряженному электроду, и в цепи будет протекать ток. Так мы, наконец, подошли к принципу устройства двухэлектродной лампы (диода), широко применяемой в электра - и радиотехнике.
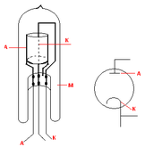
Рис.4
Современный диод состоит из стеклянного или металлического баллона (рис.4), из которого тщательно откачивается воздух. В баллон впаяны два электрода, один из которых (катод) изготовляют в виде нити из тугоплавкого металла, обычно вольфрама, которая может разогреваться от источника тока для создания электронного «облачка» в баллоне. Анод диода чаще всего имеет форму цилиндра, внутри которого по оси расположен накаливаемый катод.
Рассмотренный нами катод – катод прямого накала – применятся редко. Наиболее распространены катоды косвенного подогрева. Они представляют собой полупроводниковый слой, нанесённый на керамическую трубочку. Нагреваются эти катоды с помощью миниатюрной электрической печки (рис.5) – подогревателя. На
(рис.6) показано схематическое изображение диода с катодом прямого (а) и косвенного (б) накала.
а) б)
Рис.5 Рис.6
Характеристики
Тип файла документ
Документы такого типа открываются такими программами, как Microsoft Office Word на компьютерах Windows, Apple Pages на компьютерах Mac, Open Office - бесплатная альтернатива на различных платформах, в том числе Linux. Наиболее простым и современным решением будут Google документы, так как открываются онлайн без скачивания прямо в браузере на любой платформе. Существуют российские качественные аналоги, например от Яндекса.
Будьте внимательны на мобильных устройствах, так как там используются упрощённый функционал даже в официальном приложении от Microsoft, поэтому для просмотра скачивайте PDF-версию. А если нужно редактировать файл, то используйте оригинальный файл.
Файлы такого типа обычно разбиты на страницы, а текст может быть форматированным (жирный, курсив, выбор шрифта, таблицы и т.п.), а также в него можно добавлять изображения. Формат идеально подходит для рефератов, докладов и РПЗ курсовых проектов, которые необходимо распечатать. Кстати перед печатью также сохраняйте файл в PDF, так как принтер может начудить со шрифтами.















