150605 (732786)
Текст из файла
ПРИМЕНЕНИЕ ГИРОСКОПОВ
Гироскопом называется массивное тело, быстро вращающееся вокруг одной из своих главных осей инерции. Изменение вектора момента количества движения гироскопа в результате действия на него внешних сил называется прецессией. Точный расчет скорости прецессии сложен. В первом приближении принимают, что ось вращения гироскопа, мгновенная ось вращения и направление вектора момента количества движения совпадают. Поэтому прецессию можно наблюдать, если следить за движением оси гироскопа.
Существуют гироскопы с тремя степенями свободы (оси возможного вращения) ротора гироскопа обеспечиваются двумя рамками карданова подвеса. Если на такое устройство не действуют внешние возмущения, то ось собственного вращения ротора сохраняет постоянное направление в пространстве. Если же на него действует момент внешней силы, стремящийся повернуть ось собственного вращения, то она начинает вращаться не вокруг направления момента, а вокруг оси, перпендикулярной ему (прецессия).
Р
ис. 1. ГИРОСКОП С ТРЕМЯ СТЕПЕНЯМИ СВОБОДЫ (с двумя рамками карданова подвеса), кинематическая схема. Iy – ось собственного вращения ротора, вдоль которой направлен его кинетический момент; I0 – опорное направление кинетического момента; j – угол отклонения внутренней рамки карданова подвеса; wj – угловая скорость поворота внутренней рамки подвеса (прецессия); Mq – момент возмущающей внешней силы; wq – угловая скорость поворота внешней рамки подвеса (нутация).
В хорошо сбалансированном (астатическом) и достаточно быстро вращающемся гироскопе, установленном на высокосовершенных подшипниках с незначительным трением, момент внешних сил практически отсутствует, так что гироскоп долго сохраняет почти неизменной свою ориентацию в пространстве. Поэтому он может указывать угол поворота основания, на котором закреплен. Именно так французский физик Ж.Фуко (1819–1868) впервые наглядно продемонстрировал вращение Земли. Если же поворот оси гироскопа ограничить пружиной, то при соответствующей установке его, скажем, на летательном аппарате, выполняющем разворот, гироскоп будет деформировать пружину, пока не уравновесится момент внешней силы. В этом случае сила сжатия или растяжения пружины пропорциональна угловой скорости движения летательного аппарата. Таков принцип действия авиационного указателя поворота и многих других гироскопических приборов. Поскольку трение в подшипниках очень мало, для поддержания вращения ротора гироскопа не требуется много энергии. Для приведения его во вращение и для поддержания вращения обычно бывает достаточно маломощного электродвигателя или струи сжатого воздуха.
На рис.1 изображен гироскоп, укрепленный в кардановом подвесе. Наружное кольцо А карданова подвеса может свободно поворачиваться вокруг вертикальной оси аа. Внутреннее кольцо Б связано с кольцом А горизонтальной осью бб. В кольце Б укреплен гироскоп Г, ось вращения которого ев перпендикулярна оси бб. Центр тяжести гироскопа находится на пересечении всех трех осей и при любом повороте колец сохраняет свое положение в пространстве.
Движение гироскопа с закрепленным центром тяжести Описывается уравнением моментов
где М — момент внешних сил, N — момент количества движения гироскопа. Дальнейшие выкладки поясняются векторной схемой рис. 2; расположение гироскопа и обозначения осей те же, что и на рис. 1.
рис.1.
Пусть вначале М =0, а гироскоп вращается с угловой, скоростью , так что N=J (J момент инерции гироскопа относительно оси вращения). Если затем к оси гироскопа приложить вертикальную внешнюю силу Р, то возникнет момент сил М, лежащий в горизонтальной плоскости. Обратившись к уравнению (1) и рис. 2 и 3, нетрудно понять, что векторы М и N ортогональны друг другу, а вектор dN направлен так же, как и М, поэтому сила Р, не изменяя величины вектора /V, заставляет его конец описывать окружность в горизонтальной плоскости. За
рис.2 рис.3
время dt проекция вектора N на горизонтальную плоскость повернется на угол d, причем, как следует из (1) и рис. 2,
где а — угол, который вектор N составляет с вертикалью. Таким образом, угловая скорость Q вращения вектора N равна
или, в векторной форме,
[ N]=M (2`)
Если ось гироскопа горизонтальна (рис. 3), то вместо .(2) получим
=M/N (2``)
В быстро вращающемся гироскопе направление вектора момента количества движения приблизительно совпадает с направлением оси самого гироскопа. Поэтому под действием внешнего момента М ось гироскопа тоже начнет вращаться вокруг вертикальной оси с угловой скоростью , описывая в пространстве конус. Поскольку вектор М поворачивается вместе c N таким образом, что их взаимное расположение не меняется со временем, вращение оси гироскопа при постоянной силе Р оказывается равномерным. Это вращение называется регулярной прецессией, а величина — угловой скоростью прецессии.
Как уже отмечалось выше, приведенные рассуждения справедливы лишь для быстро вращающегося гироскопа, т. е. при
(3)
В- этих условиях можно считать, что NJ, где J — момент инерции гироскопа относительно его собственной 'оси вращения. Тогда
(4)
Скажем несколько слов по поводу неравенства (3). Нетрудно видеть, что вектор полного момента количества движения гироскопа при наличии прецессии содержит две компоненты: J) и J1 (J1 — момент инерции гироскопа относительно его диаметра). Таким образом, вектор полного момента количества движения N, строго говоря, не совпадает по направлению с вектором угловой скорости (с осью гироскопа). Этим несовпадением можно, однако, пренебречь при J1 J. Моменты инерции J и J1в нашем случае оказываются величинами одного порядка; в этом случае условием применимости формулы (4) является неравенство (3), которое. в обычных гироскопах выполняется очень хорошо (величины и отличаются друг от друга по крайней мере на три порядка).
В настоящей работе требуется определить угловую скорость вращения гироскопа по его регулярной прецессии.
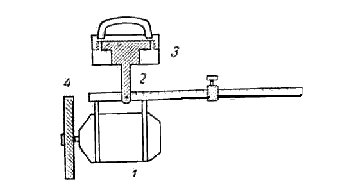
Экспериментальная установка и методика измерения. Гироскоп (рис. 1) представляет собой миниатюрный электромотор 1, подвешенный к горизонтальному стержню. Стержень вместе с гироскопом может вращаться в вертикальной плоскости вокруг оси, укрепленной в вилке 2. Вращение в горизонтальной плоскости происходит вместе с вилкой в подвесе 3. Для увеличения момента инерции мотор снабжен маховиком 4. Мотор питается постоянным током.
Рис.1
Уравновесим гироскоп и включим мотор. Даже при всей возможной тщательности в уравновешивании гироскоп начинает медленно прецессировать, поворачиваясь в горизонтальной плоскости. Это происходит, очевидно, потому, что вертикальная ось вращения гироскопа не проходит точно через его центр масс. Следовательно, момент силы тяжести, а также момент силы трения относительно вертикальной оси отличен от нуля. Уравнение (2) для этого случая можно записать в виде:
где My — момент сил тяжести и трения относительно вертикальной оси.
Заменяя в уравнении (4) угловую скорость периодом, получим:
(5)
Сохраняя скорость вращения гироскопа неизменной (не меняя напряжения, поданного на мотор);
нагрузим свободный конец
стержня гироскопа гирькой весом Pi, подвесив ее на расстоянии, /I от вертикальной оси вращения. Момент силы тяжести примет новое значение:
(6)
но
и следовательно
(7)
Поделив (5) на (7), получим
(8)
Последнее равенство может служить для проверки соотношения (2).
Задание. Произведите измерение скорости прецессии уравновешенного гироскопа при трех положениях (/
груза, отличных от положения равновесия.
Для измерения подайте на обмотки двигателя напряжение 220 В, и выждите 2—3 мин, удерживая стержень в горизонтальном положении. Плавно отпустите стержень и подсчитайте с помощью секундомера время трех полных оборотов стержня. Закончив измерения скорости прецессии, подайте на обмотки мотора напряжение 200 В. Дайте мотору раскрутиться, а затем выключите его и в течение времени, пока движение мотора замедляется, сделайте 3—4 замера периода прецессии. Произведите проверку равенства (8) по данным измерений.
Контрольные вопросы. 1. Какое допущение лежит в основе приближенной теории гироскопа? 2. Какая часть момента инерции осталась неучтенной при расчете момента инерции маховика? Как грубо учесть ее? 3. Какой качественный вывод можно сделать из наблюдения прецессии при выключенном двигателе? 4. Объясните возникновение прецессии детского волчка.
Применение гироскопов.
Гироскоп - основная часть таких приборов, как указатель курса, поворота, горизонта, сторон света, гирокомпас. Внутри этих приборов вращаются со скоростью в несколько десятков тысяч оборотов в минуту небольшие роторы-волчки, укрепленные в кардановом подвесе. Корпус прибора можно поворачивать как угодно, при этом ось вращающегося гироскопа будет сохранять неизменное положение в пространстве.
Большое применение находят гироскопические приборы для автоматического управления движением самолетов и кораблей. Для поддержания заданного курса корабля служит , а самолета - .
В приборе применен свободный гироскоп с большим собственным моментом импульса и малой силой трения в местах карданова подвеса. Направление движения корабля задается направлением оси свободного гироскопа. При любых отклонениях корабля от курса, ось гироскопа сохраняет свое прежнее пространственное направление, а карданов подвес поворачивается относительно корпуса корабля. Поворот рамы карданова подвеса отслеживается при помощи специальных устройств которые выдают команды автоматам на поворот руля и возвращение корабля на заданный курс.
снабжен двумя гироскопами. У одного из них ось располагают вертикально и в таком положении раскручивают гироскоп. Вертикально расположенная ось гироскопа задает горизонтальную плоскость. Ось второго гироскопа располагают горизонтально, ориентируя ее вдоль оси самолета. Этот гироскоп постоянно "знает" курс самолета. Оба гироскопа дают соответствующие команды механизмам управления, поддерживающим полет самолета по заданному курсу.
В настоящее время автопилотами оборудованы все современные самолеты, предназначенные для длительных полетов. Гироскоп служит важной составной частью в системах управления космических аппаратов.
Гироскопы применяют так же в системах навигации. Инерциальная навигация относится к такому способу определения местоположения в пространстве, при котором не используются данные каких-либо внешних источников. Все чувствительные элементы находятся непосредственно на борту транспортного средства. Инерциальные измерители линейных ускорений - акселерометры установлены на так называемой гиростабилизированной платформе. Эта платформа, используя свойства гироскопа - сохранять неизменной ориентацию своей оси в пространстве, обеспечивает строго горизонтальное положение осей чувствительности акселерометров (с точностью до единиц угловых секунд). Измеренные ускорения дважды интегрируются, и, таким образом, получается информация о приращении местоположения подвижного объекта. Объединенные общей задачей определения координат подвижного объекта, гироскопы и акселерометры образуют инерциальную навигационную систему (ИНС). Помимо этой задачи ИНС поставляет информацию об угловой ориентации объекта: углах крена, тангажа и рыскания (курса) и о скорости объекта.
Конструкция современной ИНС вобрала в себя последние достижения точной механики, теории автоматического управления, электроники и вычислительной техники.
Конструктивно ИНС можно разделить на два класса: платформенные и бескарданные. В первых гиростабилизированная платформа реализована физически в виде рамы трехстепенного карданного подвеса. В таких системах используются традиционные гироскопы с вращающимся ротором. Точность таких систем может достигать 1 морской мили (900 м) за час работы. Эти системы входят в состав бортового навигационного оборудования тяжелых самолетов.
Другой класс - бесплатформенные ИНС (БИНС) отличаются тем, что плоскость горизонта в них реализована математически, используя данные гироскопов и акселерометров. В этих системах могут быть использованы лазерные и волоконно-оптические гироскопы. Здесь нет вращающихся частей, а об угловой скорости судят по фазовой задержке лазерного луча пробегающего по замкнутому контуру. Точность этих систем 1 морская миля за час. Они существенно конструктивно проще и дешевле платформенных. По последним данным лучшие образцы БИНС способны показывать точность, сравнимую с точностью платформенных систем.
Характеристики
Тип файла документ
Документы такого типа открываются такими программами, как Microsoft Office Word на компьютерах Windows, Apple Pages на компьютерах Mac, Open Office - бесплатная альтернатива на различных платформах, в том числе Linux. Наиболее простым и современным решением будут Google документы, так как открываются онлайн без скачивания прямо в браузере на любой платформе. Существуют российские качественные аналоги, например от Яндекса.
Будьте внимательны на мобильных устройствах, так как там используются упрощённый функционал даже в официальном приложении от Microsoft, поэтому для просмотра скачивайте PDF-версию. А если нужно редактировать файл, то используйте оригинальный файл.
Файлы такого типа обычно разбиты на страницы, а текст может быть форматированным (жирный, курсив, выбор шрифта, таблицы и т.п.), а также в него можно добавлять изображения. Формат идеально подходит для рефератов, докладов и РПЗ курсовых проектов, которые необходимо распечатать. Кстати перед печатью также сохраняйте файл в PDF, так как принтер может начудить со шрифтами.















