150576 (732775)
Текст из файла
Министерство образования и науки РФ
Федеральное агентство по образованию
Государственное образовательное учреждение
высшего профессионального образования
Иркутский государственный технический университет
Реферат по физике
"Полупроводники"
Иркутск 2010г.
Содержание
Введение
1.Полупроводники n-типа
2.Полупроводники p-типа
3.Носители зарядов
4.Прохождение тока
5. Транзисторные технологии
5.1 Точечные транзисторы
5.2 Эпитаксиальные транзисторы
5.3 Ионная имплантация
5.4 Полевой МОП-транзистор
5.5 ПТ с управляющим p-n-переходом
Список литературы
Введение
Если в полупроводник ввести примесь других веществ, то в дополнение к собственной появляется еще ипримесная электропроводность, которая в зависимости от рода примеси может быть электронной или дырочной.
1. Полупроводники n-типа
Если к четырехвалентному кремнию добавить пятивалентную сурьму (Sb), мышьяк (As) или фосфор (P), то их атомы, взаимодействуя с атомами кремния только четырьмя своими электронами, пятый отдадут в зону проводимости. В результате добавляется некоторое число электронов проводимости. Сам атом примеси при отдаче электрона становится положительным ионом. Примеси, атомы которых отдают электроны, называются донорами.
Полупроводники с преобладанием электронной электропроводности называются электронными полупроводниками или полупроводниками n-типа. Зонная диаграмма такого полупроводника показана на рис. 1.
Рис. 1 - Зонная диаграмма полупроводника n-типа
Энергетические уровни донора расположены немного ниже зоны проводимости, и таким образом в этой зоне появляется дополнительное число электронов, равное числу атомов донора. В самих атомах донора при этом дырки не образуются.
2. Полупроводники p-типа
Если же в четырехвалентный кремний ввести примесь трехвалентного бора (B), индия (In) или алюминия (Al), то их атомы отнимают электроны от атомов кремния, оставляя в наследство у кремния дырки. Такие примеси называютсяакцепторами. Сами атомы акцептора заряжаются отрицательно.
Полупроводники с преобладанием примесной электропроводности называютсядырочными полупроводникамиилиполупроводниками p-типа. Зонная диаграмма такого полупроводника показана на рис. 2:
Рис. 2 Зонная диаграмма полупроводника р-типа
Как видно, энергетические уровни акцепторов располагаются немного выше валентной зоны. На эти уровни легко переходят электроны из валентной зоны, в которой при этом возникают дырки.
В полупроводниковых приборах главным образом используется примесная донорная, либо акцепторная электропроводность. При обычных рабочих температурах в таких полупроводниках все атомы примеси участвуют в создании примесной электропроводности, т. е. каждый атом примеси либо отдает, либо захватывает один электрон.
3. Носители зарядов
Чтобы примесная электропроводность преобладала над собственной, концентрация атомов донорной примеси NД или акцепторной NА должна превышать концентрацию собственных носителей заряда. Носители заряда, концетрация которых в данном полупроводнике преобладает, называются основными. Например, ими являются электроны в полупроводнике n-типа. Неосновными называются носители, концентрация которых меньше, чем основных. Концентрация неосновных носителей в примесном полупроводнике уменьшается во столько раз, во сколько увеличивается концентрация основных носителей. Интересно, что концентрация примеси всего лишь 0,0001% (один атом примеси на четыре с лишним миллиона атомов германия (или кремния)) увеличивает концентрацию основных носителей заряда в 1000 раз ну и соответственно увеличивается проводимость.
4. Прохождение тока
Рассмотрим прохождение тока через полупроводники с разным типом проводимости, для упрощения пренебрежем током основных носителей. На рисунке представлены условные изображения прохождения тока через полупроводники с электронной и дырочной электропроводностью.
Рис. 3 Ток в полупроводниках с электронной и дырочной электропроводностью
На рисунке плюсами и минусами обозначены заряженные атомы кристаллической решетки. Электроны соответственно темные, дырки красные кружочки со стрелочками. Под действием ЭДС источника в проводах, соединяющих полупроводник n-типа с источником, и в самом полупроводнике движутся электроны проводимости. В соединительных проводах полупроводника p-типа по прежнему движутся электроны, а в самом полупроводнике ток следует рассматривать как движение дырок. Электроны с отрицательного полюса поступают в полупроводник и заполняют пришедшие сюда дырки. К положительному полюсу приходят электроны из соседних частей полупроводника, и в этих частях образуются дырки, которые перемещаются от правого края к левому. В электротехнике принято условное направление тока от плюса к минусу. При изучении электронных приборов удобнее рассматривать прохождение тока от минуса к плюсу, что, собственно, и является истинным направлением тока.
5. Транзисторные технологии
5.1 Точечные транзисторы
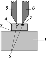
Первым прибором, позволившим получить заметное усиление тока, был точечный транзистор Браттейна и Бардина. Такой транзистор представляет собой кусочек германия n-типа, припаянный к металлическому основанию, которое играет роль базового контакта. Эмиттерным и коллекторным контактами служат две заостренные бронзовые проволочки, прижатые концами к противоположной стороне германиевого элемента (рис. 4). Если расстояние между такими точечными контактами достаточно мало (порядка нескольких десятков микрометров), то можно получить коэффициент усиления тока, превышающий единицу. Удовлетворительный эмиттер можно сделать почти из любого металла, но хороший коллектор обязательно должен содержать примесь n-типа. Коллекторные контакты формируются подачей на коллекторный вывод импульса сильного тока. При этом медь проволочки с большой скоростью диффундирует в материал n-типа коллектора (германий) и в небольшой области превращает его в материал p-типа. Медленно же диффундирующий материал примеси (скажем, фосфор) в непосредственной близости от контакта снова превращает материал в германий n-типа. В результате образуется структура pnpn-транзистора (транзистора с коллекторной ловушкой). Теория, объясняющая работу точечного транзистора образованием pnpn-структуры, оказалась наиболее приемлемой.
Рис. 4. Точечный транзистор, изображенный схематически. Две заостренные проволочки прижаты к полупроводниковому кристаллу n-типа (германий), припаянному к металлическому кристаллодержателю. 1 – латунный или иной кристаллодержатель; 2 – области p-типа; 3 – припой или золотой сплав (контакт базы); 4 – кристалл n-типа; 5 – эмиттерный точечный контакт (бериллиевая бронза); 6 – коллекторный точечный контакт (фосфористая бронза); 7 – область n-типа.
Точечные транзисторы были трудно воспроизводимы при изготовлении и неустойчивы во времени. Когда в 1949 Шокли опубликовал свою теорию транзистора сp-n-переходами, внимание исследователей переключилось на транзисторы с выращенными переходами. Транзисторы с выращенными переходами.Для изготовления первых точечных транзисторов использовался поликристаллический материал с неоднородными характеристиками. Для выращенных переходов требовались германий с содержанием загрязнений менее 1Ч10–8и технология, которая позволяла бы изменять содержание примеси на величину порядка 1Ч10–7.
Зонная очистка. Самый эффективный способ получения кристаллов германия нужной степени чистоты – метод зонной очистки (плавки) – был предложен в начале 1950-х годов У.Пфанном. По этому методу слиток германия, загрязненного примесями, длиной ок. 50 см помещается в графитовой лодочке в длинную горизонтальную кварцевую трубу, которая проходит через ряд нагревательных индукционных катушек. Каждая из них создает узкую зону расплавленного германия, перемешающуюся вдоль слитка со скоростью ок. 25 см/ч. Примеси вместе с движущимися зонами расплава перемещаются к концу слитка, где их собирают и удаляют в отходы. Германий, полученный таким методом, – это, пожалуй, самый чистый из существующих материалов. Далее требует решения вопрос о легировании германия в кристаллической форме.
Вытягивание кристаллов. Способ выращивания кристаллов путем вытягивания из расплава под названием метода Чохральского был известен с 1918, но лишь примерно в 1950 он был успешно применен в технологии полупроводников. Индукционная катушка, окружающая графитовый тигель с чистым германием, наводит токи в графите, нагревая тигель выше точки плавления германия. Все это устройство помещено в прозрачную кварцевую трубу, наполненную инертным газом, как правило аргоном, который защищает поверхность германия от газообразных загрязнений. В расплав вводится примесьn-типа, обычно в виде легированного германия, которая позволяет сформировать коллектор транзистора. Примесь быстро и равномерно распределяется по расплаву. В расплав опускают затравку в виде небольшого монокристалла и медленно вытягивают ее. Германий затвердевает на затравке, и за счет роста в боковом направлении образуется кристалл диаметром ~2,5 см. (Затравку и тигель с расплавом непрерывно вращают для равномерного перемешивания.) Когда образуется кристалл определенного диаметра, его наращивают еще немного и в расплав вводят небольшое количество примесиp-типа. Эта примесь компенсирует первоначальную примесь n-типа и, кроме того, образует новую область кристалла. Материал примеси p-типа быстро и равномерно расходится по расплаву, образуя тонкий слой базы p-типа. После этого еще добавляют примесь n-типа для образования эмиттера, а затем кристалл извлекают из расплава. Хорошие транзисторы получаются, как правило, при отношениях удельного сопротивления добавок примеси примерно 1:10.
Описанный метод плох тем, что из расплава может быть вытянут только один слиток, так как содержание примеси в конечном (эмиттерном) расплаве слишком велико, чтобы он мог служить исходным (коллекторным) расплавом для следующего слоя транзисторов. Но был найден остроумный метод, позволяющий устранить эту трудность.
Примеси накапливаются непосредственно перед перемещающейся в расплаве границей между твердым и жидким материалом. Степень накопления (концентрация) примесей зависит от скорости роста твердой фазы. Если доноры и акцепторы, введенные в жидкую фазу, таковы, что одни из них больше "предпочитают" твердую фазу, чем другие, то при вытягивании кристалла с чередованием ускорения и замедления образуются чередующиеся слои n- иp-типа, и в одном слитке можно получить целый ряд транзисторных слоев.
В результате на большом кристалле образуется полупроводниковаяnpn-структура, пригодная для изготовления транзисторов (сэндвич). Разумеется, таким же способом можно получать и слои pnp-типа. Сэндвич отпиливают от кристалла и разрезают в двух взаимно перпендикулярных направлениях на отдельные транзисторные элементы длиной ок. 3 мм с поперечным сечением 0,6ґ0,6 мм. Эти элементы протравливают для удаления повреждений, возникших при разрезании, и к концам припаивают выводы. Перемещая с помощью микроманипулятора заостренную проволочку толщиной 0,05 мм по поверхности германиевого элемента, электрически определяют участокp-типа проводимости базы и импульсом малого тока приваривают к нему базовый вывод.
У транзисторов с выращенными переходами также имеются существенные недостатки, ограничивающие возможности их применения. Коэффициент усиления таких транзисторов не очень велик. Частота, на которой возможно усиление, ограничивается толщиной базы и при толщине, равной 1 мм, не может быть больше ~5 млн. герц. Транзисторами с выращенными переходами можно пользоваться для передачи низкочастотных сигналов, но они непригодны для цифровых схем и для коммутации. Однако приборы такого типа подтвердили правильность теории и указали путь к более сложным и совершенным транзисторам.
Сплавные плоскостные транзисторы.Сплавной плоскостной транзистор представляет собой тонкую пластинку германия, в которую с разных сторон вплавлены два шарика из индия, образующих эмиттер и коллектор (рис. 5).
Рис. 5. Сплавной плоскостной транзистор типа pnp, показанный схематически в разрезе.
Характеристики
Тип файла документ
Документы такого типа открываются такими программами, как Microsoft Office Word на компьютерах Windows, Apple Pages на компьютерах Mac, Open Office - бесплатная альтернатива на различных платформах, в том числе Linux. Наиболее простым и современным решением будут Google документы, так как открываются онлайн без скачивания прямо в браузере на любой платформе. Существуют российские качественные аналоги, например от Яндекса.
Будьте внимательны на мобильных устройствах, так как там используются упрощённый функционал даже в официальном приложении от Microsoft, поэтому для просмотра скачивайте PDF-версию. А если нужно редактировать файл, то используйте оригинальный файл.
Файлы такого типа обычно разбиты на страницы, а текст может быть форматированным (жирный, курсив, выбор шрифта, таблицы и т.п.), а также в него можно добавлять изображения. Формат идеально подходит для рефератов, докладов и РПЗ курсовых проектов, которые необходимо распечатать. Кстати перед печатью также сохраняйте файл в PDF, так как принтер может начудить со шрифтами.
















