kontakt (731953), страница 6
Текст из файла (страница 6)
Датчик ЯКР-термометра представляет собой ампулу с веществом, помещенную внутрь катушки индуктивности, включенной в контур LC-генератора. При совпадении частоты генератора с частотой ЯКР происходит поглощение энергии от LC-генератора. Для периодического поглощения энергии электромагнитное поле модулируется напряжением низкой частоты. Полученные на контуре генератора периодические изменения напряжения подаются на указатель резонанса и служат сигналом к отсчету частоты генератора частотомером. В качестве термометрического вещества ЯКР используется гранулированный КСIO3, очищенный двойной рекристаллизацией, а частота ЯКРСl35 при 20 °С составляет 28213324 ± 10 Гц. Ширина сигнала ЯКР (полоса частот, в которой происходит поглощение энергии) порядка 500 Гц. Погрешность измерения температуры 10 К составляет ±0,02 К, а при 300 К равна ±0,002 К. Чувствительность в районе 300 К равна 4,8 кГц/К. Зависимость сигнала ЯКР от внешних магнитных полей требует экранировки датчика (магнитное поле Земли вызывает расширение резонансного сигнала на 200 Гц).
Достоинством ЯКР-термометра является его не ограниченная во времени стабильность, так как зависимость частоты от температуры определяется только молекулярными свойствами вещества и остается неизменной для всех образцов данного химического вещества. Недостаток ЯКР-термометров — резкая нелинейность их характеристики, исключающая возможность прямого цифрового отсчета температуры.
Электроакустический частотно-цифровой термометр основан на зависимости скорости распространения звука в газах от их температуры. Датчик электроакустического термометра состоит из цилиндрического резонатора, в котором возбуждаются продольные акустические колебания. Собственная частота трубчатого полуволнового резонатора длиной l с учетом γ = сp/сv и ви-риального коэффициента В, учитывающего отклонение свойств реального газа от свойств идеального, равна
где R = 8,314 Дж/(К-моль) — универсальная газовая постоянная; Θ — измеряемая температура; Р — давление; М — молекулярная масса газа.
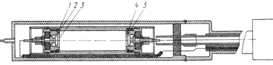
Конструкция датчика частотно-цифрового акустического термометра, разработанного в ЛПИ им. М. И. Калинина, приведена на рис. 13. В полости резонатора l электростатическим возбудителем 2 возбуждаются продольные акустические колебания, которые принимаются аналогичным по конструкции приемником 4. Использование электростатических преобразователей позволяет создать конструкции приемника и возбудителя, работоспособные как при низких (—100 °С), так и при высоких (+400 °С) температурах, обладающие равномерной характеристикой чувствительности в диапазонах частот акустических колебаний от 5 до 15 кГц. Мембраны 3 и 5 соответственно возбудителя 2 и приемника 4 толщиной 4 мкм выполнены из никеля методом электрохимического напыления и имеют собственную частоту около 30 кГц.
Вывод от электрода приемника акустических колебаний окружен эквипотенциальным экраном, потенциал которого специальным электронным устройством непрерывно поддерживается равным потенциалу вывода (см. рис. 12-12). Резонатор включен в цепь положительной обратной связи усилителя, образуя генератор, частота которого определяется измеряемой температурой согласно формуле (23-1). При 20 °С она равна 10 кГц, а при измерении температуры изменяется на 1,8% на 10 К.
Рис. 13
Для обеспечения непосредственного цифрового отсчета измеряемой температуры в Кельвинах устройство цифрового отсчета работает в два такта и осуществляет линеаризацию функции преобразования в виде полинома второй степени:
где T1 — длительность первого такта измерения; fo — опорная образцовая частота; N0 и N1 — постоянные числа, вводимые в измерительное устройство. Выбор значения и знака этих постоянных позволяет изменять соотношение между членами, пропорциональными Θ и
, чем достигается устранение нелинейности шкалы прибора, вызываемой неравенством нуля вириального коэффициента В в выражении (2.1) и другими причинами. Погрешность термометра составляет 0,05 К и менее.
Термометры с кварцевыми резонаторами используются для измерения температур от 10 до 500 К, но наиболее высокую точность обеспечивают в области от 193 до 473 К (от —80 до +200 °С). Их принцип действия основан на зависимости от температуры Θ модуля упругости, а следовательно, и собственной частоты кварцевых пластин, описываемой соотношением
где N — постоянная; h — толщина кварцевой пластины; а, Ь и с — коэффициенты, зависящие от азимута и широты среза. Так, в тонких кварцевых пластинах (при h == 0,2 мм), вырезанных перпендикулярно оси Y и возбуждаемых сдвигом по толщине, а = 92,5∙10-8 1 /К, b = 57,5∙10-6 1/К2, с = 5,8∙10-12 1/К3, N = 1950кГц мм, а термочувствительность составляет 1000 Гц/К.
Для линеаризации температурной зависимости (т. е. получения b = с = 0) используется двойной поворот Y — среза (широта 11,166°, азимут 9,39°), однако практически удается лишь снизить b и с до значений b = 6∙10-11 1/К2 и c = 2,4∙10-13 1/К3 при а = 35,4 1/К. Собственная частота при h = 0,1 мм получается равной 28,203 МГц, а термочувствительность 1000 Гц/К.
Датчик кварцевого термометра представляет собой кристаллический резонатор, выполненный в виде тонкого диска или линзы, помещенный в герметизирующий кожух, заполненный для лучшей теплопроводности гелием при давлении 0,1 мм рт. ст. (диаметр кожуха 7—10 мм). В центральной части линзы или диска нанесены золотые электроды возбуждения, а держатели (выводы) располагаются на периферии.
Точность и воспроизводимость показаний определяются главным образом изменением частоты и добротностью резонатора, понижающейся при эксплуатации вследствие развития микротрещин от периодического нагрева и охлаждения.
Измеряемая схема кварцевого термометра состоит из датчика, включенного в цепь положительной обратной связи усилителя, и частотомера. При добротности датчика до 3∙106 погрешность измерения температуры равна 10‑3 К. Существенным недостатком кварцевых термометров является их инерционность, составляющая несколько секунд, и нестабильность работы при Θ > 100 °С из-за возрастающей невоспроизводимости (более 10-7).
2.3. МЕТОДЫ КОНТАКТНЫХ ЭЛЕКТРОИЗМЕРЕНИЙ
СРЕДНИХ И ВЫСОКИХ ТЕМПЕРАТУР С ПОМОЩЬЮ ТЕРМОПАР
Средними в термометрии считаются температуры от 500 (начало свечения) до 1600 °С (белое каление), а высокими— от 1600 до 2500°С, до которых удается распространить термоэлектрический метод с использованием высокотемпературных, жаростойких материалов.
П
ринцип термоэлектрического метода и основные свойства термоэлектродов были рассмотрены выше в п. 1. Основным вопросом при использовании этого метода для измерения средних и высоких температур является защита термоэлектродов от разрушающего химического и термического воздействия среды. Для этого термопары снабжаются защитной арматурой в виде чехлов, трубок или колпачков из огнеупорных материалов. Главное требование к защитной оболочке — высокая плотность строения и температурная стойкость. При измерении температур ниже 1300 °С используются фарфоровые чехлы, при более высоких температурах — колпачки из тугоплавких материалов (такие, как корунд, окиси алюминия, бериллия или тория), заполненные инертным газом.
Зависимость срока службы термопар от пористости защитной оболочки (вещества) Пв показана на рис. 14.
При измерении температуры поверхности тел особенную трудность составляет контакт рабочего спая термопары с поверхностью нагретого тела. Для улучшения контакта используются термопары, рабочий спай которых выполнен в виде ленты или пластины. Такая конфигурация рабочего спая при деформации позволяет воспроизводить поверхность объекта измерения. Рис. 14
Для-измерения температур до 2000—2500 °С используются вольфрамовые или иридиевые термопары. Особенностью их применения является измерение в вакууме, в инертной или восстановительной средах, так как на вэздухе они окисляются. Чувствительность воль-фрамо-молибденовой термопары составляет 7 мкВ/К, а вольфрамо-рениевой 13 мкВ/К.
В условиях высоких температур применяются термопары из огнеупорных материалов (пары карбид титана — графит,карбид циркония — борид циркония и ди-силицид молибдена — дисилицид вольфрама). В таких термопарах внутри цилиндрического электрода (диаметр около 15 мм) имеется второй электрод—стержень, соединенный с первым электродом на одном конце трубки. Чувствительность термопар из огнеупорных материалов достигает 70 мкВ/К, однако их применение ограничено инертными и восстановительными средами.
Для измерения температуры расплавленного металла термопарами из благородных металлов используется метод, заключающийся в погружении термопары в металл на время, безопасное для ее работоспособности. При этом термопара на короткое время (0,4—0,6 с) погружается в контролируемую среду, и измеряется скорость нарастания температуры рабочего спая. Зная зависимость между скоростью нагрева термопары (ее тепловую инерционность) и температурной среды, можно рассчитать значение измеряемой температуры. Этот метод применяется для измерения температуры расплавленного металла (2000—2500 °С) и газового потока (1800 °С).
Список использованной литературы
-
Электрические измерения неэлектрических величин. Под ред. Новицкого. Изд. 6-е, перераб. и доп. Л.:»Энергия»,1983.
-
Материалы сети InteNet (о современном состоянии дел в данной области).















