kontakt (731953), страница 4
Текст из файла (страница 4)
Измерительные цепи. Отличия измерительных цепей для терморезисторов от обычных цепей омметров заключаются в более узком диапазоне изменения измеряемого сопротивления и в необходимости учета сопротивлений проводов, соединяющих термометр сопротивления с измерительной цепью. Если используется простейшая двухпроводная соединительная линия, то может возникнуть погрешность от температурного изменения сопротивления этой линии. При применении высокоомных термометров (например, полупроводниковых) эта погрешность может быть пренебрежимо мала, однако в большинстве практических случаев, когда используются стандартные термометры сопротивления, ее приходится принимать во внимание.
Е
сли, например, сопротивление медной линии равно 5 Ом и используется термометр с Ro = 53 Ом, то изменение температуры линии на 10° С приведет к изменению показаний прибора примерно на ГС. Для уменьшения погрешности от изменения сопротивления соединительной линии часто применяют трехпроводную линию. При этом термометр подключают к мостовой цепи так, чтобы два провода линии вошли в разные плечи моста, а третий оказался подключенным последовательно с источником питания или указателем. На рис. 10, а показана схема моста, содержащего термометр сопротивления, присоединенный трехпроводной линией.
Исключить влияние сопротивлений соединительной линии можно, используя четырехпроводное включение терморезистора, как это показано на рис. 10 а, б, и вольтметр с большим входным сопротивлением для измерения падения напряжения UΘ = IR на терморезисторе. Ток через терморезистор должен быть задан, поэтому "и такой схеме включения терморезистор питают от стабилизатора тока. Возможно также построение мостовых цепей с четырехпроводным подключением термометра.
1.4. ПРОМЫШЛЕННЫЕ ТЕРМОПАРЫ И ТЕРМОРЕЗИСТОРЫ
Основные параметры термопар промышленного типа:
Таблица 5
| Обозначение термопары | Обазначение градуировкит | Материалы | Пределы измерения при длительном применении, °СС | Верхний предел измерения при кратковременном применении, °С | |
| от | до | ||||
| ТПП | ПП-1 | Платинородий (10% родия)— платина | —20 | 1300 | 1600 |
| ТПР | ПР-30/6 | Платинородий (30% родия)— платинородий (6% родия) | 300 | 1600 | 1800 |
| ТХА | ХА | Хромель — алюмель | —50 | 1000 | 1300 |
| ТХК | ХК | Хромель — копель | —50 | 600 | 800 |
Для измерения температур ниже — 50° С могут найти применение специальные термопары, например медь — константан (до ~- 270° С), медь — копель (до — 200° С) и т. д. Для измерения температур выше 1300—1800° С изготавливаются термопары на основе тугоплавких металлов: иридий—ренийиридий (до 2100° С), вольфрам—рений (до 2500° С), на основе карбидов переходных металлов — титана, циркония, ниобия, талия, гафния (теоретически до 3000—3500° С), на основе углеродистых и графитовых волокон.
Градуировочные характеристики термопар основных типов приведены в табл. 6. В этой таблице указана температура рабочего спая Θ в градусах Цельсия и приведены величины термо-э.д.с. соответствующих термопар в милливольтах при температуре свободных концов 0° С.
Таблица 6
| Обозначение градуировки | Температура рабочего спая в, °С | |||||||||||||
| -50 | —20 | 0 | 20 | 40 | 60 | 80 | 100 | 150 | 200 | |||||
| ХК | —3,11 | —1,27 | 0 | 1,31 | 2,66 | 4,05 | 5,48 | 6,95 | 10,69 | 14,66 | ||||
| ХА | —1,86 | —0,77 | 0 | 0,80 | 1,61 | 2,43 | 3,26 | 4,10 | 6,13 | 8,13 | ||||
| ПП-1 | — | — | 0 | 0,112 | 0,234 | 0,364 | 0,500 | 0,643 | 1,026 | 1,436 | ||||
| Обозначение градуировки | Температура рабочего спая Θ, оС | |||||||||||||
| 300 | 400 | 500 | 600 | 8OO | 1000 | 1200 | 1400 | 1600 | 1800 | |||||
| хк | 22,9 | 31,49 | 40,16 | 49,02 | — | — | — | — | — | — | ||||
| ХА | 12,2 | 16,40 | 20,65 | 24,91 | 33,32 | 41,26 | 48,87 | — | — | — | ||||
| ПП-1 | 2,31 | 3,249 | 4,218 | 5,220 | 7,325 | 9,564 | 11,923 | 14,338 | 16,717 | — | ||||
| ПР-30/6 | — | — | — | — | — | 4,913 | 6,902 | 9,109 | 11,471 | 13,927 | ||||
Допускаются отклонения реальных термо-э.д.с. от значений, приведенных в табл. 6, на величины, указанные в табл. 7.
Таблица 7
| Обозначение градуировки | Диапазон температур, °С | Наибольшее допустимое отклонение термо- э. д. с., мВ |
| ПП-1 | От —20 до +300 | 0,01 |
| От +300 до +1600 | 0,01 +2,5∙10-5(Θ – 300) | |
| ПР-30/6 | От +300 до +1800 | 0,01 +3,3∙10-6(Θ - 300) |
| ХА | От —50 до +300 | 0,16 |
| От +300 до +1300 | 0,16+2,0. 10-4(Θ -300) | |
| ХК | От —50 до +300 | 0,20 |
| От +300 до +800 | 0,20+6,0∙10-4(Θ-300) |
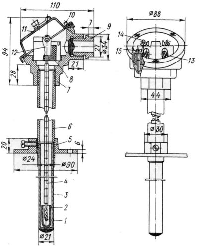
Конструкция термопары промышленного типа показана на рис. 11. Это термопара с термоэлектродами из неблагородных металлов, расположенными в составной защитной трубе с подвижным фланцем для ее крепления. Рабочий спай 1 термопары изолирован от трубы фарфоровым наконечником 2. Термоэлектроды изолированы бусами 4. Защитная труба состоит из рабочего 3 и нерабочего 6 участков. Передвижной фланец 5 крепится к трубе винтом. Головка термопары имеет литой корпус 7 с крышкой 11, закрепленной винтами 10; В головке укреплены фарфоровые колодки 8 (винтами 15) с «плавающими» (незакрепленными) зажимами 12, которые позволяют термоэлектродам удлиняться под воздействием температуры без возникновения механических напряжений, ведущих к быстрому разрушению термоэлектродов. Термоэлектроды крепятся к этим зажимам винтами 13, а соединительные провода — винтами 14. Эти провода проходят через штуцер 9 с асбестовым уплотнением.
О
сновным вопросом при конструировании термопар промышленного типа является выбор материала защитной трубы (арматуры) и изоляции. Защитная арматура термопары должна оградить ее от воздействия горячих, химически агрессивных газов, быстро разрушающих термопару. Поэтому арматура должна быть газонепроницаемой, хорошо проводящей тепло, механически стойкой и жароупорной. Кроме того, при нагревании она не должна выделять газов или паров, вредных для термоэлектродов.
При температурах, не превышающих 600° С, обычно применяют стальные трубы без шва, при . Рис. 11 более высоких температурах . (до 1100° С)— защитные трубы из легированных сталей. Для уменьшения стоимости защитных труб их часто выполняют составными (сварными) из двух частей: рабочего участка трубы из нержавеющей стали и нерабочего из обычной стали.
Для термопар из благородных металлов часто применяют неметаллические трубы (кварцевые, фарфоровые и т. д.), однако такие трубы механически непрочны и дороги. Фарфоровые трубы надлежащего состава можно использовать при температурах до 1300— 1400°С.
Применяя защитные трубы из карбида кремния и графита, необходимо учитывать, что при нагревании они выделяют восстанавливающие газы; поэтому помещаемые в них термопары (особенно термопары на платиновой основе) должны быть защищены дополнительно газонепроницаемым чехлом.
В качестве изоляции термоэлектродов друг от друга применяют асбест до 300° С, кварцевые трубки или бусы до 1000° С, фарфоровые трубки или бусы до 1300—1400° С. Для лабораторных термопар, используемых при измерении низких температур, применяют также теплостойкую резину до 150° С, шелк до 100—120° С, эмаль до 150—200 °С.
Промышленные проволочные терморезисторы (термометры сопротивления) выпускаются в России двух типов — платиновые (ТСП) и медные (ТСМ). Характеристики их точности приведены в табл. 8.
Таблица 8
| Тип | Диапазон температур. °С | Класс ТОЧПОС1И | Формула для подсчета погрешности (в Кельвинах) |
| ТСП | От —200 до 0 От 0 до +650 | I | + (0,15+3,0∙103 |Θ|) ± (0,15+4,5∙103 Θ) |
| От —200 до 0 От 0 до +650 | II | ± (0,30 + 4,5∙10-3 |Θ|) | |
| ТСМ | От —50 до +180 | II | ± (0,30+3,5∙10-3|Θ|) |
| III | ± (0,30 + 6,0∙10-3 |Θ|) |
Конструктивно промышленные термометры сопротивления выполняются в виде чувствительных элементов, помещаемых в защитные корпуса. Чувствительный элемент для термометров ТСП представляет собой бифилярную платиновую спираль, укрепленную на слюдяном каркасе или в капиллярных керамических трубках, заполненных дополнительно керамическим порошком. Выводы для такого элемента обычно выполняются из серебряной проволоки или ленты. Для термометров ТСМ чувствительный элемент изготавливается в виде бифилярной или однопроводной катушки, намотанной бескаркасно или на пластмассовом каркасе.
Чувствительные элементы термометров, как правило, помещаются в тонкостенные металлические гильзы и герметизируются. Защитные корпуса термометров сопротивления обычно выполняются такими же, как и для термопар (см. рис. 14-17), — в виде защитной трубы с резьбовым штуцером и головкой, к зажимам которой терморезистор может быть присоединен двумя, тремя или че














