Abstract (731911)
Текст из файла
30
2 Принцип действия и рабочие параметры МРС
Магнетронные распылительные системы получили свое название от СВЧ приборов М-типа (магнетронных устройств), хотя, кроме наличия скрещенных электрического и магнитного полей ничего общего с ними не имеют. Магнетронные системы относятся к системам распыления диодного типа, в которых распыление материала происходит за счет бомбардировки поверхности мишени ионами рабочего газа, образующимся в газе аномально тлеющего разряда. Высокая скорость распыления, характерная для этих систем, достигается увеличением плотности ионного тока за счет локализации плазмы у распыляемой поверхности мишени с помощью сильного поперечного магнитного поля [1, 3].
Принцип действия магнетронной распылительной системы показан на рисунке 1.1. Основными элементами устройства являются катод-мишень, анод и магнитная система. Силовые линии магнитного поля замыкаются между полюсами магнитной системы. Поверхность мишени, расположенная между местами входа и выхода силовых линий магнитного поля, интенсивно распыляется и имеет вид замкнутой дорожки, геометрия которой определяется формой полюсов магнитной системы.
При подаче постоянного напряжения между мишенью (отрицательный потенциал) и анодом (положительный или отрицательный потенциал) возникает неоднородное электрическое поле и возбуждает аномальный тлеющий разряд. Наличие замкнутого магнитного поля у распыляемой поверхности мишени позволяет локализовать плазму разряда непосредственно у мишени. Эмитированные с катода под действием ионной бомбардировки электроны захватываются магнитным полем, им сообщается сложное циклоидальное движение по замкнутым траекториям у поверхности мишени. Электроны оказываются как бы в ловушке, создаваемой с одной стороны магнитным полем, возвращаемым электроны на катод, а с другой стороны – поверхностью мишени, отталкивающей электроны. Электроны циклируют в этой ловушке до тех пор, пока не произойдет несколько ионизирующих стол-
Рисунок 2.1 – Схема магнетронной распылительной системы с плоской мишенью: 1 – магнитная система; 2 – катод-мишень; 3 – силовая линия магнитного поля; 4 – зона наибольшей эрозии поверхности катода; 5 – траектория движения электрона
кновений с атомами рабочего газа, в результате которых электрон потеряет полученную от электрического поля энергию. Таким образом, большая часть энергии электрона, прежде чем он попадет на анод, используется на ионизацию и возбуждение, что значительно увеличивает эффективность процесса ионизации и приводит к возрастанию концентрации положительных ионов у поверхности катода. Что в свою очередь обусловливает увеличение интенсивности ионной бомбардировки поверхности мишени и значительный рост скорости распыления, а следовательно, и скорости осаждения пленки. Средние скорости осаждения различных материалов с помощью магнетронной распылительной системы, имеющей плоскую дисковую мишень диаметром 150 мм, при мощности источника 4 кВт и расположении подложки на расстоянии 60 мм от источника приведены в таблице 2.1.
Таблица 2.1 – Скорости осаждения различных материалов [3]
| Материал | Si | Ti | Ta | W | Nb | Mo | Al | Cr | Pt | Cu | Au | Ag |
| Ск.осажд., нм/с | 7 | 8 | 8 | 8 | 8,5 | 12 | 13 | 17 | 21 | 30 | 37 | 44 |
Следует отметить, что плазма разряда существует только в области магнитной ловушки в непосредственной близости от мишени и ее форма определяется геометрией и величиной магнитного поля.
Одним из преимуществ магнетронных распылительных систем является также то обстоятельство, что захват вторичных электронов магнитной ловушкой у поверхности мишени препятствует интенсивному перегреву подложки. Что в свою очередь позволяет увеличить скорость распыления материалов, а следовательно, и их осаждения. Источниками нагрева подложки в этих системах служат энергия конденсации распыленных атомов, кинетическая энергия осаждаемых атомов, энергия отраженных от мишени нейтрализованных ионов, а также излучение плазмы. Энергия конденсации составляет 3 – 9 эВ/атом, кинетическая энергия в зависимости от распыляемого материала – от 5 (для алюминия) до 20 эВ/атом (для вольфрама), а излучение плазмы 2 – 10 эВ/атом. Суммарная тепловая энергия, рассеиваемая на подложке, и температура подложки для различных материалов, осаждаемых в цилиндрической МРС, приведены в таблице 2.2.
Таблица 2.2 – Значения тепловой энергии и температуры подложки для различных материалов [2]
| Материал | Al | Cu | Ta | Cr | Au | Mo | W |
| Тепловая энергия, эВ/атом | 13 | 17 | 20 | 20 | 23 | 47 | 73 |
| Темп. подл., С | 79 | 110 | 97 | 118 | 106 | 163 | 202 |
Во многих случаях нагрев подложки в магнетронных системах сравним, а при испарении тугоплавких материалов даже ниже, чем при методе термического испарения. Это дает возможность использовать магнетронные распылительные системы для нанесения пленок на подложки из материала с низкой термостойкостью.
Основные рабочие характеристики магнетронных распылительных систем – напряжение на электродах, ток разряда, плотность тока на мишени и удельная мощность, величина индукции магнитного поля и рабочее давление. От величины и стабильности перечисленных параметров, которые взаимно связаны между собой, зависят стабильность разряда и воспроизводимость процесса нанесения тонких пленок. Магнетронные системы относятся к низковольтным системам распыления. Напряжение питания не превышает 1000 В постоянного тока. Рабочее напряжение составляет 200 – 700 В, на мишень обычно подается отрицательный потенциал, а на анод – нулевой потенциал. Однако в магнетронных системах с плоским катодом для более полного улавливания вторичных электронов рекомендуется на анод подавать небольшое положительное смещение (40 – 50 В) [4]. В некоторых системах предусматривается подача отрицательного смещения на подложку (100 В) для реализации распыления со смещением [16].
Ток разряда зависит от многих факторов, например от рабочего напряжения, давления и рабочего газа, индукции магнитного поля, конфигурации магнетронной системы, распыляемого материала, и определяется мощностью источника питания. Плотность тока на мишень очень велика и для системы с полым цилиндрическим катодом составляет в среднем 80 мА/см2, с коническим катодом – 160 мА/см2, а с плоским катодом – 200 мА/см2, причем максимальные плотности тока в центральной части распыления могут быть значительно выше. Значения удельной мощности в магнетронных системах с полым цилиндрическим катодом достигают 40 Вт/см2, а с плоским катодом – 100 Вт/см2. Предельная допустимая мощность определяется условиями охлаждения мишени теплопроводностью распыляемого материала .
Магнетронная распылительная система может работать в диапазоне давлений от 10-2 до 1 Па и выше. Важнейшими параметрами, во многом определяющими характер разряда в ней, являются геометрия и величина магнитного поля, индукция которого у поверхности мишени 0,03 – 0,1 Тл.
Одной из основных характеристик разряда является Вольтамперная характеристика (ВАХ). Существенное влияние на нее оказывают рабочее давление (p) и индукция магнитного поля (B) [3, 6, 10].
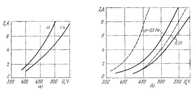
Рисунок 2.2 – Вольтамперные характеристики магнетронных систем распыления: а) с алюминиевой мишенью размером 4060 см при постоянном магнитном поле 0,03 Тл и различном давлении аргона; б) с алюминиевой мишенью диаметром 160 мм при постоянном давлении аргона 0,3 Па и различной индукции магнитного поля[3]
С уменьшением p ВАХ сдвигаются в область больших рабочих давлений и приближаются к линейной зависимости (смотри рисунок 2.2а). Аналогичным образом влияет и индукция магнитного поля (смотри рисунок 2.2б). Близкие к линейной зависимости наблюдаются при больших значениях В. На ВАХ разряда влияют также материал мишени (смотри рисунок 2.3а) и ее форма, которая изменяется по мере распыления материала. Образование выемки в плоской мишени приводит к сдвигу ВАХ в область меньших рабочих напряжений из-за улучшения условий локализации плазмы, причем этот сдвиг растет с увеличением p (смотри рисунок 2.3б). В этом случае определяющим является не только геометрический фактор, но и переход зоны разряда в область более сильного магнитного поля по мере распыления мишени.
Рисунок 2.3 – Вольтамперные характеристики магнетронной системы распыления: а) с плоской мишенью из различных металлов при постоянном давлении 0,5 Па и индукции магнитного поля 0,08 Тл; б) с конической новой (сплошные линии) и эродированной (штриховые линии) мишенями при индукции магнитного поля 0,06 Тл и различном давлении
Рисунок 2.4 – Зависимости скорости осаждения различных материалов от мощности разряда (а) и мощности разряда от рабочего давления при различной индукции магнитного поля (б)
Важным параметром разряда, определяющим скорость распыления, является электрическая мощность, причем скорость осаждения пленки почти линейно зависит от приложенной мощности. (смотри рисунок 2.4а) [3]. В свою очередь мощность разряда при постоянной мощности источника зависит от p и В. В достаточно слабых магнитных полях существует такое значение p, при котором на разряде выделяется максимальная мощность (смотри рисунок 2.4б). С ростом В ( до 0.04 Тл) при низких значениях p мощность разряда сначала резко возрастает, затем замедляется и при В=0,080,1 Тл становится максимальной. При достаточно высоком p максимальная мощность достигается уже при В=0, 040,06 Тл (смотри рисунок 2.5а).
Рисунок 2.5 – Зависимости мощности разряда от индукции магнитного поля при различном давлении аргона (а); и напряжения зажигания от давления при постоянной индукции магнитного поля 0,06 Тл (кривая 1) и индукции магнитного поля при постоянном давлении (кривая 2) (б)
Напряжение зажигания в магнетронной системе значительно ниже, чем в обычных диодных системах. Это объясняется тем, что еще до наложения электрического поля электроны, всегда присутствующие в рабочей камере и обеспечивающие первые акты ионизации в развитии лавинного пробоя газового промежутка , захватываются магнитной ловушкой, вследствие чего их концентрация в этой области оказывается выше, чем в объеме камеры, что и способствует возникновению разряда при более низких напряжениях. Исследования [3, 6, 12] показали, что зависимости напряжения зажигания от давления рабочего газа и индукций магнитного поля аналогичны (смотри рисунок 2.5б). Сходство приведенных зависимостей указывает на тот факт, что магнитное поле и рабочее давление оказывают одинаковое влияние на возникновение и развитие разряда в МРС. Как видно из приведенных выше зависимостей, эффективность работы магнетронной распылительной системы зависит от правильного выбора рабочих параметров, а стабильность этих параметров определяет постоянство скорости осаждения пленки и воспроизводимость свойств получаемых пленок. Необходимая скорость осаждения пленки в магнетронной системе с достаточной точностью можно поддерживаться за счет постоянства таких параметров процесса, как ток разряда или подводимая мощность. Эти функции может выполнять источник питания, благодаря чему управление конечной толщиной пленки достигается, если задается время осаждения. Однако можно управлять ростом пленки с помощью прямых методов контроля, например с помощью кварцевого датчика, поскольку плазма в магнетронной системе локализована и не воздействует на датчик. [1]. Как показывает практика, для обеспечения воспроизводимости и стабильности процесса напыления пленки ток разряда необходимо поддерживать с точностью 2%, а при стабилизации процесса по мощности разряда точность ее поддержания составляет 20 Вт в диапазоне регулирования от 0 до 10 кВт. При этом рабочее давление должно быть постоянным (отклонение не должно превышать 5%).
3 Конструкции магнетронных распылительных систем
Характеристики
Тип файла документ
Документы такого типа открываются такими программами, как Microsoft Office Word на компьютерах Windows, Apple Pages на компьютерах Mac, Open Office - бесплатная альтернатива на различных платформах, в том числе Linux. Наиболее простым и современным решением будут Google документы, так как открываются онлайн без скачивания прямо в браузере на любой платформе. Существуют российские качественные аналоги, например от Яндекса.
Будьте внимательны на мобильных устройствах, так как там используются упрощённый функционал даже в официальном приложении от Microsoft, поэтому для просмотра скачивайте PDF-версию. А если нужно редактировать файл, то используйте оригинальный файл.
Файлы такого типа обычно разбиты на страницы, а текст может быть форматированным (жирный, курсив, выбор шрифта, таблицы и т.п.), а также в него можно добавлять изображения. Формат идеально подходит для рефератов, докладов и РПЗ курсовых проектов, которые необходимо распечатать. Кстати перед печатью также сохраняйте файл в PDF, так как принтер может начудить со шрифтами.















