Abstract (731911), страница 3
Текст из файла (страница 3)
В последнее время эта проблема решена и для плоских мишеней, конструктивные варианты которых приведены на рисунках 3.3 д - з. В отличие от традиционной плоской формы (рисунок 3.3, д), мишень выполняется с утолщением в области зоны эрозии (рисунок 3.3, е) а в держателе делается канавка аналогичной формы. Такая мишень в процессе распыления обеспечивает хороший тепловой контакт за счет ее термического расширения. Помимо хорошего охлаждения при этом достигается и более высокий коэффициент использования распыляемого материала по сравнению с равнотолщинной мишенью. Еще выше этот эффект для мишеней, показанных на рисунках 3.3, ж и з (до 70% и 90% соответственно).
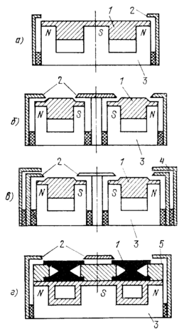
Типичные конструкции магнетронных распылительных систем с плоскими мишенями приведены на рисунке 3.4. В простейшем случае (рисунок 3.4, а) система включает в себя магнитный блок, вмонтированный в водоохлаждаемый корпус, являющийся одновременно и держателем мишени. Вокруг корпуса располагается анод в виде цилиндра или медной трубки с проточной водой, установленный по периметру мишени вблизи ее. Анод обычно заземляется. Для более полного устранения бомбардировки подложек вторичными электронами катодный блок окружается заземленным экраном, а по периметру мишени и в центре устанавливаются изолированные аноды, имеющие небольшой (50 В) положительный потенциал относительно земли. Аноды перекрывают места входа и выхода силовых линий магнитного поля и улавливают рассеиваемые вдоль силовых линий вторичные электроны, оставляя открытой только ту область мишени, где силовые линии параллельны распыляемой поверхности и скорость распыления максимальна (рисунок 3.4, б). Экранирование слабо распыляемых участков мишени улучшает свойства получаемых пленок [1, 3, 4]. При изготовлении чувствительных к радиационным воздействиям приборов целесообразно дополнительно улавливать летящие в сторону подложки ионы, которые, например, могут образоваться в результате ионизации распыленных атомов мишени. В этом
Рисунок 3.4 – Конструкции магнетронных распылительных систем с плоскими мишенями: 1 – мишень; 2 – анод; 3 – магнитная система; 4 – дополнительный электрод; 5 – полюсные наконечники
случае над поверхностью положительного анода устанавливается дополнительный отрицательный электрод (рис. 3.4, в). На рисунке 3.4, г представлена конструкция магнетронной распылительной системы, использующей мишень специальной формы — четыре составные части из стержней с заданным профилем сечения, расположенных вдоль прямоугольной зоны распыления. Каждая часть крепится к центру и по периметру брусками из магнитного материала, которые являются в данном случае полюсными наконечниками, выводящими силовые линии магнитного поля от полюсов магнитной системы на поверхность мишени. Это позволяет распылять достаточно толстые мишени [3, 4]. После распыления половины материала мишени она переворачивается и производится распыление остальной части, что обеспечивает повышение коэффициента использования материала мишени до 90%.
Типичная конструкция магнетронной распылительной системы с конической мишенью показана на рисунке 3.5, а. Магнитная система с держателем и мишенью помещается в заземленный корпус, который играет роль дополнительного анода. Основной анод располагается в центре, и на него может быть подано положительное смещение. Недостатком такой магнетронной системы является сложность изготовления магнитной системы, обеспечивающей фокусировку силовых линий магнитного поля между полюсными наконечниками. Обычно наблюдаются искажение и рассеяние силовых линий у верхнего внешнего полюсного наконечника, что затрудняет локализацию плазмы в центральной наиболее толстой части мишени.
Рисунок 3.5 – Конструкции магнетронных распылительных систем с конической мишенью: 1 – мишень; 2 – анод; 3 – магнитная систенма; 4 – водоохлаждаемый держатель; 5 – экран; 6 – дополнительный магнит
Положительного результата можно достигнуть, используя дополнительную магнитную систему, расположенную над верхним полюсным наконечником непосредственно под дополнительным анодом (рисунок 3.5, б).
Для магнитной системы могут быть использованы электромагниты, однако это влечет за собой увеличение габаритов, необходимость стабилизированного электропитания постоянным током и электрической изоляции в условиях интенсивного водяного охлаждения. Поэтому в промышленных условиях целесообразно применять постоянные магниты, а электромагниты — при экспериментальных исследованиях для выбора оптимальной величины магнитного поля применительно к конкретным условиям и конструкции магнетронной распылительной системы.
Рисунок 3.6 – Конструкции магнетронных распылительных систем с переменным магнитным полем
С коэффициентом использования распыляемого материала тесно связана проблема равномерности распыления мишени. Выше были показаны пути повышения коэффициента использования распыляемого материала выбором мишени определенной геометрии. Однако существует еще один путь — применение сканирующего магнитного поля. Существуют два способа перемещения магнитного поля по поверхности мишени: электромагнитный и механический. В первом случае вокруг мишени устанавливают электромагнит, который создает дополнительное переменное магнитное поле, перпендикулярное поверхности мишени (рисунок 3.6, а). При неподвижном постоянном поле арочной конфигурации профиль зоны распыления имеет вид, показанный на рисунке 3.6, б. Использование дополнительного переменного поля производит деформацию основного поля: вершина арки начинает смещаться от средней линии, в результате чего происходит симметричное смещение зоны максимальной эрозии, и профиль распыления становится почти прямоугольным (рисунок 3.6, в). Равномерность распыления мишени можно значительно увеличить, используя многоячеистую электромагнитную систему, питающуюся от сети переменного тока (рисунок 3.6, г).
Форма и размеры магнетронных систем могут быть самыми разнообразными. Имеются сведения о конструкциях с мишенями длинной 2 м и шириной до 20 см [14]. При использовании мишеней большой площади с целью более равномерного их распыления создается несколько зон распыления. Например, известны системы с дисковыми мишенями диаметром более 60 см, в которых создавалось до шести зон распыления в виде концентрических колец, при этом коэффициент использования материал мишени достигал 80%. Для повышения производительности в установках непрерывного действия можно применять прямоугольные магнетронные системы с несколькими зонами распыления, каждая из которых будет представлять собой линейные источники распыляемого материала, поперек которых перемещается подложка. Естественно, что увеличение распыляемой площади требует приложения больших мощностей, и на упомянутую выше мишень размером 20020 см, используемую при производстве зеркал и в автомобильной промышленности, нужно подавать мощность до 100 кВт.
4 Заключение
В данной работе представлен обзор основных конструкций магнетронных систем распыления, некоторых конструктивных элементов (мишеней, магнитных систем и другое), описаны основные параметры установок и приведены типичные характеристики магнетронов. Так же рассмотрены сравнительные характеристики различных конструкций магнетронных систем распыления, их достоинства и недостатки. На примере планарной конструкции магнетронной системы показаны типичные характеристики разряда: вольтамперные характеристики, зависимости мощности разряда и влияние на них магнитного поля и давления рабочего газа. Представлены характеристики материалов мишеней. Кроме того, описывается принцип работы магнетрона, поведение заряженных частиц в плазме разряда, а так же распределение магнитных и электрических полей.
В заключение отметим, что потенциальные возможности применения магнетронных распылительных систем в настоящее время еще далеко не полностью выяснены и реализованы. Но уже сейчас применение магнетронных установок весьма широко. Они заняли прочные позиции в технологиях изготовления полупроводниковых приборов и интегральных микросхем. В частности, применяются для формирования контактов к различным полупроводниковым и пассивным элементам схем. Это изготовление резистивных пленок гибридных микросхем, магнитных пленок, низкоомных контактов и многое другое.
Кроме того, они широко используются в промышленных установках для нанесения тонкопленочных покрытий. Это – всевозможные фильтрующие, отражающие, защитные и теплосберегающие оптические покрытия на стеклах.
Магнетронные системы нашли широкое применение в вопросах плазмохимической обработки, травления и получения материалов.
Несмотря на всю широту использования магнетронных систем распыления, нельзя утверждать то, что к настоящему моменту они являются достаточно хорошо изученными. Все большее практическое применение МРС значительно опередило разработку теории и методику их расчета.
5 Conclusion
The paper presents review of basic magnetron sputtering system constructions, some construction elements (targets, magnetic systems and so on), key parameters and typical magnetron characteristics are described as well. Besides, the dependences of the working space parameters on the magnetron discharge plasma are presented. Moreover, comparative characteristics of the different magnetron sputtering systems constructions and their advantages and limitations are described. For example, the critical discharge characteristics of the planar magnetron are given, such as volt-ampere and the power discharge characteristics and influence on those ones the magnetic field and process gas pressure values. The study also presents characteristics of material, the targets made. Then, there are described the magnetron operations, behavior of the species in discharge plasma, magnetic and electric fields distributions.
In conclusion it is necessary to point out, that potential possibilities of the magnetron sputtering system applications have not been studied quite sufficiently. But by now the magnetron sputtering system usage is already prevailing. Those ones are widely used in the manufacturing of semi-conductor devices and integrated circuits. In particular, those systems are engaged for the interconnection formatting to the semi-conductor and passive elements of the circuits, the hybrid microcircuit resistive films producing, magnetic films, low-resistance contacts and so on.
Moreover the magnetron sputtering systems are widely used in commercial plants for thin film deposition, namely for various color filtering, reflective, protective and low-emission optical glass coatings.
Magnetron systems have found their application for solving the problems regarding to the plasmochemistry processing, etching and producing the materials.
Though magnetron system is widely used, at present, one cannot say that, they are studied sufficiently. The wide propagation of the magnetron sputtering system passed ahead of theoretical background of the problem.
Список использованных источников
1 Francis F. Chen. Industrial applications of low – temperatures plasma physics. Phys. Plasmas vol. 2, n. 6, June 1995, pp. 2164 – 2175.
2 N. Singh, R. Kist, H. Thiemann. Experimental and numerical studies on potential distributions in a plasma. Pl. Phys., vol. 22, 1980, pp. 695 – 707.
3 Плазменные ускорители/Под общей редакцией Л. А Арцимовича. – М.: Машиностроение, 1973.
4 Данилин Б. С., Неволин В. К., Сырчин В. К. Исследование магнетронных систем ионного распыления материалов. – Электронная техника. Сер. Микроэлектронника, 1977, вып. 3 (69), с. 37 – 44.
5 Данилин Б. С., Сырчин В. К. Магнетронные распылительные системы. – М.: Радио и связь, 1982.
6 L. Vriens. Energy balance in low – pressure gas discharges. J. Appl. Phys. vol. 44, n. 9, September 1973, pp. 3980 – 3989.
7 J. –P. Boeuf. A two – dimensional model of dc glow discharges. J. Appl. Phys. vol. 63, n. 5, March 1998, pp. 1342 – 1349.
8 S. Maniv. Generalization of the model for I – V characteristics of dc sputtering discharges. J. Appl. Phys. vol. 59, n. 1, January 1986, pp. 66 – 70.















