148433 (730714), страница 4
Текст из файла (страница 4)
Для увеличения жесткости тележки в горизонтальной плоскости, т. е. повышения связанности элементов тележки в настоящее время применяют перекрестные анкерные связи, а также продольные тяги, дополнительно связывающие боковые рамы с надрессорной балкой. Хотя введение таких связей усложняет конструкцию и повышает стоимость тележки, но они значительно улучшают динамические свойства экипажа и существенно снижают боковой износ рельсов, что способствует сокращению эксплуатационных расходов на тягу поездов.
Одним из способов улучшения динамических свойств грузовых вагонов является совершенствование конструкций боковых опор кузова (опорных скользунов). В последнее время все большее применение получают упруго-роликовые скользуны, улучшающие вписывание вагона в кривую и в то же время ограничивающие виляние тележки, а следовательно боковую качку вагона в прямых участках пути.
Конструктивные решения реализованы в конструкции новой трехэлементной тележки 18-1711, разработанной в результате совместной работы ученых Украины (Институт технической механики) и России (ФГУП «Научно-внедренческий центр «Вагоны»). В ней наряду с диагональными связями применены фрикционные клинья пространственного действия, а также адаптеры и полиуретано-металлические упругие элементы связи колесных пар с боковыми рамами, способствующие увеличению суммарного статического прогиба системы рессорного подвешивания в целом. При этом передача нагрузки от упругого элемента на буксу осуществляется, как и в тележке Барбера, через адаптер.
Как отмечают разработчики проекта, основные преимущества тележки 18-1711 перед тележкой 18-100, подтвержденные результатами ходовых испытаний, заключаются в значительном улучшении показателей безопасности движения груженого и порожнего вагонов, повышении коэффициента запаса усталостной прочности боковой рамы, снижении бокового воздействия на путь при аналогичном вертикальном уменьшении износа колесных пар.
Острая необходимость снижения воздействия грузового вагона на путь требует снижения его необрессоренной массы. Этому направлению соответствуют французская тележка У25 и тележки английских железных дорог СТР и ТР 25 с гидравлическим демпфером, тележка железных дорог КНР модели 75р, а также отечественная тележка, подкатываемая под фитинговые платформы. Необходимо отметить существенное влияние суровых климатических условий на эффективность работы гидравлических гасителей при почти экстремальных продолжительных низких температурах.
Другим примером совершенствования конструкции тележки грузового вагона может служить разработанная в Германии тележка LEILA-DG. Использованные в ней резиновые клиновые рессоры имеют прогрессивную характеристику, зависящую от нагрузки и обеспечивающую устойчивость хода вагона как с грузом, так и в порожнем состоянии. Расположение упругих элементов в буксовых узлах между колесами, а не снаружи позволяет увеличить так называемую «приведенную длину маятника», уменьшив за счет этого собственную частоту боковых колебаний, и, следовательно, улучшить плавность хода вагона. Особенностью этой тележки является применение диагональных связей для поперечного соединения колесных пар, что заметно улучшило ходовые качества как на прямолинейных участках, так и в кривых, и способствует снижению износа гребней колес и рельсов.
Одним их существенных недостатков тележек с Н-образной рамой по сравнению с трехэлементными, имеющими литые боковины, является высокая жесткость на кручение, что при недостаточной гибкости рессор, установленных между буксой и рамой, снижает ее устойчивость против схода с рельсов. Этот факт давно установлен в результате натурных испытаний тележки, разработанной Уралвагонзаводом около тридцати лет назад.
Недостатки традиционного рессорного подвешивания железнодорожных экипажей, основанного на применении линейных упругих элементов в комбинации с фрикционными или гидравлическими гасителями колебаний, стали особенно очевидны в последнее время, когда из-за значительного износа подвижного состава и рельсов железные дороги несут значительные издержки, обусловленные многочисленными ограничениями скорости, сходами вагонов с рельсов и другими более тяжелыми последствиями.
Здесь следует отметить, что в основе упомянутых отечественных разработок, в том числе и тележки 18-1 94-1, созданной УрГУПСом совместно с ФГУП «Уралвагонзавод», лежит морально устаревшая модель 18-100. К исключению из этого ряда следует отнести конструкцию тележки, «дружественной по отношению к пути», разработанную МИИТом, и тележку, обеспечивающую возможность радиальной установки колесных пар в кривой, созданную ВНИКТИ.
Известно, что оптимальной жесткостью рессорного подвешивания экипажа при действии кинематического возмущения со стороны пути является наименьшая. Современные требования к качеству виброзащиты не во всех случаях удается обеспечить при помощи типовых пассивных систем виброизоляции, основанных на применении упругих элементов и гасителей колебаний, так как эти системы не всегда могут обеспечить желаемый переходный процесс и стабилизацию объекта в диапазоне частот входных возмущений. Назрела необходимость в разработке активных систем виброзащиты экипажей с использованием теории регуляторов, поглощающих возмущения.
Существует целый класс систем виброзащиты объектов, основанных на принципе компенсации внешних возмущений, состоящих из двух каналов передачи возмущений и не требующих дополнительных внешних источников. Динамическая реакция основного упругого элемента системы рессорного подвешивания уравновешивается направленной ей навстречу силой, формируемой дополнительным упругим элементом второго компенсирующего канала передачи возмущений. При наличии некоторой малой положительной результирующей жесткости, необ- ходимой для обеспечения устойчивости системы, такую систему называют квазиинвариантной. Возникающую при этом боковую валкость кузова можно ограничить посредством стабилизаторов боковой качки, что и применяется на скоростных зарубежных локомотивах.
Важными достоинствами систем, основанных на принципе компенсаций внешних возмущений, являются:
-
возможность регулирования динамической жесткости упругого подвеса в широких пределах и повышения демпфирования в системе вплоть до критического за счет изменения соотношения инерционных и упругих параметров системы;
-
обеспечение малой динамической жесткости и большой несущей способности при меньших, чем у обычной подвески, габаритах (мягкие тяжелонагруженные опоры типа «Flexicoil» имеют большие габариты, что и приводит к необходимости создания двух ступеней обрессоривания локомотивов, а также и пассажирских вагонов модели 68 — 4072).
Экспериментальные исследования динамических свойств одного из созданных на этом принципе образцов системы виброзащиты объекта, проведенные в Институте машиноведения РАН, подтверждают достоверность теоретических исследований. Например, установлено, что максимальная эффективность виброзащиты объекта наблюдается на частоте 6,3 Гц и составляет 26 дБ, т.е. ускорения на выходе по сравнению с этим же показателем на входе в систему уменьшаются в 20 раз.
Главная трудность на пути создания системы обрессоривания грузового вагона, которую удалось преодолеть - значительная разность статических прогибов в груженом и порожнем состояниях с учетом жестких габаритных, прочностных и функциональных ограничений, накладываемых на значения конструктивных параметров системы виброзащиты. Расчеты показывают, что в груженом состоянии при движении по неровностям пути, зафиксированным ВНИИЖТом, вполне возможно достижение собственной частоты колебаний подпрыгивания вагона 1 Гц, а в порожнем соответственно до значений 1,3 — 1,5 Гц. Для серийного порожнего полувагона модели 12-196 этот параметр равен 5,5 Гц.
6. Модернизация вагонов – хопперов
В последние годы увеличилось количество разнообразных моделей вагонов-хопперов для перевозки зерна, цемента, технического углерода и других грузов.
Известны варианты модернизации внутренней полости кузова для перевозки сыпучих грузов с устройством подпружиненного в центральной части дна, которое при загрузке опущено. Кузов в этом случае вмещает максимальный объем груза, а при выгрузке в момент открытия выгрузочных люков центральная подпружиненная часть дна поднимается и образовавшийся конус способствует стабильному истечению груза из вагона. Анализ эксплуатационных данных таких бункеров показал, что максимально наклоненные к горизонтали стенки способствуют стабильному истечению груза. Однако внедрение во внутреннюю часть кузова подвижных элементов не является эффективным, так как затруднен доступ к ним в случае неисправности.
ОАО «Промжелдортранс» совместно с Самарской государственной академией путей сообщения (СамГАПС) получен охранный документ на бункер вагона с вертикально стоящей внутри кузова продольной стенкой, в основании которой расположена хребтовая балка. Кузов также разделен поперечными перегородками, ограничивающими между собой разгрузочные люки. Для загрузки по всей площади вся конструкция из перегородок не достигает крыши, а заканчивается в основании наклона торцевых стенок. Такое расположение перегородок улучшает схему истечения, поскольку внутреннее трение замещается внешним по двум ограждающим поверхностям, которые в среднем на треть ниже. Следует отметить, что эффективной формой поверхности стенок бункеров является не плоскость, а вогнутая по гиперболической кривой поверхность.
Сибирским государственным университетом путей сообщения предложен бункерный вагон для сыпучих грузов, в котором повышение эффективности разгрузки достигается исключением сводообразования за счет применения криволинейных направляющих, жестко закрепленных на каждой боковой стенке бункера в зоне нижней части каждой торцевой стенки. Они выполнены из двух гибких элементов, которые сопряжены между собой посредством поперечного вала, закрепленного на раме вагона, и смонтированы с возможностью перемещения по направляющим. Однако в вагоностроении гиперболические поверхности стенок бункеров не нашли применения из-за сложности изготовления.
7. Новый вагон со съемным кузовом
В международных грузовых перевозках в странах Северной Америки и Европы (кроме стран СНГ) получили широкое распространение вагоны-платформы с обменными кузовами. Технология использования таких кузовов, имеющих много общего с контейнерами, предусматривает их механизированную перегрузку с вагона на вагон при следовании по линиям разной колеи, а также снятие с рамы и размещение на площадках грузовых дворов в ожидании разгрузки или дальнейшего следования на раме другого вагона.
Съемные кузова вагонов имеют как определенные преимущества перед контейнерами, так и недостатки. В частности, съемные кузова не приспособлены для многоярусного складирования, не обеспечивают погрузку и выгрузку грузов на существующих погрузочно-выгрузочных комплексах, имеют меньшую из-за особенностей конструктивной схемы полезную грузовместимость в сравнении со стандартными кузовами.
Предложена конструктивная схема нового вагона со съемным кузовом, которая, с одной стороны, обеспечивает стандартные процедуры погрузки и выгрузки грузов на существующих погрузочно-выгрузочных комплексах и, с другой стороны, позволяет быстро снимать и складировать съемные кузова в несколько ярусов, что значительно сокращает простой вагонов под погрузкой и выгрузкой, а также в ремонте.
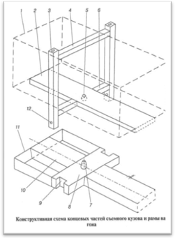
Конструктивная схема вагона со съемным кузовом приведена на рисунке. Новизна данной схемы подтверждена патентом.
Рисунок 3 – Конструктивная схема концевых частей съемного кузова и рамы вагона
Сущность предложенного транспортного средства состоит в следующем. Стандартный кузов 1 вагона снабжается продольной опорной балкой 2. В каждой концевой части кузова в районе шкворневой балки устраивается несущая конструкция, состоящая из вертикальных стоек 3 с замками 12 в нижней части, верхней поперечной балки 4 и нижней поперечной балки 6; по оси продольной опорной балки в месте нахождения несущей конструкции устанавливается конусная воронка-ловитель 5. Соответственно этому в каждой концевой части рамы вагона, где расположены оконечность обычной хребтовой балки 10 с торцовым брусом 11, на концах шкворневой балки 8 выполняются выемки 9, а в ее средней части монтируется конусный фиксатор 7. Кроме того, рама вагона снабжается стандартным автосцепным, тормозным оборудованием и устанавливается на типовую ходовую часть (тележки).
Монтаж и демонтаж съемного кузова вагона выполняют следующим образом.
При монтаже кузов вагона с помощью подъемного устройства, закрепляемого на верхних концах вертикальных стоек, поднимается над рамой и ориентируется так, чтобы нижние концы стоек находились над выемками шкворневых балок. Затем кузов опускается на шкворневые балки рамы, нижние концы стоек входят в выемки шкворневых балок и запираются замками; точность взаимного расположения сопрягающихся узлов обеспечивается конусными фиксаторами и воронками-ловителями.
При демонтаже кузова действия выполняются в обратной последовательности: отпираются замки, с помощью подъемного устройства, закрепляемого на верхних частях вертикальных стоек, кузов поднимается над рамой вагона и транспортируется на площадку складирования, где устанавливается на нижние опорные части вертикальных стоек, длина которых увеличена, чтобы обеспечить сохранность нижних выгрузочных устройств кузова при установке его на площадке.
















