148406 (730705), страница 2
Текст из файла (страница 2)
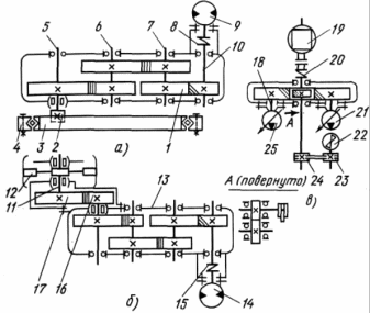
В екскаваторів ЭО-5123 механізм повороту (Рис.2.2, а) приводиться від низькомоментного гідромотора 9, що через муфту 8 з'єднаний із ведучим валом 10 триступінчастого редуктора. Жорстко закріплені на валах 5-7, 10 шестерні редуктора передають обертання вихідному валу 5 і потім шестерні 2, також жорстко закріпленої на консольній частині вала 5. При обертанні шестірня 2 оббігає зубчастий вінець 3 опорно-поворотні кола 4, завдяки чому платформа повертається щодо ходового візка екскаватора.
Напрямок обертання вихідного вала гідромотора 9 залежить від того, у який канал гідромотора подається під тиском робоча рідина. При цьому відбувається обертання платформи за годинниковою або проти годинникової стрілки на необмежений кут.
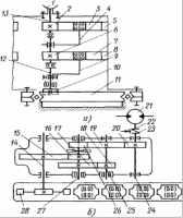
Рис. 2.1 Розміщення складальних одиниць на поворотній платформі екскаваторів ЭО-5123 (а) і ЭО-6122А (б)
1,3,5 - гідророзподільники, 2 - гідромотор механізма повороту, 4 - центральний колектор, 6 - бак фільтрів, 7 - гідробак, 8 - оливоохолоджувач, 9 - насоси, 10 - противага, 11-дизель, 12-поворотна платформа, 13 - електродвигуни силової установки, 14 - трубопроводи, 15 - носос системи керування, 16-гідроциліндр стріли, 17 - установка радіатора
Рис.2.2 Кинематична схема привода механизмів зкскаватора ЭО-5123
а - механизму повороту, б - механизму пересування, в - насосів силової установки; 1 - редуктор механизму повороту, 2 - шестерня, 3 - зубчастий венець, 4 - опорно-поворотне коло, 5-7, 10 - вали редуктора, 8, 15,20 - з’єднувальні муфти редуктора, 9 - гідромотор механизму поворота, 11 - вал ведучого колеса гусеничної стрічки, 12 - ведуче колесо, 13 - редуктор механизму пересування, 14 - гидромотор механизму пересування, 16, 17 - шестерня бортової передачи, 18 - раздатковий редуктор,19 - дизель, 21, 25 - насоси силової установки, 22 - вентилятор оливоохолоджувача, 23, 24 - шківи клинопасової передачі.
Кожна гусенична стрічка механізму пересування приводиться від окремого низькомоментного гідромотора 14 (Рис.2.2 б), з'єднаного через муфту 15 з ведучим валом триступінчастого редуктора 13. Через шестерні й вали редуктора обертання передається бортовій передачі, що складається із двох шестерень 16 і 17, і далі валу 11 на ведуче колесо 12 привода гусеничної стрічки. Гальмування ходового візка під час роботи або стоянки здійснюється як гідромоторами механізму пересування, так і двома нормально замкнутими гальмами дискового типу. Для розвороту екскаватора включають або один з гідромоторів механізму пересування, або обидва гідромотори, але в різні сторони.
Привод насосів 21 і 25 (Рис.2.2, в) силові установки, а також вентилятора 22 оливоохолоджувача виробляється від дизеля 19 через сполучну муфту 20 і роздавальний редуктор 18, а також через клинопасову передачу 24-23.
Рис.2.3 Кінематична схема привода механізмів екскаватора ЭО-6122А
а - механізму повороту, б - механізму пересування;
1 - гідромотор механізму повороту, 2, 3, 5-8 - шестерні редуктора механізму повороту, 4, 9, 12, 13 - вали редуктора механізму повороту, 10 - шестірня,
11 - зубчастий вінець, 14, 24, 25, 27 - вали редуктора механізму пересування,
15-20 - шестерні редуктора механізму пересування, 21 - гідромотор механізму пересування, 22 - гальмо, 23 - сполучна муфта, 26 - шестірня із крильчаткою,
28 - ведуче колесо.
Елементи робочого устаткування (стріла, рукоять і ковш прямої й зворотньої лопат) приводяться за допомогою гідроциліндрів. Керують всіма механізмами екскаватора з кабіни машиніста за допомогою сервокерування. У екскаватора ЭО-6122А (Рис.2.3) механізм повороту приводиться від низькомоментного гідромотора 1 через планетарний двоступінчастий редуктор із шестірнями 2, 3, 5-8 і валами 13, 4, 9, 12, що опираються на підшипники кочення. Шестірня 10 перебуває в постійному зачепленні із зубчастим вінцем 11 опорно-поворотного кола. При включенні гідромотора 1 обертання шестерень і валів редуктора передається шестерні 10, а через неї - поворотній платформі (поворот у ту або іншу сторону).
Приводи гусеничної стрічки екскаваторів ЭО-6122А и ЭО-5123 аналогічні. Від низькомоментного гідромотора 21, з'єднаного через муфту 23 із ведучим валом 24 редуктора механізму пересування, обертання через три пари шестерень 15-20 і вали 24, 25, 27 і 14 передається ведучому колесу 28 привода гусеничної стрічки.
Гальмують ходовий візок як за допомогою гідромоторів механізму пересування, так і двома нормально замкнутими гальмами 22 колодкового типу.
Для змащування деталей редуктора механізму пересування на валу 27 вільно встановлена шестірня 26 із крильчаткою, при обертанні вона розприскує оливу, залиту в корпус редуктора. [5].
3. Технічне обслуговування
Надійну роботу екскаватора, а також тривалий строк його служби забезпечують своєчасним проведенням технічного обслуговування. Основним його призначенням є зниження інтенсивності зношування деталей, виявлення й попередження відмов і ушкоджень шляхом своєчасного виконання мастильних, кріпильних, регулювальних і інших робіт.
Роботи з технічного обслуговування є профілактичними, тому їх варто виконувати в суворо встановлені інструкцією для експлуатації строки.
Строки технічного обслуговування відповідно до зазначеної періодичності визначають за показниками лічильника мотогодин двигуна.
Система технічного обслуговування заснована на обов'язковому плануванні, підготовці й проведенні відповідних видів технічного обслуговування кожної машини, що перебуває в експлуатації, із заданою послідовністю й періодичністю.
Експлуатація екскаватора, що не пройшов технічне обслуговування у встановлений термін, не допускається.
При технічному обслуговуванні екскаватора керуються технічним описом і інструкцією для експлуатації екскаватора, інструкцією для експлуатації двигуна й інструкціями (паспортами) на складальні одиниці, що поставляються до екскаватора із заводів-виготовлювачів.
При проведенні технічного обслуговування охороняють гідросистему від забруднення.
Щозмінне технічне обслуговування (ЩО) виконують регулярно перед початком зміни, під час перерв або по закінченні роботи екскаватора.
Періодичні технічні обслуговування виконують після встановленого числа мотогодин роботи екскаватора, вони розрізняються обсягом і составом робіт. Перше технічне обслуговування (ТО-1) проводять через кожні 50 мото-г роботи екскаваторів, ТО-2 - через кожні 250 мото-г.
Два рази в рік, при підготовці екскаваторів до експлуатації в зимових і літніх умовах, проводять сезонне технічне обслуговування, що пристосовують до ТО-2 або ТО-1.
Як правило, технічні обслуговування проводять без розбирання складальних одиниць і заміни деталей. Скорочення обсягу обов'язкового технічного обслуговування для виробництва ремонтних і інших робіт не допускається.
ЩО й ТО-1 проводять, як правило, безпосередньо на місці експлуатації машини, використовуючи пересувні засоби, які повинні бути укомплектовані відповідним технологічним устаткуванням і оснащенням, ТО-2 - у закритому приміщенні або в інших умовах, що забезпечують захист місць, що обслуговуються, від запилювання й атмосферних опадів.
Перед проведенням технічного обслуговування місця, що підлягають обслуговуванню, очищають від бруду.
Состав робіт, що підлягають виконанню при технічному обслуговуванні, виявляється при огляді екскаватора й коректується з урахуванням умов роботи (температури, вологості повітря, категорії ґрунту, запилюваності).
Паливну апаратуру двигуна й запобіжні клапани гідроприводу регулюють кваліфіковані фахівці, при цьому використовують засоби технологічного оснащення. Результати регулювання із вказівкою дати й підпису відповідальних осіб заносять відповідно у формуляр двигуна й формуляр екскаватора.
Не рекомендується:
працювати на екскаваторі при виявленні яких-небудь несправностей;
до витікання гарантійного строку розкривати пломби запобіжних клапанів, насосів і іншого встаткування без представника заводу-виготовлювача.
До складу робіт з технічного обслуговування екскаватора входять: очищення, мийка й змазування; огляд і контроль технічного стану складальних одиниць; заправлення машини; перевірка працездатності окремих складальних одиниць, систем, робітника встаткування й машини в цілому.
ЩО.1. Протирають стекла, прилади освітлення й сигналізації й при необхідності очищають екскаватор від бруду. При цьому штоки гідроциліндрів повинні бути всунуті, ківш опущений, а двигун заглушений.
Для очищення від бруду елементів гусеничної стрічки виконують наступне:
установлюють робоче встаткування поперек гусеничного ходу;
ківш обпирається на ґрунт на рівні стоянки (при слабкому ґрунті ківш установлюють на тверду подкладку);
включають гідроциліндри стріли на опускання в насосному режимі до відриву найближчої до робочого встаткування гусениці від ґрунту на 200-300 мм;
включають рукоятку привода ходу вивішеної (піднятої) гусениці й провертають її в реверсивному режимі 3-5 разів.
Перевіряють комплектність складових частин екскаваторів.
Перевіряють герметичність системи живлення, мастильної й охолодження дизеля, картерів редукторів, гідросистем екскаваторів. Течі не допускаються. При необхідності усувають виявлені підтікання палива, води, оливи, робочої рідини. Перед початком роботи з гідронасосів випускають повітря.
Виконують операції ЩО дизеля відповідно до інструкції.
Перевіряють рівень робочої рідини в гідробаку (повинен бути не нижче 2/з оглядові стекла) і, при необхідності дозаправляють його насосом накачування.
Відповідно до карти змащення змазують елементи робочого встаткування.
По закінченні робочої зміни відключають "масу" акумуляторної батареї й зливають воду із системи охолодження дизеля при температурі охолодного повітря нижче + 5°C.
Протягом першого місяця роботи на новому екскаваторі щозмінно підтягують болти кріплення опорно-поворотного кола платформи й ходової рами.
ТО-1.1 Очищають і при необхідності миють екскаватор.
Виконують ЩО.
Проводять ТО-1 дизеля відповідно до інструкції.
Перевіряють технічний стан складальних одиниць екскаватора і їхнє зовнішнє кріплення:
при виявленні вм'ятин і здуття трубопроводи негайно заміняють;
кріпильні з'єднання повинні бути надійно застопорені й не мати люфтів;
особливу увагу обертають на кріплення силової установки, гідромоторів, редукторів механізму пересування, гідронасосів, трубопроводів. При необхідності підтягують деталі кріплення.
Перевіряють стан і натяг паса вентилятора оливоохолоджувача. При необхідності регулюють натяг паса, прогин якого повинен перебувати в межах 8-8,5 мм за умови натискання на середину галузі із зусиллям 43 Н для нового паса й 32 Н для приробленого.
Перевіряють і, якщо потрібно, підтягують кріплення опорно-поворотного кола до платформи й ходової рами. Момент затягування болтів динамометричним ключем повинен бути не менш 800 і не більше 850 Нм.
Перевіряють натяг гусеничної стрічки, провисання якої між підтримуючими котками повинне бути 50-60 мм.
Перевіряють стан затискачів, вентиляційних отворів, пробок, рівень електроліту в акумуляторній батареї (висота електроліту над захисними ґратами повинна бути 10-15 мм). При необхідності очищають поверхню батареї й виводи, що окислилися, і наконечники проводів від пилу й бруду. Поверхню батареї протирають чистою ганчіркою, змоченою в 10% -ному розчині водяного розчину аміаку або соди. Змазують затискачі й наконечники технічним вазеліном, очищають вентиляційні отвори, доливають дистильовану воду.
У холодну пору року щоб уникнути замерзання воду наливають безпосередньо перед запуском двигуна для швидкого перемішування її з електролітом.
Змазують механізми екскаватора відповідно до таблиці й картою змащення. Опорно-поворотний пристрій змащують шприцюванням через чотири прес-маслянки до появи змащення між напівобоймами й вінцем по всьому периметрі. Кількість змащення, що подається у внутрішню порожнину опори, повинне бути не менш 1,2 кг.
Перевіряють рівень оливи в редукторах механізмів повороту, пересування, роздавальному редукторі й при необхідності доливають оливу. Рівень оливи повинен доходити до контрольних пробок, у редукторі повороту - його перевіряють по щупу.
Перевіряють фіксацію пальців гусеничних стрічок, кріплення осей опорних і підтримуючих котків і інших елементів гусеничного ходу.
Перевіряють механізми керування муфтою й частоту обертання вала двигуна й при необхідності регулюють їх.
Перевіряють кріплення зубів ковша, при необхідності закріплюють їх.
Перевіряють стопоріння осей робочого встаткування й затягування кріплення вушок гідроциліндрів.
Перевіряють, чи немає підтікання охолодної рідини в з'єднаннях трубопроводів і шлангів пускового підігрівника й підсмоктування повітря в паливну систему. З'єднання паливопроводів повинні бути герметичними, не допускається підсмоктування повітря в паливну систему підігрівника. Наявність підсмоктування повітря й течі в паливній системі підігрівника приведе до ненадійної роботи й довільної зупинки підігрівника.
Оглядають гайки й болти кріплення підігрівника й насосного агрегату й очищають всі прилади від пилу й бруду.
Перевіряють кріплення редуктора повороту до платформи. При ослабленні затягування болтів і клинів їх закріплюють.
Через кожні 100 мото-г беруть пробу 0,5-1 л робочої рідини з гідробака, при необхідності заміняють робочу рідину в гідросистемі.
















