148385 (730700)
Текст из файла
Министерство образования Российской Федерации
Санкт-Петербургский государственный университет
сервиса и экономики
Автотранспортные средства
Реферат
Тема: «Назначение и типы автомобильных двигателей»
Выполнил студент 3-ого курса
Специальность 100.101
Иванов В.И.
Санкт-Петербург 2010
Содержание
Введение
1. Основные типы двигателей
2. Основные определения и параметры двигателя
3. Рабочий процесс (цикл) четырехтактных двигателей
4. Порядок работы двигателя
5. Внешняя скоростная характеристика двигателя
Список использованной литературы
Введение
Двигатель автомобиля представляет собой совокупность механизмов и систем, преобразующих тепловую энергию сгорающего в его цилиндрах топлива в механическую. На современных автомобилях наибольшее распространение получили поршневые двигатели внутреннего сгорания, в которых расширяющиеся при сгорании топлива газы воздействуют на движущиеся в их цилиндрах поршни. Бензиновые двигатели работают на легком жидком топливе — бензине, который получают из нефти. Дизельные двигатели работают на тяжелом жидком топливе — дизельном, получаемом также из нефти. Из указанных двигателей наиболее мощными являются бензиновые, наиболее экономичными и экологичными — дизели, имеющие более высокий коэффициент полезного действия. Так, при равных условиях расход топлива у дизелей на 25 ...30% меньше, чем у бензиновых двигателей.
У двигателей с внешним смесеобразованием горючая смесь готовится вне цилиндров, в специальном приборе — карбюраторе (карбюраторные двигатели) или во впускном трубопроводе (двигатели с впрыском бензина) и поступает в цилиндры в готовом виде. У двигателей с внутренним смесеобразованием (дизели, двигатели с непосредственным впрыском бензина) приготовление горючей смеси производится непосредственно в цилиндрах путем впрыска в них топлива. В двигателях без наддува наполнение цилиндров осуществляется за счет вакуума, создаваемого в цилиндрах при движений поршней из верхнего крайнего положения в нижнее. В двигателях с наддувом горючая смесь поступает в цилиндры под давлением, которое создается компрессором. Принудительное воспламенение горючей смеси от электрической искры, возникающей в свечах зажигания, производится в бензиновых двигателях, а воспламенение от сжатия (самовоспламенение) — в дизелях.
1. Основные типы двигателей
Применяемые на автомобилях двигатели подразделяются на типы по различным признакам (рис.1).
Рис.1. Основные типы автомобильных двигателей, классифицированных по различным признакам
У четырехтактных двигателей полный рабочий процесс (цикл) совершается за четыре такта (впуск, сжатие, рабочий ход, выпуск), которые последовательно повторяются при работе двигателей. Рядные двигатели имеют цилиндры, расположенные в один ряд вертикально или под углом 20...40° к вертикали. V-образные двигатели имеют два ряда цилиндров, расположенных под углами 60, 75° и чаще 90е. V-образный двигатель с углом 180° между рядами цилиндров называется оппозитным. Двух-, трех-, четырех- и пятицилиндровые двигатели выполняются обычно рядными, а шести-, восьми- и многоцилиндровые — V-образными. В двигателях с жидкостным охлаждением в качестве охлаждающего вещества используют антифризы (низкозамерзающие жидкости), температура замерзания которых -40 °С и ниже. В двигателях с воздушным охлаждением охлаждающим веществом является воздух. Большинство двигателей имеет жидкостное охлаждение, так как оно наиболее эффективное.
2. Основные определения и параметры двигателя
Рассмотрим основные параметры двигателя, связанные с его работой (рис. 2). Верхняя мертвая точка (ВМТ) — крайнее верхнее положение поршня. В этой точке поршень наиболее удален от оси коленчатого вала. Нижняя мертвая точка (НМТ) — крайнее нижнее положение поршня. Поршень наиболее приближен к оси коленчатого вала. В мертвых точках поршень меняет направление движения, и его скорость равна нулю. Ход поршня (S) — расстояние между мертвыми точками, проходимое поршнем в течение одного такта рабочего цикла двигателя. Каждому ходу поршня соответствует поворот коленчатого вала на угол 180° (пол-оборота). Такт — часть рабочего цикла двигателя, происходящего при движении поршня из одного крайнего положения в другое. Рабочий объем цилиндра (Vk) — объем, освобождаемый поршнем при его перемещении от ВМТ до НМТ. Объем камеры сгорания (Vc) — объем пространства над поршнем, находящимся в ВМТ. Полный объем цилиндра (Va) — объем пространства над поршнем, находящимся в НМТ:
va=vk+vc.
Рабочий объем (литраж) двигателя — сумма рабочих объемов всех цилиндров двигателя, выраженная в литрах (см3). Степень сжатия (s) — отношение полного объема цилиндра к объему камеры сгорания, т.е. s = Va/Vc
Рис.2. Основные параметры двигателя
Степень сжатия показывает, во сколько раз сжимается смесь в цилиндре двигателя при ходе поршня из НМТ в ВМТ. При повышении степени сжатия увеличивается мощность двигателя и улучшается его экономичность. Однако повышение степени сжатия ограничено качеством применяемого топлива и увеличивает нагрузки на детали двигателя. Степень сжатия для бензиновых двигателей современных легковых автомобилей составляет 8 — 10, а для дизелей 15 — 22. При таких степенях сжатия в бензиновых двигателях не происходит самовоспламенение смеси, а в дизелях, наоборот, самовоспламенение смеси обеспечивается. Ход S поршня и диаметр D цилиндра определяют размеры двигателя. Если отношение S/D < 1, то двигатель является короткоходным. Большинство двигателей легковых автомобилей короткоходные.
3. Рабочий процесс (цикл) четырехтактных двигателей
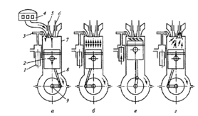
Рабочий процесс (цикл) четырехтактных двигателей состоит из тактов впуска, сжатия, рабочего хода и выпуска. Рабочий процесс происходит за четыре хода поршня или за два оборота коленчатого вала. Рассмотрим протекание рабочего цикла бензинового двигателя. При такте впуска (рис.3, а) поршень -/движется от ВМТ к НМТ. Выпускной клапан 5 закрыт. Под действием вакуума, создаваемого при движении поршня, в цилиндр 3 поступает горючая смесь (бензина и воздуха) через впускной клапан 7, открытый распределительным валом 6.
Рис. 2.3. Схема рабочего процесса четырехтактного бензинового двигателя: а — впуск; 6 — сжатие; в — рабочий ход; г — выпуск; / — коленчатый вал; 2 — шатун; 3 — цилиндр; 4 — поршень; 5 — выпускной клапан; 6 — распределительный вал; 7 — впускной клапан
Горючая смесь перемешивается с остаточными отработавшими газами, образуя при этом рабочую смесь. В конце такта впуска давление в цилиндре составляет 0,08... 0,09 МПа, а температура рабочей смеси – 80... 120 °С. Такт сжатия (рис.3, б) происходит при перемещении поршня от НМТ к ВМТ. Впускной и выпускной клапаны закрыты. Объем рабочей смеси уменьшается, а давление в цилиндре повышается и в конце такта сжатия составляет 0,9... 1,5 МПа. Повышение давления сопровождается увеличением температуры рабочей смеси до 450...500°С. При такте рабочего хода (рис.3, в) впускной и выпускной клапаны закрыты. Воспламененная в конце такта сжатия от свечи зажигания рабочая смесь быстро сгорает (в течение 0,001 ...0,002 с). Температура и давление образовавшихся газов в цилиндре возрастают соответственно до 2200...2500°С и 4...5,5 МПа. Газы давят на поршень, он движется от ВМТ до НМТ и совершает полезную работу, вращая через шатун 2 коленчатый вал 1. По мере перемещения поршня к НМТ и увеличения объема пространства над ним давление в цилиндре уменьшается и в конце такта составляет 0,35...0,45 МПа. Снижается и температура газов до 900..Л200 °С. Такт выпуска (рис. 3, г) происходит при движении поршня от НМТ к ВМТ. Впускной клапан закрыт. Отработавшие газы вытесняются поршнем из цилиндра через выпускной клапан, открытый распределительным валом. Давление и температура в цилиндре уменьшаются и в конце такта составляют 0,1 ...0,12 МПа и 700...800°С. Из рассмотренного рабочего процесса (цикла) следует, что полезная работа совершается только в течение одного такта — рабочего хода. Остальные три такта (впуск, сжатие, выпуск) являются вспомогательными, и на их осуществление затрачивается часть энергии, накопленной маховиком двигателя, который установлен на заднем конце коленчатого вала, при рабочем ходе. Рабочий процесс четырехтактного дизеля существенно отличается от рабочего цикла бензинового двигателя по смесеобразованию и воспламенению рабочей смеси. Основное различие рабочих циклов состоит в том, что в цилиндры дизеля при такте впуска поступает не горючая смесь, а воздух, и при такте сжатия в цилиндры впрыскивается мелкораспыленное топливо, которое самовоспламеняется под действием высокой температуры сжатого воздуха. Рассмотрим более подробно рабочий цикл дизеля. Такт впуска (рис.4, а) осуществляется при движении поршня 2 от ВМТ к НМТ. Выпускной клапан 6 закрыт. Вследствие образовавшегося вакуума в цилиндр 7 через воздушный фильтр 4 и открытый впускной клапан 5 поступает воздух из окружающей среды. В конце такта впуска давление в цилиндре составляет 0,08...0,09 МПа, а температура - 40...60°С.
Рис. 4. Схема рабочего процесса четырехтактного дизеля: а — впуск; б — сжатие; в — рабочий ход; г — выпуск; 1 — топливный насос; 2 —поршень; 3 — форсунка; 4 — воздушный фильтр; 5 — впускной клапан; 6 —выпускной клапан; 7 — цилиндр; 8 — шатун; 9 — коленчатый вал
При такте сжатия (рис. 4, б) поршень движется от НМТ до ВМТ. Впускной и выпускной клапаны закрыты. Поршень сжимает находящийся в цилиндре воздух, и его температура в конце такта сжатия достигает 550...700 °С при давлении 4...5 МПа. При такте рабочего хода (рис.4, в) поршень подходит к ВМТ, и в цилиндр двигателя из форсунки 3 под большим давлением впрыскивается распыленное дизельное топливо, подаваемое топливным насосом 1 высокого давления. Впрыснутое топливо перемешивается с нагретым воздухом, и образовавшаяся смесь самовоспламеняется. При этом резко возрастают у образовавшихся газов температура до 1800...2000°С и давление до 6...9 МПа. Под действием давления газов поршень перемещается от ВМТ до НМТ и совершает полезную работу, вращая через шатун 8 коленчатый вал 9. К концу рабочего хода давление газов становится 0,3-0,5 МПа, а температура — 700...900°С. Такт выпуска (рис. 4, г) происходит при движении поршня от НМТ к ВМТ. Впускной клапан закрыт. Через открытый выпускной клапан 6 поршень выталкивает из цилиндра отработавшие газы. К концу такта выпуска давление газов в цилиндре уменьшается до 0,11.-0,12 МПа, а температура — до 500...700 °С. После окончания такта выпуска при вращении коленчатого вала рабочий цикл двигателя повторяется в той же последовательности.
4. Порядок работы двигателя
Порядком работы двигателя называется последовательность чередования рабочих ходов по цилиндрам двигателя. Для равномерной и плавной работы двигателя рабочие ходы и другие одноименные такты должны чередоваться в определенной последовательности в его цилиндрах. При этом чередование должно происходить через равные углы поворота коленчатого вала двигателя, величина которых зависит от числа цилиндров двигателя. В четырехтактном двигателе рабочий процесс совершается за два оборота коленчатого вала, т.е. за поворот вала на 720°. Число рабочих ходов равно числу цилиндров двигателя. Их чередование для четырех-, шести- и восьмицилиндровых двигателей будет происходить соответственно через 180, 120 и 90° поворота коленчатого вала.
Порядок работы двигателя во многом зависит от типа двигателя и числа цилиндров. Так, например, у коленчатого вала рядного четырехцилиндрового двигателя, представленного на рис.5, а,
Рис. 5. Схема (а) и таблица (б) порядка работы четырехцилиндрового двигателя: 1, 2, 3, 4 — цилиндры двигателя
Характеристики
Тип файла документ
Документы такого типа открываются такими программами, как Microsoft Office Word на компьютерах Windows, Apple Pages на компьютерах Mac, Open Office - бесплатная альтернатива на различных платформах, в том числе Linux. Наиболее простым и современным решением будут Google документы, так как открываются онлайн без скачивания прямо в браузере на любой платформе. Существуют российские качественные аналоги, например от Яндекса.
Будьте внимательны на мобильных устройствах, так как там используются упрощённый функционал даже в официальном приложении от Microsoft, поэтому для просмотра скачивайте PDF-версию. А если нужно редактировать файл, то используйте оригинальный файл.
Файлы такого типа обычно разбиты на страницы, а текст может быть форматированным (жирный, курсив, выбор шрифта, таблицы и т.п.), а также в него можно добавлять изображения. Формат идеально подходит для рефератов, докладов и РПЗ курсовых проектов, которые необходимо распечатать. Кстати перед печатью также сохраняйте файл в PDF, так как принтер может начудить со шрифтами.
















