147918 (730611)
Текст из файла
Министерство образования Российской Федерации
Санкт-Петербургский государственный университет
сервиса и экономики
Автотранспортные средства
Реферат
Тема:
«Система питания двигателей, работающих на дизельном и газовом топливе»
Выполнил студент 3-ого курса
Специальность 100.101
Иванов В.И.
Санкт-Петербург
2010
Содержание
Введение
1. Топливо для дизелей
2. Конструкция и работа системы питания дизеля топливом
3. Конструкция и работа системы питания дизеля воздухом
4. Система выпуска отработавших газов
5. Система питания газовых двигателей
6. Топливо для газовых двигателей
7. Конструкция систем питания газовых двигателей и их работа
Список использованной литературы
Введение
Дизели являются двигателями с внутренним смесеобразованием. В цилиндры дизеля воздух и топливо подаются раздельно и, смешиваясь в них с отработавшими газами, образуют рабочую смесь. При этом процесс смесеобразования совершается за очень малое время (порядка 0,001 с).
Газовыми называются карбюраторные двигатели, работающие на газообразном топливе — сжатых и сжиженных газах. Особенностью газовых двигателей является их способность работать также и на бензине.
1. Топливо для дизелей
Дизельное топливо имеет следующие основные марки:
Л — летнее топливо, предназначено для работы двигателя при температуре окружающего воздуха выше О °С;
3 — зимнее топливо, предназначено для работы дизеля при температуре окружающего воздуха от 0 до -30 °С;
А — арктическое, предназначено для работы дизеля при температуре окружающего воздуха ниже -30 °С.
Температура замерзания дизельного топлива должна быть на 10... 15 °С ниже температуры окружающего воздуха района эксплуатации. Чем ниже температура замерзания топлива, тем надежнее работа дизеля. Температура воспламенения дизельного топлива составляет 300... 350 °С.
Качество дизельного топлива оценивается цетановым числом, которое условно принято равным 100 ед. Цетан — быстровоспламеняющееся топливо. Для дизельных топлив цетановое число должно быть в пределах 40... 45 ед. Чем выше цетановое число дизельного топлива, тем экономичнее и мягче работает двигатель. Для повышения цетанового числа в дизельное топливо добавляют специальную присадку — изопропиленнитрат.
Система питания дизеля состоит из трех следующих систем: питания топливом, питания воздухом и выпуска отработавших газов.
2. Конструкция и работа системы питания дизеля топливом
Система питания топливом служит для очистки топлива и равномерного его распределения дозированными порциями в цилиндры двигателя.
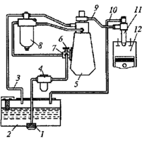
В эту систему (рис. 1) входят топливный бак, фильтры грубой и тонкой очистки, топливоподкачивающие насосы, топливный насос высокого давления, форсунки и топливопроводы.
Топливоподкачивающий насос 7 засасывает топливо из бака 2 через фильтры грубой 4 и тонкой 8 очистки и направляет его к насосу 5 высокого давления. В соответствии с порядком работы цилиндров двигателя насос высокого давления подает топливо к форсункам 11, которые распыляют и впрыскивают топливо в цилиндры 72 двигателя.
Топливоподкачивающий насос 7 подает к насосу высокого давления топлива больше, чем необходимо для работы двигателя. Избыточное топливо отводится по топливопроводу 3 обратно в топливный бак. В бак отводится по топливопроводу 10 топливо, просочившееся из форсунок.
Рис. 1. Схема системы питания дизеля топливом:
1 — топливоприемник; 2 — бак; 3, 9, 10 — топливопроводы; 4, 8 — фильтры; 5— насос высокого давления; 6 — насос ручной подкачки; 7 — топливо-подкачивающий насос; 11 — форсунка; 12 — цилиндр
Топливный насос высокого давления служит для подачи через форсунки в цилиндры двигателя под большим давлением (20... 50 МПа) требуемых порций топлива в определенные моменты времени. Насос состоит из одинаковых по конструкции секций, число которых равно числу цилиндров двигателя. Каждая секция насоса соединена топливопроводом 13 (рис. 2) с форсункой 16.
Плунжер 6 и гильза 5 секций насоса изготовлены с высокой точностью и чистотой поверхности. Зазор между ними не превышает двух микрон. На плунжере имеются вертикальный паз 9, скошенная кромка 11 и кольцевая проточка 7. Шестерня 2, закрепленная на плунжере, находится в зацеплении с зубчатой рейкой 3, перемещением которой поворачивается плунжер в гильзе. Пружина 4 прижимает плунжер к эксцентрику 1 кулачкового вала насоса, который приводится во вращение от коленчатого вала. В гильзе имеются впускное 8 и выпускное 10 отверстия, а в верхней ее части установлен нагнетательный клапан 12. Пружина 14 прижимает иглу 15 форсунки к соплу 18 и закрывает полость 77, которая заполнена топливом. При нижнем положении плунжера 6 отверстия 8 и 10 открыты, и через них над плунжером циркулирует топливо. Нагнетательный клапан 12 в этом случае закрыт, и в полости 17 форсунки поддерживается избыточное давление топлива.
При движении плунжера вверх при вращении кулачка перекрывается выпускное отверстие 10, а затем впускное отверстие 8. Под давлением топлива открывается клапан 12, и в полости 17 форсунки создается высокое давление. При этом игла 15 форсунки преодолевает сопротивление пружины 14, поднимается вверх, и через открывшееся сопло 18 топливо впрыскивается в цилиндр двигателя.
Впрыск топлива заканчивается, когда кромка 11 открывает выпускное отверстие 10. При этом давление топлива уменьшается, игла 15 опускается вниз и закрывает сопло 18. Одновременно закрывается клапан 12, и в полости 17 форсунки топливо остается под избыточным давлением.
Рис. 2. Схема работы топливного насоса высокого давления:
1 — эксцентрик; 2 — шестерня; 3 — рейка; 4, 14 — пружины; 5 — гильза; 6 — плунжер; 7 — проточка; 8, 10 — отверстия; 9 — паз; 11 — кромка; 12 — клапан; 13 — топливопровод; 15 — игла; 16 — форсунка; 17 — полость; 18 — сопло
Поворотом плунжера 6 в гильзе 5 изменяют конец подачи топлива и его количество, впрыскиваемое за один ход плунжера. Подача топлива прекращается при совмещении вертикального паза 9 с выпускным отверстием 10, и двигатель останавливается.
С топливным насосом высокого давления соединены муфта опережения впрыска топлива, всережимный регулятор частоты вращения коленчатого вала двигателя и топливоподкачивающий насос с насосом ручной подкачки топлива.
Муфта опережения впрыска топлива служит для автоматического изменения угла опережения впрыска топлива в зависимости от частоты вращения коленчатого вала. Муфта повышает экономичность дизеля при различных режимах работы и улучшает его пуск.
Муфта устанавливается на переднем конце кулачкового вала топливного насоса высокого давления, и с помощью нее насос приводится в действие.
На взаимное положение ведущих и ведомых частей муфты оказывают влияние грузы 2 (рис. 3), находящиеся в корпусе 1. Грузы установлены на осях 3 и поджимаются пружинами 4, которые упираются в проставки 5.
При работе двигателя и увеличении частоты вращения коленчатого вала грузы под действием центробежных сил преодолевают сопротивление пружин и расходятся, поворачивая при этом кулачковый вал насоса высокого давления по ходу его вращения. В результате этого увеличивается угол а опережения впрыска топлива, и топливо поступает в цилиндры раньше. При Уменьшении частоты вращения коленчатого вала двигателя грузы сходятся под действием пружин и поворачивают кулачковый вал насоса в сторону, противоположную его вращению, что уменьшает угол а опережения впрыска топлива.
Рис. 3. Муфта опережения впрыска топлива:
1 — корпус; 2 — груз; 3 — ось; 4 — пружина; 5 — проставка; а — угол опережения впрыска топлива
Всережимный регулятор служит для автоматического поддержания постоянной частоты вращения коленчатого вала соответственно положению педали подачи топлива при различной нагрузке двигателя.
Регулятор также устанавливает минимальную частоту вращения коленчатого вала на холстом ходу и ограничивает максимальную частоту вращения. Регулятор приводится в действие от кулачкового вала топливного насоса высокого давления.
Педаль 6 (рис. 4) подачи топлива соединена с рычагом 2 управления рейкой / насоса высокого давления через растянутую пружину 3, действующую на рычаг с усилием Рпр. При работе двигателя на рычаг 2 через подпятник 7 передается сила Qгр. от вращающихся грузов, шарнирно закрепленных на валу 9, который соединен с кулачковым валом насоса высокого давления.
Если двигатель работает с частотой вращения коленчатого вала, соответствующей данному положению педали 6, то сила Qгр. грузов 8 уравновешивается усилием Рпр пружины 3.
При увеличений частоты вращения коленчатого вала грузы регулятора расходятся. Они преодолеют сопротивление пружины и переместят рейку 1. При этом подача топлива уменьшится и частота вращения не будет возрастать.
При уменьшении частоты вращения коленчатого вала грузы будут сходиться, рейка 1 усилием Рпр пружины переместится в обратном направлении и подача топлива увеличится, а частота вращения коленчатого вала возрастет до значения, заданного положением педали 6.
Рис. 4. Схема работы всережимного регулятора:
1 — рейка; 2 — рычаг; 3 — пружина; 4, 5 — упоры; 6 — педаль; 7— подпятник; 8 — груз; 9 — вал; Рпр — усилие пружины; Qгр. — сила грузов
Минимальная частота при работе на холостом ходу и максимальная частота вращения коленчатого вала двигателя ограничиваются соответственно регулируемыми упорами 5 и 4.
Топливоподкачивающий насос служит для создания требуемого давления топлива и подачи топлива в необходимом количестве к насосу высокого давления.
Насос — поршневого типа, приводится в действие от кулачкового вала насоса высокого давления.
В корпусе насоса находится поршень 1 (рис. 5), который прижат к штоку 7 пружиной 5, Шток через ролик опирается на эксцентрик # кулачкового вала. В корпусе насоса имеются впускной 4 и нагнетательный 9 клапаны.
Когда под действием пружины 5 поршень перемещается к эксцентрику, топливо из полости В вытесняется в фильтр тонкой очистки и насос высокого давления. Одновременно увеличивающаяся полость А заполняется топливом, которое поступает из топливного бака через фильтр грубой очистки и впускной клапан 4.
При движении поршня в противоположном направлении под действием эксцентрика 8 топливо из полости А через нагнетательный клапан 9 поступает в полость Б.
При неработающем двигателе топливо в насос высокого давления подкачивают поршнем 2 ручного насоса при помощи рукоятки.
Форсунки служат для впрыскивания топлива под определенным давлением и его распыления в цилиндрах двигателя.
Форсунки устанавливают и закрепляют в головке цилиндров.
Характеристики
Тип файла документ
Документы такого типа открываются такими программами, как Microsoft Office Word на компьютерах Windows, Apple Pages на компьютерах Mac, Open Office - бесплатная альтернатива на различных платформах, в том числе Linux. Наиболее простым и современным решением будут Google документы, так как открываются онлайн без скачивания прямо в браузере на любой платформе. Существуют российские качественные аналоги, например от Яндекса.
Будьте внимательны на мобильных устройствах, так как там используются упрощённый функционал даже в официальном приложении от Microsoft, поэтому для просмотра скачивайте PDF-версию. А если нужно редактировать файл, то используйте оригинальный файл.
Файлы такого типа обычно разбиты на страницы, а текст может быть форматированным (жирный, курсив, выбор шрифта, таблицы и т.п.), а также в него можно добавлять изображения. Формат идеально подходит для рефератов, докладов и РПЗ курсовых проектов, которые необходимо распечатать. Кстати перед печатью также сохраняйте файл в PDF, так как принтер может начудить со шрифтами.
















