147918 (730611), страница 2
Текст из файла (страница 2)
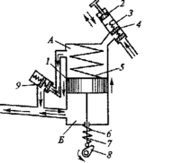
Рис. 5. Схема топливоподкачивающего и ручного насосов:
1, 2 — поршни; 3, 5, 6 — пружины; 4,9— клапаны; 7— шток; 8 — эксцентрик; А, Б — полости
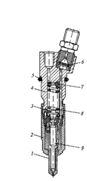
Корпус 4 (рис. 6) и распылитель 1 форсунки соединены гайкой 2. Внутри распылителя находится игла 9, закрывающая его сопловые отверстия. На иглу через штангу 3 Действует нажимная пружина 8, затяжку которой регулируют шайбами 7
Рис. 6. Форсунка:
1 — распылитель; 2 — гайка; 3 — штанга; 4 — корпус;
5 — кольцо; 6— фильтр; 7— шайбы; 8— пружина; 9 — игла
Топливо подается к форсунке через сетчатый фильтр 6 поступает в полость иглы 9. Под давлением топлива игла, преодолевая усилие пружины 8, перемещается вверх, открывает сопловые отверстия распылителя, и через них топливо впрыскивается в цилиндр двигателя. При этом топливо, просочившееся между иглой и распылителем, отводится из форсунки по каналам в ее корпусе.
3. Конструкция и работа системы питания дизеля воздухом
Система питания воздухом служит для забора окружающего воздуха, его очистки от пыли и распределения по цилиндрам двигателя.
Система питания воздухом (рис. 7) включает воздушный фильтр и впускной трубопровод. Она может быть с турбонаддувом или без турбонаддува.
Воздух поступает через сетку колпака 5 и трубу 4 воздухозаборника в воздушный фильтр 1. В фильтре воздух проходит через инерционную решетку 3 и резко изменяет направление движения. Сначала воздух освобождается от крупных частиц пыли, которые под действием инерции и вакуума выбрасываются через эжектор 6, установленный в выпускной трубе глушителя, в окружающий воздух. Более мелкие частицы пыли задерживаются в картонном фильтрующем элементе 2. Очищенный воздух по впускному трубопроводу подается в цилиндры 7 двигателя.
Воздушный фильтр (рис. 8) состоит из корпуса 3, крышки 1 и сменного фильтрующего элемента 2, состоящего из двух перфорированных стальных кожухов и гофрированного картона между ними. Патрубок 7 предназначен для отсоса пыли из корпуса фильтра.
Воздух поступает в фильтр через патрубок 5, очищается в нем и выходит через патрубок 6.
Наддув представляет собой подачу воздуха в цилиндры двигателя при такте впуска под давлением, создаваемым компрессором. При наддуве увеличивается количество воздуха, поступающего в цилиндры двигателя, количество сжигаемого топлива и повышается на 20...40 % мощность двигателя.
Рис. 8. Воздушный фильтр:
1 — крышка; 2 — фильтрующий элемент; 3 — корпус; 4 — диффузор; 5, 6, 7 — патрубки
В дизелях обычно применяется газотурбинный наддув (рис. 9) турбокомпрессором. При работе двигателя воздух в цилиндры 1 нагнетается под давлением центробежным компрессором 6, рабочее колесо которого приводится во вращение турбиной 5.
Рис. 9. Схема наддува дизеля воздухом:
1 – цилиндр двигателя; 2 — мембрана; 3 – пружина; 4 — клапан; 5 — турбина; 6 — компрессор
4. Система выпуска отработавших газов
Система выпуска служит для отвода газов из цилиндров двигателя и снижения шума. Одновременно система выпуска обеспечивает отсос пыли из воздушного фильтра.
Отработавшие газы из выпускных трубопроводов двигателя поступают в приемные трубы 2 и 3 глушителя (рис. 10) и далее через гибкий металлический рукав 6 в глушитель 7. Из глушителя газы через выпускную трубу 8 и эжектор 10 выбрасываются в окружающий воздух. Через патрубок 9 производится отсос пыли из воздушного фильтра в эжектор.
В системе выпуска отработавших газов устанавливается вспомогательный (моторный) тормоз-замедлитель 4.
Рис. 10. Схема системы выпуска отработавших газов дизеля:
1—уплотнитель; 2,3,8 — трубы; 4 — тормоз-замедлитель; 5— пневмоцилиндр; 6 — рукав; 7 — глушитель; 9 — патрубок; 10 — эжектор
Рабочее колесо турбины, установленное на одном валу с рабочим колесом компрессора, приводится во вращение отработавшими газами до их поступления в глушитель. Для ограничения давления воздуха при наддуве предназначен перепускной клапан 4. При достижении требуемого давления (обычно 0,2 МПа) воздух давит на мембрану 2, клапан открывается и перепускает часть отработавших газов мимо турбины 5.
На V-образных дизелях для турбонаддува устанавливают от одного до двух турбокомпрессоров. При двух турбокомпрессорах каждый из них обслуживает свой ряд цилиндров двигателя.
5. Система питания газовых двигателей
Характеристика. Система питания газовых двигателей имеет специальное газовое оборудование. Имеется также дополнительная резервная система, обеспечивающая при необходимости работу газового двигателя на бензине.
По сравнению с карбюраторными двигателями газовые более экономичны, менее токсичны, работают без детонаций, имеют более полное сгорание топлива и меньший износ деталей, срок их службы больше в 1,5—2 раза. Однако их мощность меньше на 10... 20 %, так как в смеси с воздухом газ занимает больший объем, чем бензин. У них сложнее система питания и обслуживание в эксплуатации, требующее высокой техники безопасности.
6. Топливо для газовых двигателей
Топливом для газовых двигателей являются сжатые и сжиженные газы.
Сжатые газы — газы, которые при обычной температуре окружающего воздуха и высоком давлении (до 20 МПа) сохраняют газообразное состояние.
Сжатые газы являются природными газами. В качестве топлива для газовых двигателей обычно используется природный газ метан.
Сжиженные газы — газы, которые переходят из газообразного состояния в жидкое при нормальной температуре воздуха и небольшом давлении (до 1,6 МПа). Это нефтяные газы.
Для газовых двигателей используются сжиженные газы следующих марок: СПБТЗ — смесь пропана и бутана техническая зимняя; СПБТЛ — смесь пропана и бутана техническая летняя; БТ — бутан технический.
Газообразное топливо менее токсично, имеет более высокое октановое число (100 ед.), дает меньшее нагарообразование и не разжижает масло в картере двигателя.
7. Конструкция систем питания газовых двигателей и их работа
В систему питания двигателя, работающего на сжатом газе (рис. 11), входят баллоны 1 для сжатого газа, наполнительный 5, расходный 6 и магистральный 18 вентили, подогреватель 17 газа, манометры высокого 8 ж низкого 9 давления, редуктор 11 с фильтром 10 и дозирующим устройством 12, газопроводы высокого 3 и низкого 13 давления, карбюратор-смеситель 14 и трубка 19, соединяющая разгрузочное устройство с впускным трубопроводом двигателя.
Рис. 11. Схема системы питания двигателя, работающего на сжатом газе:
1 — баллон; 2 — тройник; 3, 13 — газопроводы; 4 — крестовина; 5, 6, 18 — вентили; 7 – бак; 8, 9 — манометры; 10 — газовый фильтр; Л — редуктор; 12 — Дозирующее устройство; 14 — карбюратор-смеситель; 15 — топливопровод; 16 — топливный насос; 17— подогреватель; 19 — трубка
При работе двигателя вентили 6 и 18 открыты. Сжатый газ из баллонов поступает в подогреватель 17, обогреваемый отработавшими газами, нагревается и через фильтр 10 проходит в двухступенчатый газовый редуктор 11. В редукторе давление газа снижается до 0,9..Л,15 МПа. Из редуктора через дозирующее устройство 12 газ проходит в карбюратор-смеситель 14, где и образуется горючая смесь (газовоздушная). Смесь под действием вакуума поступает в цилиндры двигателя. Процесс сгорания смеси и отвода отработавших газов, как в карбюраторных двигателях.
Редуктор 11, кроме уменьшения давления газа, изменяет его количество в зависимости от режима работы двигателя. Он быстро выключает подачу газа при прекращении работы двигателя.
Кроме основной, имеется резервная система питания, обеспечивающая работу двигателя на бензине в необходимых случаях (неисправности системы, израсходован весь газ в баллонах и др.). При этом длительная работа двигателя на бензине не рекомендуется, так как в резервной системе питания отсутствует воздушный фильтр, что может привести к повышенному изнашиванию двигателя.
В резервную систему питания входят топливный бак 7, топливный фильтр, топливный насос 16 и топливопроводы 15.
Рис. 12. Схема системы питания двигателя, работающего на сжиженном газе:
1 — топливный фильтр; 2 — топливный насос; 3 — карбюратор; 4 — смеситель; 5— испаритель; 6 — газовый фильтр; 7— дозирующее устройство; 8— редуктор; 9, 10 — манометры; 11, 13 — вентили; 12 — баллон; 14 — двигатель; 15 — бак
Система питания двигателя, работающего на сжиженном газе, показана на рис. 12. Сжиженный газ под давлением из баллона 12 поступает через расходный 13 и магистральный 11 вентили в испаритель 5. В испарителе газ подогревается горячей жидкостью системы охлаждения двигателя и переходит в газообразное состояние. Затем газ очищается в фильтре 6, поступает в двухступенчатый редуктор 8, где давление газа снижается до атмосферного. Из редуктора газ через дозирующее устройство 7 проходит в смеситель 4, который готовит горючую смесь в соответствии с режимом работы двигателя.
Газовый баллон имеет предохранительный клапан, открывающийся при давлении 1,68 МПа, наполнительный вентиль и датчик уровня сжиженного газа. Баллон заполняется сжиженным газом только на 90 % объема. Это необходимо для возможности расширения газа при нагреве.
Кроме основной системы питания, двигатель, работающий на сжиженном газе, имеет резервную систему питания для кратковременной работы на бензине. В резервную систему входят топливный бак 15, топливный фильтр 1, топливный насос 2 и карбюратор 3.
Список использованной литературы
1. Сарбаев В.И. Техническое обслуживание и ремонт автомобилей. − Ростов н/Д: «Феникс», 2004.
2. Вахламов В.К. Техника автомобильного транспорта. − М.: «Академия», 2004.
3. Барашков И.В. Бригадная организация технического обслуживания и ремонта автомобилей. – М.: Транспорт, 1988г.














