147687 (730547)
Текст из файла
Тема: ТО та ремонт системи охолодження двигуна ВАЗ-2109
Зміст
Вступ
1. Загальні відомості
2. Охолодні рідини
3. Будова системи охолодження двигуна ВАЗ-2109
4. Технічне обслуговування системи охолодження
4.1 Перевірка рівня і щільності рідини в системі охолодження
4.2 Заправлення системи охолодження рідиною
4.3 Регулювання натягу пасу приводу насоса
4.4 Насос охолодної рідини
4.5 Контроль
5. Ремонт системи охолодження
6. Вимоги до інструменту для виконання технічного обслуговування та ремонту
Список використаної літератури
Вступ
Двигун працює нормально тільки при певному тепловому режимі. Якщо циліндри та поршні від зіткнення з гарячими газами перегріваються, то підвищується їх зношуваність через вигоряння мастильного матеріалу. Відбувається коксування масла з відкладенням нагару. Зменшення зазорів внаслідок теплового розширення поршнів у циліндрах. Одночасно знижується потужність через погіршення наповнення циліндрів.
Таких негативних наслідків можна уникнути, якщо охолоджувати гарячі деталі двигуна. Проте надмірне охолодження теж неприпустиме. Якщо двигун переохолоджений, то збільшуються втрати тепла в процесі перетворення її в механічну енергію. Крім того, паливо погано випаровується, важко займається і не повністю згоряє, що знижує потужність і економічність двигуна, а значне утворення нагару при неповному згорянні палива може призвести до залягання поршневих кілець і зависання клапанів. Зношуваність у переохолодженому двигуні теж збільшується, оскільки відбувається конденсація продуктів згоряння, які, перебуваючи в рідкому стані, викликають сильну корозію гільз циліндрів, поршнів і поршневих кілець. Через збільшення затримки самозаймання палива підвищується жорсткість роботи. Найвигідніший тепловий стан двигуна в межах 85-95°С підтримує система охолодження, яка відводить зайве тепло від деталей і передає її навколишньому повітрю. Для відведення тепла від нагрітих частин двигуна використовують рідинну примусову систему охолодження. Циркуляція охолодної рідини в такій системі відбувається під дією відцентрового насоса, що подає охолоджену воду з радіатора в сорочку охолодження блока циліндрів.
У сучасних двигунах застосовується замкнута система охолодження, ізольована від атмосфери і з'єднується з нею тільки при відкритті повітряного або парового клапанів, розташованих у пробці радіатора.
1. Загальні відомості
Температура газів у циліндрах двигуна, що працює, досягає 1800... 2000 °С. Частина теплоти, що виділяється (для карбюраторних шипунів - 21...28%, для дизелів - 29...42%), перетворюється на корисну роботу, частина (12...27% - для карбюраторних двигунів, 15...25% - для дизелів) - відводиться з охолодною рідиною.
У разі перегрівання двигуна внаслідок недостатнього відведення теплоти його потужність зменшується, а витрата палива збільшується. Крім того, це може призвести до заклинювання поршнів, обгоряння головок клапанів, вигоряння мастила, виплавляння вкладишів підшипників, руйнування поверхні шийок колінчастого вала. В карбюраторному двигуні може виникнути детонація.
У разі переохолодження двигуна внаслідок втрати теплоти його потужність знижується, збільшуються втрати на тертя через густе мастило; частина робочої суміші конденсується, змиваючи мастило зі стінок циліндра, підвищується корозійне спрацьовування стінок циліндрів унаслідок утворення сірчаних і сірчистих сполук.
В автомобільних двигунах застосовують такі системи охолодження (рис.1.1): рідинну (здебільшого); повітряну (рідше).
Температура охолодної рідини, що міститься в головці блока циліндрів, має становити 80...95 °С. Такий температурний режим найвигідніший, забезпечує нормальну роботу двигуна й не повинен змінюватися залежно від температури навколишнього повітря та навантаження двигуна.
Рідинні системи охолодження бувають: відкриті; закриті. Відкрита система охолодження безпосередньо сполучається з навколишньою атмосферою, а закрита (рис.1.1 а), що застосовується в сучасних двигунах, - періодично, через спеціальні клапани в кришці радіатора або розподільного бачка. В закритих системах охолодження підвищується температура кипіння охолодної рідини, й вона менше випаровується. Крім того, циркуляція рідини примусова.
Рис.1.1 Принципові схеми систем охолодження двигунів:
а - рідинної; б - повітряної; 1 - радіатор; 2 - вентилятор;
3 - верхній патрубок; 4 - термостат; 5 - водяна сорочка;
6 - розподільна труба; 7 - насос; 8 - головка циліндрів;
9 - рефлектор; 10 - охолодні ребра
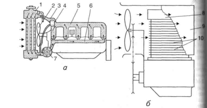
Для повітряних систем охолодження (рис.1.1 б) характерна безпосередня передача теплоти в атмосферу. Потрібна інтенсивність охолодження досягається за допомогою охолодних ребер 10, вентилятора 2 та рефлектора 9 Витрата охолодного повітря може регулюватися. Система проста за будовою та в експлуатації, забезпечує швидке прогрівання двигуна після запуску, має невелику масу. Недоліки системи повітряного охолодження: велика потужність, що витрачається на привод вентилятора; шумність роботи; нерівномірність відведення теплоти по висоті циліндра.
Принцип дії рідинної системи охолодження (рис.1.2). Відцентровий насос, який дістає обертання за допомогою паса від шківа колінчастого вала, засмоктує охолодну рідину з нижньої частини радіатора через патрубок і нагнітає її в сорочку охолодження циліндрів. Охолодна рідина обмиває насамперед найбільш нагріті деталі двигуна, Підбирає частину теплоти, а потім через верхній патрубок подається у верхній бачок радіатора. Проходячи крізь серцевину радіатора в нижній бачок, нагріта рідина охолоджується й знову спрямовується до відцентрового насоса.
Рис.1.2 Схема системи охолодження двигуна автомобілів: 1, 5-зливальні краники; 2-гільза циліндра; 3 - випускний трубопровід; 4 - відвідний шланг до опалювача; 6-вентилятор; 7-жалюзі радіатора; 8-радіатор; 9 - кришка заливної горловини; 10 - розширювальний бачок; 11-термостат; 12 - датчик покажчика температури охолодної рідини; 13-відцентровий насос; 14 - відвідний шланг камери підігрівання впускного трубопроводу; 15-камера підігрівання впускного трубопроводу; 16-впускний трубопровід; 17 - кран відбирання рідини в опалювач; 18 - покажчик температури охолодної рідини; 19 - сорочка головки блока циліндрів; 20 - сорочка блока циліндрів
Водночас частина нагрітої рідини надходить у сорочку впускного трубопроводу для підігрівання пальної суміші, а також у разі потреби відводиться через спеціальний кран в опалювач салону кузова.
Радіатор призначається для охолодження рідини, що відводить теплоту від двигуна. Він складається з нижнього та верхнього латунних бачків, припаяних до серцевини, патрубків і заливної горловини і пробкою (рис.1.3).
Рис.1.3 Радіатор:
а - будова; б - трубчаста серцевина; в - пластинчаста серцевина;
1 - верхній бачок з патрубком; 2 - паровідвідна трубка; 3 - заливна горловина з пробкою; 4 - серцевина; 5 - патрубок із зливальним краником; 6 - нижній бачок; 7 - трубки; 8 - поперечні пластини
Патрубки бачків через прогумовані шланги сполучають радіатор 11 з сорочкою охолодження блока циліндрів. Заливна горловина радіатора герметично закривається пробкою (рис.1.4), в яку встановлено випускний (паровий) 7 і перепускний (повітряний) 9 клапани.
Рис.1.4 Пробка радіатора:
1 - патрубок для приєднання трубки до розширювального бачка; 2 - горловина радіатора; 3 - кришка пробки; 4 - прокладка кришки; 5, 6 - пружини відповідно випускного клапана та кришки; 7, 9 - відповідно випускний і перепускний клапани; 8, 10 - прокладки відповідно випускного й перепускного клапанів
Випускний клапан 7 відкривається, коли тиск у системі охолодження підвищується до 0,15 МПа.
При цьому вода, що застосовується як охолодна рідина, закипає за температури 109 °С. Якщо клапан стерильний, рідина, яка закипає, або пара відводиться у розширювальний бачок, що запобігає руйнуванню радіатора й патрубків.
Перепускний клапан 9 відкривається, коли тиск у системі знижується до 0,01 МПа внаслідок зменшення об'єму охолодної рідини або конденсації парів рідини під час остигання двигуна.
При цьому в радіатор надходить рідина з розширювального бачка, що запобігає сплющуванню трубок серцевини радіатора атмосферним тиском.
Розширювальний бачок 10 (див. рис.1.2), який виготовляється із пластмаси, містить певний об'єм охолодної рідини й слугує для конпенсації зміни об'єму охолодної рідини в системі охолодження під час роботи двигуна.
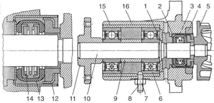
Відцентровий водяний насос установлюється в передній частині блока циліндрів і забезпечує примусову циркуляцію рідини в системі охолодження. Він складається з алюмінієвого корпусу 16 (рис.1.5), в якому запресовано сталевий стакан.
У стакані розміщено два підшипники, на яких установлено вал 10. Підшипники заповнюються мастилом (змащувати їх не треба до ремонту). На передньому кінці вала напресовано маточину 11 вентилятора, а на задньому - чавунну крильчатку 5.
Рис.1.5 Водяний насос: 1 - стопорне кільце; 2 - корпус ущільнювача; 3 - манжета; 4 - ущільнювальна шайба; 5 - крильчатка; 6 - підшипник; 7 - контргайка; 8 - стопорний гвинт підшипника; 9 - розпірна втулка; 10 - вал; 11 - маточина; 12 - корпус ущільнювальної шайби; 13 - обойма; 14 - пружина; 15 - стакан підшипників; 16 - корпус насоса
Ущільнення заднього кінця вала на виході його з корпусу досягається самоущільнювальним сальником з ущільнювальною шайбою 4, розміщеною всередині корпусу сальника, по поверхні якої своїм торцем ковзає крильчатка. Всередині корпусу сальники встановлено також гумову манжету 3 й розтискну пружину 14, Остання через латунні обойми 13 притискає торці манжети до корпусу ущільнювальної шайби 12 сальника. Щоб запобігти прониканню рідини в корпус насоса (в разі несправності сальника), в ньому зроблено дренажний (контрольний) отвір, крізь який рідина витікає назовні. Це запобігає також вимиванню мастила з підшипника. До маточини 11 вентилятора болтами прикріплюється шків привода відцентрового насоса та вентилятора.
Привод здійснюється трапецієподібним пасом від шківа колінчастого вала. Цим самим пасом приводиться в обертання генератор під час роботи двигуна крильчатка насоса своїми лопатями захоплює охолодну рідину, що надходить з нижнього бачка радіатора, під дією відцентрової сили відкидає її до стінок корпусу й нагнітає в сорочку блока й головки циліндрів.
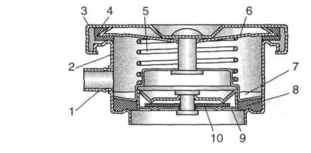
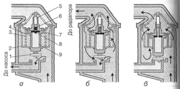
Термостат - двоклапанний, призначається для прискорення підігрівання двигуна після пуску й автоматичного підтримання найвигіднішого теплового режиму двигуна під час руху автомобіля. Його встановлюють у корпусі відвідного патрубка головки циліндрів. Термостат двигуна складається з корпусу 2 (рис.1.6), в якому розміщено рухоме осердя 4 з двома клапанами: перепускним 1 та основним 7.
Рис.1.6 Схема роботи термостата:
Характеристики
Тип файла документ
Документы такого типа открываются такими программами, как Microsoft Office Word на компьютерах Windows, Apple Pages на компьютерах Mac, Open Office - бесплатная альтернатива на различных платформах, в том числе Linux. Наиболее простым и современным решением будут Google документы, так как открываются онлайн без скачивания прямо в браузере на любой платформе. Существуют российские качественные аналоги, например от Яндекса.
Будьте внимательны на мобильных устройствах, так как там используются упрощённый функционал даже в официальном приложении от Microsoft, поэтому для просмотра скачивайте PDF-версию. А если нужно редактировать файл, то используйте оригинальный файл.
Файлы такого типа обычно разбиты на страницы, а текст может быть форматированным (жирный, курсив, выбор шрифта, таблицы и т.п.), а также в него можно добавлять изображения. Формат идеально подходит для рефератов, докладов и РПЗ курсовых проектов, которые необходимо распечатать. Кстати перед печатью также сохраняйте файл в PDF, так как принтер может начудить со шрифтами.















