147611 (730523), страница 3
Текст из файла (страница 3)
Важнейшим направлением в развитии комплексной механизации погрузочно-разгрузочных работ с тарно-штучными грузами на автомобильном транспорте является внедрение контейнерного способа доставки грузов. Прогрессивным направлением доставки контейнеров подвижным составом автомобильного транспорта является создание обменных контейнерных пунктов на крупных промышленных предприятиях, оптовых торговых базах и складах, базах материально-технического снабжения и других объектах с постоянными контейнеропотоками. На обменных контейнерных пунктах наиболее распространенным и эффективным средством механизации погрузочно-разгрузочных работ являются автопогрузчики (для среднетоннажных контейнеров) и специальные передвижные подъемные устройства, в том числе смонтированные на полуприцепах, предназначенных для перевозки контейнеров большой грузоподъемности.
Исследованиями НИИТАа установлено, что при отсутствии стационарных погрузочно-разгрузочных механизмов в пунктах погрузки и выгрузки целесообразно применять следующий подвижной состав автомобильного транспорта:
автомобили с консольным краном - грузоподъемностью 0,63 и 1.25 т при максимальном вылете стрелы;
автомобили с портальными кранами грузоподъемностью 1,25, 2,5 - 3,0 и 5.0т;
автомобили с грузоподъемными бортами (в том числе автомобили -фургоны);
полуприцепы-контейнеровозы с погрузочно-разгрузочными механизмами;
автомобили и полуприцепы со съемными кузовами-контейнерами.
По типу погрузочно-разгрузочного оборудования автомобили-самопогрузчики подразделяются на следующие основные группы: со стреловыми кранами, с качающимися порталами, грузоподъемными бортами, наклоняющейся платформой и навесными грузоподъемными устройствами.
Автомобили-самопогрузчики могут погружать тарные грузы на свою платформу и разгружать их с нее; перегружать грузы на рядом расположенные автомобили и прицепы или с их платформ на свою платформу, а также погружать грузы с площадки и разгружать их на площадку.
Особенностью автомобилей-самопогрузчиков кранового типа является то, что их краны имеют гидравлический привод и для уменьшения габаритов в транспортном положении они складываются. В сложенном состоянии краны выступают за габариты платформы и кабины всего лишь на 250-300мм (по ширине). Конструкции кранов различной грузоподъемности и их гидравлические схемы аналогичны. Краны отличаются друг от друга лишь размерами узлов.
Кран представляет собой (Рис.6) консоль, вращающуюся на колонне, смонтированной на раме автомобиля на опорах между кабиной и кузовом. Для возможности установки крана кузов автомобиля сдвигают назад.
Кран включает в себя следующие узлы: колонну, стрелу, механизм поворота крана, гидравлическую систему и стабилизаторы рессор.
Рис.6. Автомобиль-самопогрузчик с гидравлическим краном
Колонна крана состоит из трех секций, соединенных между собой болтами: опоры 1 крана, механизма 2 поворота и цилиндра подъемного механизма 3. Стрела крана состоит из рамы 6, хобота 8, трубы 9 с крюком и гидравлического цилиндра 7 двойного действия. Рама стрелы закреплена при помощи шарнирно-рычажного механизма на кронштейне 4, приваренном к корпусу цилиндра подъемного механизма 3, и связана с головкой плунжера. При подъеме или опускании плунжера цилиндра подъемного механизма рама стрелы крана перемещается по дуге вокруг шарнира 5. Хобот 8 соединен с рамой шарнирно. Стрела складывается при помощи гидравлического цилиндра 7. Для увеличения вылета стрелы труба с крюком выдвигается вручную. В крайних положениях она фиксируется в направляющих опорах хобота.
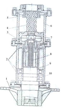
Механизм поворота крана показан на рис.7. Стойка опоры 9 крана, размещенная и корпусы, 10, запрессована в стальном фланце 1, который крепится болтами к раме автомобиля. Колонна вращается вокруг опоры на подшипниках 2. Вращение колонны осуществляется гидравлическим цилиндром 6 двойного действия и винтовой парой (винтовой шток 4 и гайка 5), при помощи которой поступательное движение превращается во вращательное. Поршень 7 имеет два штока, один из которых (винтовой 4) соединен с бронзовой гайкой 5, жестко связанной с колонной крана, а другой (шлицевой 8) - со шлицевой втулкой, запрессованной в стойку опоры 9. Поршень уплотняется в цилиндре 6 поворота стрелы уплотнителем 3.
Рис.7. Механизм поворота крана автомобиля-самопогрузчика.
Поворот крана, подъем и опускание стрелы осуществляются при помощи гидравлического привода. Поворот крана осуществляется следующим образом. При подаче, масла в цилиндр 6 поршень 7 либо поднимается, либо опускается в зависимости от того, с какой стороны давит на него масло. Шлицевой шток 8 поршня 7 жестко соединен с опорой 9 и через нее и фланец 1 - с рамой автомобиля. Поэтому вертикальное перемещение поршня возможно лишь только за счет вращения в ту или другую сторону гайки 5. Это и используется для поворота крана. Вращение гайки 5, связанной жестко с колонной крана, вызывает поворот крана.















