147153 (730436), страница 3
Текст из файла (страница 3)
Каналокопачі поділяють: за призначенням – для будівництва осушувальних і зрошувальних каналів; за способом агрегатування органа з базовою машиною – причіпні і навісні; за ходовим обладнай, гусеничному і колісному ходу; за типом і конструкцією робочого орі ми 8 4) – з пасивним робочим органом (плужні і відвальні), з активним рИ органом (фрезерні, роторні, шнекові, багатоковшові); з пасивно-актиним робочим органом (комбіновані).
Каналокопачі з плужним і відвальним робочим органом застосовуй прокладання тимчасових меліоративних каналів у зонах осушення і їх поділяють за способом агрегатування – на причіпні і навісні; системою керування робочим органом – на трособлокові і гідравлічні.
Рис. 4 Класифікація каналокопачів за типом і конструкцією робочого органа
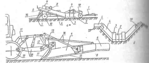
Робочий орган шгутного каналокопача (рис. 5.) зварено з декількох тин. Нижня частина – плоский леміш 19, який підрізає ґрунт на дні і частині укосів. Площина леміша спрягається з криволінійними відвальними поверхнями (полицями) 6, що піднімають шар ґрунту І том його на обидві берми каналу. У верхній частині ці поверхні плани., ходять у площини верхніх відвалів 5, які утворюють клин для ґрунту на сторони. Для зачищення прилеглих до каналу частин бері і її каналокопачі обладнують змінними бермозачисниками 3 зміні, а зрошувальні для формування дамб – відкрилками 4.
Більшість плужних каналокопачів обладнують ножем (череслом) розрізає верхній дерновий покрив вздовж осі каналу. Це зменшує скупчення ґрунту перед відвалом, полегшує розвалювання ґрунту, що піднімає дві рівні частини і зменшує тяговий опір переміщенню каналокопача.
Причіпні канатні каналокопачі бувають з неповоротною (рис. 5.а) і ротною ходовою рамою (рис. 5, б),
Причіпні каналокопачі у робочому положенні переміщують одним та кількома тракторами. Відстань між тракторами, що буксирують 5…10 м. Зчіпку здійснюють тяговим канатом, один кінець якого нижньому штирі причіпного пристрою каналокопача, а другий – до порі трактора. Щоб канат не потрапив під гусениці, його пропускають петлю переднього гака останнього трактора. Причині гідравлічні капі ш| (рис. 5, в) призначені для копання каналів глибиною до 1 м у робочого органа здійснюють два гідроциліндри 26, що забезпечує більш хід робочого органа. Крім того, робочий орган можна додатково відносно кінця тягової рами 12 гідроциліндром 30 у вертикальній. Це дає можливість регулювати кут різання в залежності від грушу каналу, зменшувати до мінімуму тяговий опір, змінювати ходову частину трактора для покращення прохідності. Для розробки каналів на каналокопачах встановлюють лижи 20, що покрили прохідність.
Навісні плужні каналокопачі призначені для ровів глибиною 0,4…0,5 м і шириною дна 0,4…0,5 м. їх навішують стояка 32 на тяги 33 навісної системи або на поперечній трубча 35 задньої навісної рами. До рами робочого органа шарнірно прися 20, яку можна регулювати по висоті гвинтовим домкратом.
Плужні каналокопачі мають велику продуктивність, можуть працювати на різних ґрунтах, прості за конструкцією і в обслуговуванні створюють великий тяговий опір через недосконалість робочого органу зводять до швидкого зносу тягачів, утворюють нерівну поверхню дії і ' каналів, погано перерізують деревину, не мають механізму для витримування уклону дна каналу.
Тому плужні каналокопачі при влаштуванні каналів глибинок і 0,5…0,6 м застосовуються рідко.
Для прокладання борозн трапецоїдного перерізу для відведення вод, а також для утворення тимчасових зрошувачів і відвідних застосовують борозники з пасивним робочим органом. їх робочі о конструкцією аналогічні робочим органам плужних каналокопачін. Нині борозники простіші і менш металомісткі, ніж причіпні. Вони буваю і h ними колесами і без опорних коліс. Борозники без опорних коліс навішують на тяги стандартної навісної системи трактора через стояки з опорними колесами мають робочі органи змінними ножами. їх робочий орган кріпиться до рами, що важелі навісної системи трактора і має опорні колеса.
Відвальні каналокопачі мають робочий орган, що складаються з метричних груп відвалів грейдерного типу (рис. 6, а, б).
Улоговинонарізувач (рис. 6, в) – це різновидність навісного відвального для нарізування улоговин – неглибоких каналів з дуже похилими осами (1:5). Робочий орган улоговинонарізувача має два відвала грейдера типу з кутом у плані 70°. Спереду встановлено ніж для розрізання дер(чересло), знизу – леміш. Улоговини легко проходять трактори та інші.
Рис. 6.;Відвальні каналокопачі і улоговинонарізувач: а – схема причіпного відвального каналокопача; б – схема розтані відвалів причіпного каналокопача при прокладанні каналу; в на улоговинонарізувач; 1 – дишель; 2 – плужок; 3 – горизонтальні підішли – похилі відвали; 5 – опорна лижа; 6 – бермозачисник; 7 – пульт; 8 – кронштейн для кріплення похилих відвалів; 9 – гідроциліндри піднімання і опускання передньої частини рами; 10 – пневмоколеса; 11 – підйомні гідроциліндри; 12 – поперечна балка рами; 13 – стояк; 14 – підпірки; 15 – змінні ножі; 16 – гідроциліндр лижі; 17 – чересло (першим) ний ніж); 18 – важелі і тяги навісної системи; 19 – фактор; 20 – ворювач
Каналокопачі з ротаційними робочими органами мають фрези і ротори різної форми (рис. 7). Під час руху каналокопача вздовж осі розроблюваного Мітлу робочий орган обертається і здійснює копання ґрунту, підйом і видання його за межі перерізу каналу або подавання на транспортувальні органи, так і обваленого ґрунту. Ґрунт переміщується ротаційними робочими органами в площині, перпендикулярній до осі їх обертання. Ротаційні органи можуть працювати у двох режимах: у режимі фрез з розвантаженням ґрунту (колова швидкість на периферії робочого 8…30 м/с при роботі на легких торфових ґрунтах в зоні осушення і в ("жимі роторів з гравітаційним розвантаженням ґрунту (колова швидкість на робочого органа менше 6 м/с) при розробці важких мінеральних ґрунтів у зоні зрошення.
Рис. 7. Схеми основних ротаційних робочих органів каналокопачів: а – двофрезерний (двороторний) з віссю обертання, перпендикулярною до укосу; б – фрезерний з копіювальною фрезою; в-фрезерний з віссю обертання, похилою до осі каналу і до горизонту; г – те ж саме, двороторний; 1 – фреза (ротор); 2 – відвал
Форма і розміри перерізу розроблюваних лежать від розмірів, форми і кількості ротаційних робочих органів та ну і встановлення відносно осі розроблюваного каналу і горизонту. За цією і мій кою ротаційні роботі органи каналокопачів поділяють на три типи: обертання фрез (роторів) перпендикулярні укосам каналу (рис. 7, а) вісь обертання фрези (ротора) лежить у площині, яка перпендикулярна до напряму пересування машини (з копіювальними фрезами) коли осі обертання фрез (роторів) нахилені як до осі каналу, так і до гори (рис. 7, в, г).
Двофрезерні і двороторні каналокопачі копають канали заданого перерізу із спланованими дном і укосами за один прохід без вальних робіт. Двофрезерними каналокопачами розробляють осушувальні) глибиною до 1,5 м у болотно-торфових і заболочених мінеральний. Робочий орган такого каналокопача (рис. 8) являє собою дві конусні фрези 5 з ножами 6 по зовнішньому колу для розробки на внутрішній поверхні для його відкидання. Фрези, осі яких перпендикулярні укосам, фрезерують вузькі прорізи, утворюючі моїм профіль каналу. Ґрунт у середній частині перерізу каналу обішли і донизу, частково подрібнюється і викидається лопатками рівномірним шині по обидва боки каналу на відстань 9…20 м. Двовідвальний корпус прокладений канал від закидання ґрунтом, перемішує ґрунт, що обва фрез, полегшує обвалення ґрунту і остаточно зачищає і планує дно і каналу. Робочий орган навішується на трактор з навісною системою І І верхня тяга замінена гідроциліндром. Гідроциліндрами 3 робочі органи "і мають у транспортне положення і регулюють глибину каналу.
Рис. 8. Навісний двофрезерний каналокопач у транспортному: 1 – противага; 2 – трактор болотний; 3 – гідроциліндри навісної сік 4 – важелі навісної системи; 5 - фрези; 6 - ножі; 7 – двовідвальний норії)
В двороторного каналокопача дискові ротори мають 9… 10 Г.-подібних зубів без бокових стінок, які теж прорізають щілини, утворюючий попередні і н профіль каналу. Але вони здійснюють не інерційне, а гравітаційне навантаження ґрунту. Ґрунт, що заповнює простір між зубами, завдячуючи зміну роторів до горизонту, під дією ваги розвантажується на берми каналу, роторний робочий орган навішується на трактор за допомогою трикутної і пі стріли на шарнірах. Встановлення робочого органа в потрібне полоним (дійснюється гідроциліндрами. Каналокопач має гвинтовий механізм зміни ширини дна каналу і коефіцієнта закладання укосів.
Рис. 9. Причіпний фрезерний каналокопач з копіювальною фрезою: 1 – фреза; 2 – напрямний козирок; 3 – виносна рама (стріла); 4 – верхній важіль навіски; 5 – опорні котки; б – трактор; 7 – гідроциліндр; 8 – чашковий ніж
Шнеко-роторний каналокопач має робочий орган, який складається з розташованого ківшевого ротора, двох конічних або циліндричних юних шнеків і допоміжних відвалів. Ківшевий ротор розробляє середню мі піну поперечного перерізу каналу на ширину дна. Шнеки розробляють 11 пі вздовж укосів каналу і зміщують його вниз до ковшів ротора. Ґрунт, що захоплюється ротором і шнеками, обвалюється під дією власної ваги на укоси і, врешті-решт, підхоплюється ковшами ротора. Отже, увесь що знаходиться у поперечному перерізі каналу, виноситься ковшами ротора, розвантажується на два стрічкові транспортери і подає-I ц, і ч ними у дамби або кавальєри. Зміною нахилу шнеків можна змінювати закладання укосів каналу, а зміною відстані між шнеками або ковшів ротора регулювати ширину дна каналів. Допоміжні відвари остаточно зачищають дно і укоси каналу і зсувають ґрунт до ковшів два шнекороторних каналокопача: причіпний з багатомоторним дизель-електричним приводом (глибина каналів до 3 м) і напівнавісний її механічним приводом (глибина каналів до 2 м).
4. Машини для розрівнювання кавальєрів, планування дна і укосів
Лінія прокладання осушувальних і зрошувальних каналів машинами, що розкидають ґрунт, необхідно розрівнювати утворені кавальєри.
Дію і укоси планують після прокладання каналів машинами циклічної дії, у тих випадках, коли укладаються антифільтраційні облицювальні будь-якого виду або провадиться обдернування укосів чи стабілізація.
Машини для розрівнювання кавальєрів (кавальєророзрівнювачі) рухаються вздовж каналу і зсовують ґрунт кавальєру вбік від брівки з одночасним розрівнюванням за один або декілька проходів. Основні вимоги до машин у тому, щоб при розрівнюванні не було обсипання ґрунту в канал, а також щоб робочий орган не пошкоджував верхньої частині укосів, дернового покриву берми каналу.
Ширина захвату робочого органа повинна бути такою, щоб слід машини, що рухається.
Найбільш ефективні машини з пасивним відвальним робочим органом встановлено під кутом захвату 42…45° для торфу і 48…50° для мін рольних ґрунтів. Застосовують машини з переднім і заднім відвалами (рис. 11). Передній відвал складається із середньої частини і двох відкидних подовжувачів 2. Подовжувачі бувають поворотні і знімні. На машинах 11 носкою штовхальною рамою відвал навішують на охоплювальну раму 6. Для зміни кута різання знизу встановлені кульові шарніри. Зміна кута захвату встановленням між відвалом і рамою телескопічної рамки-розпірки (рис. 11, б).
Рис. 11. Схеми кавальєророзрівнювачів: а – з переднім відвалів паралелограмною навіскою і жорсткою рамкою-розпіркою; б – те і на плоскій штовхальній рамі з телескопічною рамкою-розпіркою и саме, з гідрокеруванням відвалом на плоскій штовхальній рамі і складаними зблокованими рамками; г – із заднім відвалом; передня частина відвала; 2 – подовжувач; 3 – штовхальна рама; 4 – піднімання і опускання відвала; 5 – важіль; 6 – рама; 7 – жорстка рамка-розпірка; 9 – лижа; 10 – телескопічна рамка-рочпірка 11 – плоска штовхальна рама; 12 – поворотна рама; 13 – механізм врізання; 14 – противага; 15 – механізм зміни кута захвату; 17 – задня охоплювальна рама; 18 – кронштейн; 19 – подовжувач
Сучасні кавальєророзрівнювачі мають гідравлічні механізми піднімати повороту і нахилу відвала. Для піднімання і опускання відвала 1 (рис. 11, в)















