146979 (730377)
Текст из файла
Тема: Гідропривод бульдозерів
Зміст
Вступ
1. Загальні відомості
2. Схеми гідравлічної системи
Перелік використаної літератури
Вступ
Залежно від потужності й конструкції бульдозери можуть працювати на різних ґрунтах: від болотистих і піщаних до розбірних, висаджених або розпушених порід і руд. Економічно вигідна дальність переміщення ґрунту бульдозером залежить від класу базового трактора, виду й міцності ґрунту й експлуатаційних розумів. Звичайно вона не перевищує 60 м.
При можливості перекосу відвала й достатнім тяговому зусиллі бульдозерами з неповоротним відвалом можна розробляти до 70% всіх видів ґрунтів, включаючи мерзлі й гірські породи, для яких звичайно потрібне попереднє розпушування. Бульдозери з поворотним відвалом мають обмежену область застосування. Їх в основному використовують для нарізки терас на косогорах, засипання траншів поперечними ходами й прокладки піонерних доріг. При цьому повернений у плані відвал дає деякі переваг. Положення центра тиску базових тракторів не дозволяє використовувати відвал, повернений у плані на кут менш 60° від поздовжньої осі. У зв'язку із цим безперервний схід ґрунту убік не забезпечується й тому робота безперервними поздовжніми ходами практично не дає ефекту. До 90-95% години такі бульдозери працюють із прямою установкою відвала.
Бульдозери класифікують по призначенню, номінальному тяговому зусиллю й різним конструктивним ознакам.
Робоче устаткування більшості бульдозерів і всіх скреперів оснащено гідравлічним приводом. Він служить для керування положенням елементів робочого устаткування при виконанні технологічних операцій.
1. Загальні відомості
Гідравлічний привод складається з наступних складових частин: насоса, що приводиться в дію від двигуна базової машини; виконавчого механізму, що представляє собою гідроциліндр; механізму керування - гідророзподільника; допоміжних пристроїв - гідробака, фільтра, гідролінії.
У гідравлічному приводі обертальний рух вала насоса перетворюється в поступальний рух поршня гідроциліндра. Енергія передається від насоса до гідроциліндрів робочою рідиною.
Принцип роботи гідроприводу розглянутий на Рис. 1. З гідробака 1 по усмоктувальній гідролінії 18 рідина подається в насос 17, що нагнітає її по напірній гідролінії 15 до насосної порожнини 12 гідророзподільника 14. Подальша робота гідроприводу залежить від положення рукоятки 9 і зв'язаного з нею золотника 11 гідророзподільника 14.
Гідророзподільник складається з корпуса 10, золотника 11, розміщеного в осьовому отворі, і рукоятки 9. До осьового отвору підведені свердління порожнин, що відгалужують. Порожнина 12 з'єднує гідророзподільник з насосом, порожнини 13 і 7 підводять робочу рідину до гідроциліндра 6, а зливальні порожнини 8 і 5 з'єднують гідророзподільник з гідробаком 1.
При положенні 1 паски золотника 11 перекривають доступ робочої рідини з порожнини 12 у порожнині 13 і 7, а також злив з них через порожнини 8 і 5. У цьому випадку робоча рідина, що знаходиться в гідроциліндрі, замкнений і керований елемент робочого устаткування нерухоме (нейтральне положення ІІ). Робоча рідина, надходячи від насоса 17 до гідророзподільника 14, підвищує тиск у напірній гідролінії 15 і, переборовши опір пружини переливного клапана 16, убудованого в гідророзподільник, зливається в гідробак 1.
При опущеному золотнику 11 (положення ІІ) порожнина 12 з'єднується з порожниною 13 гідроциліндра, а порожнина 7 - з порожниною 8 і шток гідроциліндра 6 починає висуватися.
Рис. 1. Принципові схеми роботи гідравлічного приводу
І - нейтральне положення, ІІ - ІV - робоче положення; 1 - гідробак, 2 - фільтр, 3, 4.15 , 18 - гідролінії, 5, 7, 8, 12, 13 - порожнини, 6 - гідроциліндр, 9 - рукоятка, 10 - корпус, 11 - золотник, 14 - гідророзподільник, 16 - гідроклапан, 17 – насос.
При піднятому золотнику (положення ІІІ) напрямок подачі зливу рідини міняється на протилежне і, отже, шток гідроциліндра переміщається в зворотному напрямку.
При опущеному в крайнє нижнє положення золотнику 11 порожнина 12 ізольована від обох порожнин 7, 13 гідроциліндра, що у цей час з'єднуються зі зливальними порожнинами 5 і 8. Таким чином, при впливі зовнішнього навантаження від робочого устаткування шток гідроциліндра переміщається, вільно перекачуючи робочу рідину, що знаходиться в ньому, з однієї порожнини в іншу. Таке положення називають "плаваючим" і використовують, наприклад, для бульдозерів при переміщенні ґрунту по поверхні без зарізання ножа відвала.
Робоча рідина, застосовувана в гідроприводах, повинна відповідати рядові вимог: мало змінювати в'язкість і не розкладатися при значних перепадах температур, не впливати на матеріали елементів системи, що ущільнюють, мати здатність протистояти піноутворенню. Робоча рідина одночасно є змащеємим й антикорозійним середовищем для агрегатів і гідроліній системи.
В'язкість характеризує здатність рідини пручатися відносному переміщенню її часток при впливі зовнішніх сил. Чим менш рухлива рідина, тим більшою несучою здатністю вона володіє. З підвищенням температури несуча здатність рідини зменшується. Щонайкраще вимогам, пропонованим до робочих рідин, відповідають мінеральні оливи ВМГЗ і МГ-30. Ці рідини по своїх властивостях можуть бути використані в експлуатації в холодний і жаркий час, тобто є всесезонними. Застосування таких рідин дозволяє знизити їхню витрату за рахунок зменшення втрат при заміні, скоротити витрати на транспортування і збереження, зменшити імовірність забруднення при заливанні. Допускається також застосовувати як робочу рідину дизельні оливи для літнього і зимового періодів, а також веретенна олива АУ.
2. Схеми гідравлічної системи
Гідравлічний привод робочого устаткування бульдозерів і скреперів являє собою так називану роздільно-агрегатну систему, окремі елементи якої розосереджені по всій машині.
Представлені нижче схеми гідросистем типові і для інших моделей бульдозерів.
Рис. 2. Схеми гідравлічних механізмів перекосу відвалів бульдозерів
а — ДЗ-101 і ДЗ-101А; б -ДЗ-110; в — ДЗ-110А и ДЗ-118 (в останньої моделі гідроциліндр перекосу розташований праворуч); г — ДЗ -35Б; 1 — штовхаючий брус; 2 - пальцевий шарнір; 3 - відвал; 4- гвинтовий розкіс; 5 - пальцеве з'єднання; 6 - гвинт; 7 - завзята шайба; 8- гідроциліндр перекосу; 9 - кульова опора зі сферичною втулкою; 10 — сферичний шарнір або шарнір зі сферичною втулкою; 11— шарнір із двома взаємно перпендикулярними пальцями; 12 — напрямна скоба на відвалі; 13 — опорна шайба; 14 — гвинт із голівкою; 15 — кронштейн бруса із втулкою; 16 — палець; 17 — растяжка; 18 — кульова опора
Гідросистема бульдозера-розпушувача (Рис. 3.) призначена для підйому - опускання відвала бульдозера, зміни кута поперечного перекосу відвала, а також підйому - опускання розпушувача.
Насос 2 постійної об'ємної подачі нагнітає робочу рідину з гідробака 1 у трьохсекційний гідророзподільник 5. Чотирьохпозиційна секція 12 гідророзподільника керує гідроциліндрами 3 і 4, встановлюючи відвал у фіксоване (нейтральне) положення, у положення підйому - опускання або "плаваюче".
Секції 11 і 10 гідророзподільника є трьохпозиційними і керують відповідно гідророзкосами 7 відвала і гідроциліндрами 8, 9 підйому - опускання розпушувача. "Плаваюче положення", для цих робочих операцій не потрібно.
У схемі передбачений двосторонній гідрозамок б, що замикає обидві порожнини гідроциліндра 7 і запобігаючий перетіканню робочої рідини і, отже, мимовільна зміна кута перекосу відвала під впливом зовнішніх навантажень.
Зливають рідина від зливальних гідроліній системи в гидробак 1 через фільтр 13.
Рис. 3. Гідравлічна схема бульдозера-розпушувача ДЗ-116А
1 - гідробак, 2 - насос, 3, 4, 8, 9 - гідроциліндри, 5 - гідророзподільник, 6 -гідрозамок, 7 - гідророзкіс, 10 - 12 - секції гідророзподільника, 13 - фільтр
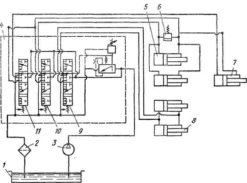
На Рис. 3 показане розміщення роздільно-агрегатної гідравлічної системи на тракторі Т-130М.
Насос 14 приводиться в дію від двигуна трактора і виключається рукояткою 13. Гідробаки 3 з'єднані між собою стяжною трубою, у якій установлений фільтр, і повідомляються між собою гідролінією 2 і повітряною трубкою 5. Гідророзподільник 11 встановлен у кабіну праворуч від сидіння машиніста. Від гідророзподільника 11 назад виведені три пари гідроліній 10 для з'єднання з гідросистемою бульдозера або скрепера. У бульдозері-розпушувачі використовують дві пари гідроліній для з'єднання з гідросистемою розпушувача.
Гідросистема причіпного скрепера (Рис. 4.) призначена для підйому - опускання ковша і заслінки, а також переміщення вперед та назад задньої стінки ковша.
На відміну від бульдозерно-розпушувального агрегату в скрепера використовуються всі три гідролінії 10 трактора (див. Рис. 3.3.), а передні гідроциліндри 12 і підведені до них гідролінії не встановлюють.
Гідророзподільник 4 (Рис. 5.) трехзолотниковий, трьозпозиційний. " Плаваюче положення", у скрепері не використовують. Золотник 11 керує гідроциліндром 7 задньої стінки, золотник 10 - гідроциліндрами 5 заслінки і золотник 9 - гідроциліндрами 8 підйому ковша.
Гідролінії від золотників 11 і 10 до штокових порожнин гідроциліндрів 5 і 7 з'єднані в одну гідролінію, що дозволяє скоротити кількість рукавів високого тиску і труб, прокладених між трактором і хоботом скрепера.
Рис. 4. Розміщення роздільно-агрегатної гідравлічної системи на тракторі
1 - зливальна пробка, 2 - гідролінія, що з'єднує баки, 3 - гідробаки, 4 - сапун, 5 - повітряна трубка, 6 - зливальна гідролінія від гідророзподільника, 7 - штуцер для манометра, 8 - гідролінія від насоса, 9, 13 - рукоятки, 10 - гідролінія до агрегатуючої машини, 11-гідророзподільник, 12 - гідроциліндр підйому - опускання відвала, 14 – насос.
Між штоковою і поршневою порожнинами гідроциліндрів 5 убудований запобіжний гідроклапан 6, що спрацьовує при тиску в гідролінії понад 4,5...5,5 Мпа. Гідроклапан захищає від поломок підоймовий механізм керування заслінкою, якщо між нею і ножами в момент підйому ковша з положення різання попадає камінь. У цьому випадку рідина в гідроциліндрах 5 через гідроклапан 6 перетікає зі штокової порожнини в поршневу.
Гідросистема самохідного скрепера принципово аналогічна розглянутої вище. Відрізняється схема тим, що в напірній гідролінії між гідророзподільником і гідроциліндрами підйому ковша убудовані гідравлічні замки. Вони призначені для надійної фіксації ковша в піднятому положенні і захисту рукавів високого тиску від динамічних навантажень, що виникають при високих швидкостях руху.
Елементи гідравлічного приводу. Конструкції основних елементів гідроприводу розглянуті нижче.
Рис. 5. Гідравлічна схема скрепера ДЗ-77
1 - гідробак, 2 - фільтр, 3 - насос, 4 - гідророзподільник, 5,7,8- гідроциліндри, 6 - гідроклапан, 9 - 11 – золотники.
Насос. У гідросистемах бульдозерів і скреперів застосовують однотипні шестеренні насоси, що розрізняються в основному розмірами й об'ємною подачею.
Принцип дії насоса (Рис. 6.) полягає в наступному. Ведена шестірня 4 і ведуча шестірня 5 рівної ширини знаходяться в зачепленні і розміщені з мінімальним радіальним зазором у корпусі 3. При обертанні шестерень робоча рідина переноситься з порожнини усмоктування В в порожнину нагнітання Б у вигляді порцій, що витісняються з западин зубів зубами другої шестірні. У результаті робоча рідина пульсує і при відповідній частоті обертання шестерень створює необхідну подачу і тиск у порожнині нагнітання. Шестірні 4 виконані за одне з валами і спираються на бронзові втулки 2, зафіксовані від повороту. Шейки втулок ущільнені в кришці 7 прокладкою 6, а виступаючий із кришки хвостовик шестірні 5 захищений манжетою 8, притиснутої стопорним кільцем 9. Стик кришки 7 і корпуса 3 ущільнений такою ж прокладкою 6, що запобігає витіканню робочої рідини з порожнини високого тиску Л, з'єднаної з порожниною Б корпуса насоса.
Рис. 6. Шестерінчастий насос (а) і схема роботи (б)
1 - болт, 2 - втулка, 3 - корпус, 4, 5 - шестірні, б - прокладка, 7 - кришка, 8 - манжета, 9 - кільце, 10 - переливний канал
Під тиском рідини в порожнини А торці втулок 2 притискаються до торців шестерень і торцеві розточення корпуса 5. У такий спосіб утворюється ущільнення між усіма внутрішніми торцями деталей насоса, що виключає перетікання рідини з порожнини Б в порожнину В. Причому торці притискаються тим сильніше, чим більше тиск у порожнині Б. Для розвантаження манжети 8 порожнина перед нею з'єднана з порожниною В корпуси 3 каналом 10. У такий спосіб рідина, що просочується в порожнину перед манжетою, відводиться в порожнину В.
Насос приводиться в дію через шлицьовий хвостовик шестірні 5. Підводять і відводять рідину до порожнин В и Б по отворах, розташованим на оброблених поверхнях припливів корпуса 3.
У процесі експлуатації насос не регулює.
Гідророзподільник. Гідророзподільник призначений для керуванн пуском, зупинкою і напрямком потоку робочої рідини від насосу до відповідним виконавчим механізмам - гідроциліндрам.
Характеристики
Тип файла документ
Документы такого типа открываются такими программами, как Microsoft Office Word на компьютерах Windows, Apple Pages на компьютерах Mac, Open Office - бесплатная альтернатива на различных платформах, в том числе Linux. Наиболее простым и современным решением будут Google документы, так как открываются онлайн без скачивания прямо в браузере на любой платформе. Существуют российские качественные аналоги, например от Яндекса.
Будьте внимательны на мобильных устройствах, так как там используются упрощённый функционал даже в официальном приложении от Microsoft, поэтому для просмотра скачивайте PDF-версию. А если нужно редактировать файл, то используйте оригинальный файл.
Файлы такого типа обычно разбиты на страницы, а текст может быть форматированным (жирный, курсив, выбор шрифта, таблицы и т.п.), а также в него можно добавлять изображения. Формат идеально подходит для рефератов, докладов и РПЗ курсовых проектов, которые необходимо распечатать. Кстати перед печатью также сохраняйте файл в PDF, так как принтер может начудить со шрифтами.















