ref-17951 (730308), страница 3
Текст из файла (страница 3)
Косым называют вооружение, в котором основными являются косые паруса. К ним относятся шхуны, тендеры, кечи, иолы, яхты.
К судам смешанного вооружения относятся баркентины и бригантины.
Рис. Парусное вооружение корабля:
I - бом-кливер; II - кливер; III - фор-стеньги-стаксель; IV - фор-стаксель; V - фок - нижний прямоугольный парус на фок-мачте; VI - фор-марсель - второй снизу прямой парус, расположенный на фор-стеньге; VII - фор-брамсель - третий парус расположенный на фор-брам-стеньге; VIII - фор-бом-брамсель - четвертый прямой парус, расположенный на фор-бом-брам-стеньге; IX - грот-стаксель; X - грот-стеньги-стаксель; XI - грот-брам-стаксель; XII - грот - нижний прямоугольный парус на грот-мачте; XIII - грот-марсель; XIV - грот-брамсель; XV - грот-бом-брамсель; XVI - апсель - косой парус между грот- и бизань-мачтами; XVII - крюйсель - прямой парус; XVIII - крюйс-брамсель; XIX - крюйс-бом-брамсель; XX - бизань - нижний косой парус (косая бизань).
Прямые паруса.
Прямые паруса имеют четырехугольную, прямоугольную или трапециевидную форму и своей верхней стороной крепятся к реям. Такие паруса устанавливают поперек судна. Нижняя часть паруса обычно несколько изогнута кверху. С помощью шкотов и галсов ее прикрепляют к нижележащему рею или к палубе судна. Повороты прямых парусов в нужное положение относительно ветра производят вместе с реями при помощи снастей, называемых брасами и закрепленных на ноках реев. Прямые паруса именуют по реям, к которым они прикреплены.
Паруса фок, грот и бизань называют нижними парусами, а остальные (марсели, брамсели и бом-брамсели) - верхними.
С ростом водоизмещения кораблей, мощности и количества артиллерии на них увеличивалась и площадь парусного вооружения. К примеру, в начальный период петровского кораблестроения (конец XVII века) корабли несли на фок- и грот-мачтах только по два прямых паруса, в начале XVIII века их ставили уже по три, а с конца XVIII века и первой половины XIX века - по четыре на трех мачтах. На чайных клиперах и барках количество прямых парусов достигало 6-7 на каждой мачте.
В петровские времена и вплоть до конца XVIII века в носу корабля (на бушприте) поднимали еще два прямых паруса - нижний блинд и бом-блинд. Нижний блинд располагали под бушпритом на блинда-рее, а бом-блинд на бом-блинда-рее, установленном на стеньге бушприта. С конца XVIII века эти паруса не ставят, а вместо них м
ежду фок-мачтой и удлиненным бушпритом (с помощью утлегаря и бом-утлегаря) стаои поднимать треугольные косые паруса - кливеры и стаксели.
К прямым парусам относятся и добавочные паруса - лиселя, которые добавляют к основным прямым парусам при попутном ветре. Ставят их по сторонам основных прямых парусов на особых рангоутных деревьях - лисель-спиртах, выдыигаемых с реев. Лиселя ставили только на фок- и грот-мачтах.
Рис. Лиселя с левого борта:
I - ундер-лисель; II - марса-лисель; III - брам-лисель; 1 - выстрел; 2 - реек ундер-лиселя; 3 - марса-лисель-спирт; 4 - реек марса-лиселя; 5 - брам-лисель-спирт; 6 -реек брам-лиселя.
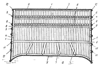
Р
ис. Детали прямых парусов:
а - нижний парус; б - верхний парус; 1- ликтрос; 2 - верхняя шкаторина; 3 - подшивка; 4 - боковые шкаторины; 5 - нижняя шкаторина; 6 - ванты; 7 - боуты; 8 - риф-сезни; 9 - риф-кренгельсы; 10 - кренгельсы риф-талей; 11 - кренгельсы шпрюйта буленей; 12-13 - угловые кренгельсы; 14 - кренгельсы из троса; 15 - кренгельсы с коушем.
Р
ис. Крепление прямого паруса к рею:
а - в XIX веке; б - в XVII веке; в - наложение шлагов вокруг рея; 1 - рей; 2 - верхняя шкаторина паруса; 3 - леер рея; 4 - люверсы; 5 - реванты; 6 - ноковый кренгельс; 7 - бензель нокового кренгельса; 8 - ликтрос.
3
















