146834 (730301), страница 7
Текст из файла (страница 7)
Жидкости "Нева", "Томь", "Роса" работоспособны до -40...-45 °С.
Для автомобилей, эксплуатирующихся в районах Крайнего Севера, необходима специальная жидкость, у которой вязкость при -55°С должна быть не более 1500 мм"/с. При отсутствии такой жидкости практикуется разбавление жидкости "Нева" и "Томь" 18...20% этилового спирта. Такая смесь работоспособна при температуре до -60 ^С, однако имеет низкую температуру кипения и не обеспечивает герметичности резиновых манжетных уплотнений. Поэтому разбавление жидкости спиртом -вынужденная мера, и по окончании зимней эксплуатации смесь следует заменить.
Жидкости "Нева", "Томь", "Роса" совместимы, их смешивание между собой возможно в любых соотношениях. Смешивание указанных жидкостей с БСК недопустимо, так как приведет к расслоению смеси и потере необходимых эксплуатационных свойств.
Зарубежными аналогами жидкостей "Нева" и "Томь" являются жидкости соответствующие международной классификации ДОТ-3, которые имеют температуру кипения более 205 'С, а для жидкости "Роса" -жидкости ДОТ-4 с температурой кипения более 230 °С.
Жидкости типа БСК на современных моделях автомобилей за рубежом не применяются.
3.3. Охлаждающие жидкости
Требования, предъявляемые к жидкости для систем охлаждения двигателей, весьма разнообразны. Такая жидкость не должна замерзать и кипеть во всем рабочем диапазоне^ температур двигателя, легко прокачиваться при этих температурах, не воспламеняться, не вспениваться, не воздействовать на материалы системы охлаждения, быть стабильной в эксплуатации и при хранении, иметь высокую теплопроводность и теплоемкость.
В наибольшей степени этим требованиям отвечает вода и водные растворы некоторых веществ.
Вода имеет целый ряд положительных свойств: доступность, высокую теплоемкость, пожаробезопастность, нетоксичность, хорошую прокачиваемость при положительных температурах.
К недостаткам воды следует отнести: неприемлемо высокую температуру замерзания и увеличение объема при замерзании, недостаточно высокую температуру кипения и склонность к образованию накипи. Эти недостатки ограничивают применение воды в качестве охлаждающей жидкости. Однако в тех климатических зонах, где не бывает низких температур или автомобили эксплуатируются только в летний период, вода может применятся в системах охлаждения автомобилей. В этом случае важно знать ее свойства, чтобы избежать нежелательных последствий от эксплуатации двигателей на воде.
В первую очередь это относится к накипи - твердым и прочным отложениям на горячих стенках системы охлаждения, образующимся в результате оседания на стенках бикарбонатов, сульфатов и хлоридов кальция и магния, содержащихся в воде.
Образование накипи кроме ухудшения теплоотвода приводит к увеличению расхода топлива. Так, при толщине накипи 1,5...2 мм расход топлива может возрасти на 8...10 %. Это происходит вследствие
недопустимого повышения температурного режима цилиндропоршневой группы из-за термического сопротивления слоя накипи.
Для предупреждения образования накипи в системе охлаждения используется два способа:
•введение антинакипинов (хромпик КзСг207, нитрат аммония NH4N0.3);
•умягчение воды перед заливкой в систему (кипячением, перегонкой или обработкой кальцинированной содой МазСОз).
Наличие у современных двигателей двухконтурной системы охлаждения с термостатом исключает возможность применения воды в зимнее время. Это связано с тем, что после пуска охлаждающая жидкость для более быстрого прогрева двигателя циркулирует только по малому контуру, минуя радиатор. Время открытия термостата и циркуляции по большому контуру может быть достаточно большим, особенно при низких температурах. В течение -этого времени вода в радиаторе без циркуляции может замерзнуть, что приведет к его размораживанию.
При определенных условиях эксплуатации автомобилей: высокой температуре окружающего воздуха, буксировке прицепа, движении по бездорожью на пониженных передачах и т. д. - охлаждающая жидкость может нагреться до температуры кипения. Эффективность охлаждения в этом случае резко падает, двигатель перегревается, возможен его выход из строя. Для устранения этого необходимо применять охлаждающую жидкость с повышенной температурой кипения и герметизировать систему охлаждения.
Системы охлаждения современных двигателей герметичны, и жидкость в них находится под небольшим давлением, обычно около 0,05 МПа, которое поддерживается клапаном радиатора. В новых моделях автомобилей давление в системе охлаждения еще выше (0,12 МПа) и поддерживается клапаном в расширительном бачке. При давлении 0,05 МПа вода кипит при 1 12 °С, а при 0,12 Мпа - при 124 °С.
В последние десятилетия получили широкое распространение низкозамерзающие охлаждающие жидкости - антифризы на основе водных растворов этиленгликоля (СН^ОН-СНзОН) с температурой кипения 197 °С. В отличие от воды при замерзании антифризы не расширяются и не образуют твердой сплошной массы. Образуется рыхлая масса кристаллов воды в среде этиленгликоля. Такая масса не приводит к размораживанию блока и не препятствует запуску двигателя. Антифриз после пуска двигателя довольно быстро переходит в жидкое состояние. Однако прогрев отопителя салона затрудняется, поэтому необходимо поддерживать такую концентрацию антифриза, чтобы он не замерзал до температуры —40...—35 °С.
Антифризам присущи некоторые недостатки. Так, их теплопроводность и теплоемкость ниже, чем у воды, что несколько снижает эффективность систем охлаждения.
При нагреве антифризы увеличивают объем, ввиду чего в системе охлаждения устанавливается расширительный бачок. Этиленгликоль коррозионно агрессивен по отношению к металлам, поэтому в антифризы при изготовлении добавляют специальные антикоррозионные и противопенные присадки. Общее содержание присадок составляет 3...5%.
Температура кипения антифриза достаточно высока и составляет 120...132 "С. Поэтому в герметичной системе охлаждения современного автомобиля при нормальных условиях эксплуатации (без перегрева двигателя) потери антифриза происходят преимущественно из-за утечек (микрощели в радиаторе, ослабление креплений хомутов на шлангах и другие неисправности).
Восполнять уровень антифриза в системе охлаждения водой нежелательно, так как при этом снижается концентрация этиленгликоля в смеси, что ведет к повышению температуры замерзания.
В табл. 19.2 приведены основные характеристики антифризов, выпускаемых в нашей стране.
Наиболее широко на автомобилях применяется антифриз Тосол А40-М.
Допустимый срок службы антифриза "Тосол А40-М" составляет до 3 лет эксплуатации автомобилей или 60 тыс. км пробега.
При более длительных сроках эксплуатации на некоторых деталях системы охлаждения начинают появляться очаги коррозии, в первую очередь на крыльчатке водяного насоса, т.е. на чугуне. Корродируют также детали из алюминия, припой в радиаторе, латунные трубки радиатора и корпус термостата.
Антифриз в процессе эксплуатации изменяет свои характеристики:
снимается запас щелочности, увеличивается склонность к ценообразованию, возрастает агрессивность к резине и увеличивается способность вызывать коррозию металлов. Интенсивность изменения характеристик антифриза зависит от средней рабочей температуры в двигателе, В южных районах, где эти температуры обычно более высокие, антифриз стареет интенсивнее. В северных же районах страны антифриз может служить и более -грех лет.
Таблица 19.2 Основные характеристики антифризов
| Показатели | Тосолы (ТУ 6-02-751-78) | Концентрированный •этиленгли-коль | Антис^ризы (ГОСТ 1 59-52) |
| Тосол AM | Тосол А-40М | Тосол А-65М | 40 | 65 | ||
| Внешний вид жидкости | Голубая | Красная' | Светло-желтая слегка мутная | Оранжевая слегка мутная | ||
| Плотность при 20°С кг/м3 | 1120... 1140 | 1075... 1085 | 1085... 1095 | 1110...1116 | 1067... 1072 | 1085... 1090 |
| Температура замерзания, °С, не выше | - | -40 | -65 | - | -40 | -65 |
| Температура кипения, °С, не ниже | 170 | 108 | 115 | - | 100 | 100 |
| Состав.%: | ||||||
| этилснгликоль | 96 | 58...66 | 60...64 | 94 | 52 | 64 |
| вода | 3,0 | 44 | 35 | 5 | 47 | 35 |
| присадки | 6...7 | З...3,5 | 3,5...4 | 6...8 | 3,5..,4,5 | 4...4,5 |
| (сверх 100%) | ||||||
Трехлетний срок службы "Тосола А40-М" гарантируется только при поддержании в течение этого времени требуемой плотности антифриза - не менее 1075 кг/м\ Добавление более 1л свежего концентрата увеличивает срок службы антифриза примерно на год.
Охлаждающая жидкости "Лена-40" по свойствам близка к "Тосолу А40-М", но меньше корродирует чугунные и алюминиевые детали.
4. АВТОМОБИЛЬНЫЕ ШИНЫ
4.1. Конструкция и классификация шин
Шины - неотъемлемый элемент автомобиля, в значительной степени определяющий уровень его эксплуатационных свойств и эффективность использования. От шин зависят проходимость и экономичность, динамичность и безопасность движения, шумность и плавность хода. Поэтому шинам уделяют большое внимание как специалисты-практики, так и исследователи.
Первые шины были созданы в конце прошлого века. С тех пор они постоянно совершенствовались. Конструкции современных шин исключительно разнообразны.
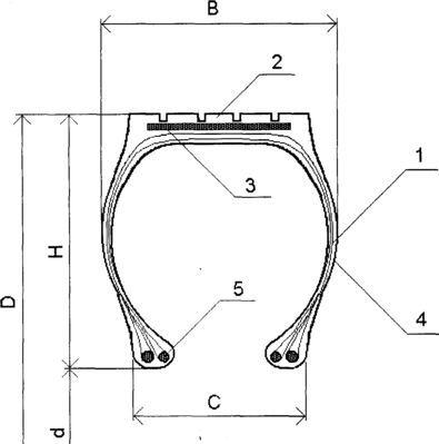
Тем не менее одинаковым для всех конструкций остается то, что шина является оболочкой вращения. На ободе колеса она крепится жесткими бортами, основой которых являются проволочные кольца 5 (рис.
20.1). Силовой основой является система обрезиненных слоев корда, которые охватывают всю шину и заворачиваются за бортовые кольца, образуя каркас 2.
От внешних воздействий каркас защищен протектором 2 и боковинами 4. Слой корда, расположенный под протектором, называется брокером 3.
Шина работоспособна только при избыточном внутреннем давлении, поэтому внутренняя ее полость герметизуется.
Наиболее важными признаками, по которым классифицируются шины, являются вид транспортных средств, для которых они предназначены, направление нитей корда в каркасе, способ герметизации внутренней полости, соотношение высоты Н (рис. 20.1) и ширины В профиля, тип рисунка протектора.
По виду транспортных средств автомобильные шины делятся на следующие группы: для легковых автомобилей; для грузовых автомобилей малой грузоподъемности и микроавтобусов; для грузовых автомобилей, прицепов к ним и автобусов.
Наиболее важным классификационным признаком является направление нитей корда. Абсолютное большинство шин относится к двум основным конструктивным типам: диагональному и радиальному (рис. 20.2.).
В диагональных шинах нити корда смежных слоев перекрещиваются. В районе экватора оболочки углы межу нитями и меридианами составляют 45...60° (меридианом шины называют линию пересечения поверхности шины с плоскостью, проходящей через ось вращения; экватор - линия пересечения поверхности с плоскостью, перпендикулярной оси вращения и делящей шину на две равные части).
Рис. Основные элементы и размеры шины:
20.1. 1 - каркас, 2 - протектор, 3 - брекер, 4 - боковина, 5 - бортовое кольцо; В - ширина профиля, D - наружный диаметр, d - посадочный диаметр, Н - высота профиля, С - раствор бортов
В радиальных шинах направление нитей корда в каркасе совпадает с меридианами, а в брекере угол между нитями и меридианами составляет 60...75°. В настоящее время более 80% выпускаемых в мире шин имеют радиальную конструкцию.
По способу герметизации внутренней полости шины делятся на камерные и бескамерные. Бескамерные работают в более благоприятном тепловом режиме благодаря более интенсивной теплопередаче через обод колеса.
По соотношению высоты и ширины профиля шины делятся на шесть групп (табл. 20.1). Наблюдается тенденция к дальнейшему снижению профиля.
















