146818 (730274)
Текст из файла
МИНИСТЕРСТВО ОБЩЕГО И ПРОФЕССИОНАЛЬНОГО ОБРАЗОВАНИЯ РФ
Нефтеюганский Индустриальный Колледж
Заочное отделение
Контрольная работа № 1.
по предмету:
Раздел «Устройство автомобилей.»
Ф.И.О.учащегося:
Кочнов Юрий Викторович
шифр 1933 группа 4ТЗ-98
Преподаватель:
Мишкуц В.А.
Оценка работы:_____________
Дата проверки:_____________
г. Нефтеюганск, 2000г.
1.Автомобильные двигатели.
По способу смесеобразования и воспламенения топлива автомобильные поршневые двигатели подразделяются на две группы: с внутренним смесеобразованием и воспламенением от соприкосновения с воздухом, сильно нагретым в цилиндре в результате высокого сжатия (дизели); с внешним смесеобразованием и принудительным зажиганием от искры (карбюраторные и газовые).
Сравнительная характеристика работы дизельных и карбюраторных двигателей.
Конструктивно дизельные двигатели, как и бензиновые, относятся к двигателям внутреннего сгорания. Главным их отличием является устройство системы питания и процесс сгорания топлива. В цилиндры дизеля всасывается чистый воздух. Затем он сжимается до степени сжатия в среднем 21-22 и при этом нагревается до высоких температур, порядка 600 град.С. После этого в камеру сгорания впрыскивается топливо, которое самовозгорается, и происходит рабочий цикл. Таким образом, свечей зажигания, в отличие от бензиновых силовых агрегатов, для дизелей не требуется.
Для подачи топлива в дизельных силовых установках используется специальный топливный насос высокого давления (ТНВД), который также распределяет топливо по цилиндрам и производит впрыск через форсунки в строго определенный момент времени, определяемый углом опережения впрыска. ТНВД и форсунки являются устройствами прецизионной точности. Плунжеры насоса и штифты форсунок в процессе работы смазываются поступающим дизельным топливом. Поэтому исключительно важна чистота подаваемого топлива. Топливо не должно содержать механических примесей, воды, а также соединений серы, которые сильно изнашивают ТНВД. Для очистки топлива используются специальные фильтры грубой и тонкой очистки, которые, согласно инструкции, нужно периодически очищать и заменять. Излишки топлива, образующиеся в процессе работы, отводятся от форсунок и ТНВД по трубопроводу и направляются обратно в бак.
Процесс сгорания топлива в дизелях происходит при большом давлении, поэтому силы, воздействующие на цилиндро-поршневую группу, выше, чем в бензиновых двигателях. Шумность дизеля выше, чем у бензиновых моторов, что тоже объясняется особенностями сгорания топлива.
В то же время имеется целый ряд преимуществ дизельного двигателя, обеспечивающих последнему широкое распространение. Во-первых, это высокие надежность и моторесурс. Во-вторых, двигатели подобного типа более экономичны, в том числе и на холостом ходу. Дизели обеспечивают высокий крутящий момент, с вытекающим отсюда улучшением тяговых характеристик автомобиля. При одинаковой мощности с бензиновым двигателем, крутящий момент дизеля существенно выше. И, наконец, пожаробезопасность: дизельное топливо с трудом воспламеняется от огня на воздухе.
Показатели работы автомобильного двигателя. Мощность, ( развиваемую газами внутри цилиндров двигателя, называют индикаторной, а мощность, получаемую на коленчатом валу двигателя, — эффективной. Эффективная мощность меньше индикаторной на величину потери мощности на трение и приведение в действие кривошипно-шатунного механизма и механизма газораспределения, вентилятора, жидкостного, масляного и .топливного насосов, генератора тока и других вспомогательных механизмов.
Крутящий момент и эффективная мощность тем больше, чем больше рабочий объем двигателя (диаметр и число цилиндров, ход поршня) и чем выше наполнение цилиндров горючей смесью (или воздухом) и степень сжатия.
Эффективная мощность дизеля зависит также от частоты вращения коленчатого вала, количества впрыскиваемого топлива и момента начала впрыскивания.
Мощность карбюраторного и газового двигателей также зависит от частоты вращения коленчатого вала, состава горючей смеси и момента искрового разряда между электродами свечи.
Литровая мощность (кВт/л) — отношение максимальной эффективной мощности двигателя к его рабочему объему (литражу). Повышают
литровую мощность увеличением частоты вращения коленчатого вала и применением наддува.
Так как у дизеля в режиме максимальной мощности частота вращения коленчатого вала намного меньше, а состав смеси беднее, чем у карбюраторного или газового двигателя, то и литровая мощность его составляет не более 20 кВт/л, тогда как у карбюраторных и газовых двигателей она достигает 20—50 кВт/л (большее значение — для легковых автомобилей). Объясняется это тем, что у дизеля больше масса поршня и других деталей кривошипно-шатунного механизма, совершающих возвратно-поступательное движение. Поэтому, чтобы предотвратить чрезмерное возрастание сил инерции этих деталей, частоту вращения коленчатого вала дизеля в режиме максимальной мощности ограничивают существенно меньшими значениями. Более бедные составы смесей, сжигаемых в дизелях, обусловлены малым временем, отводимым на процессы смесеобразования (порядка 0,002—0,004 с).
Удельный эффективный расход топлива [г/(кВт • ч)] — количество топлива в граммах, расходуемого двигателем на получение в течение 1 ч эффективной мощности в 1 кВт. Удельный эффективный расход топлива является показателем экономичности двигателя. В технической характеристике двигателя обычно указывают минимальный удельный расход топлива при работе двигателя по внешней скоростной характеристике, который составляет для дизелей 200—230 г/(кВт • ч), а для карбюраторных двигателей — 245—305 г/(кВт • ч).
Таким образом, подведя итоги можно назвать ряд основных преимуществ и недостатков дизельных и карбюраторных двигателей друг перед другом.
Дизели более экономичны по расходу топлива, чем карбюраторные и газовые двигатели. Это объясняется высокой степенью сжатия, улучшающей использование выделяющейся теплоты в результате большего расширения продуктов сгорания в течение рабочего хода.
Кроме того, дизели потребляют более дешевые сорта нефтяных топлив и менее опасны в пожарном отношении. Дизели имеют большой ресурс до капитального ремонта (400—800 тыс. км пробега автомобиля).
Однако дизели дороже в производстве (в 1,5—2 раза) и имеют большую массу, чем карбюраторные и газовые двигатели, поэтому их устанавливают на автомобили большой и особо большой грузоподъемности — МАЗ, КрАЗ, КамАЗ, а в ближайшее время предполагается увеличить выпуск дизельных грузовых автомобилей ЗИЛ и ГАЗ.
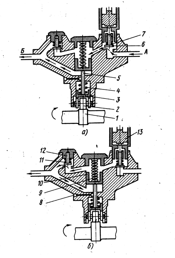
2.Топливоподкачивающий насос ЯМЗ-23.
Топливоподкачивающии насос (топливный насос низкого давления) двигателя ЯМЗ-236 поршневого типа. Он обеспечивает подачу топлива к насосу высокого давления.
Принцип работы.
Поршень 10 насоса (рис. 1, б) перемещается вверх под действием ролика 2 толкателя, приводимого от эксцентрика I кулачкового вала топливного насоса высокого давления, а вниз — усилием пружины 9 поршня.
При движении поршня вниз над ним создается разрежение и топливо через впускной клапан 6 поступает в полость над поршнем. Нагнетательный клапан 12 при этом закрыт (рис. 1, а).
Во время подъема поршня 10 давлением топлива открывается нагнетательный клапан 12. Топливо поступает к фильтру тонкой очистки и частично в полость под поршнем 10. При последующем движении поршня 10 вниз топливо из-под поршня вытесняется в фильтр тонкой очистки и далее к топливному насосу высокого давления.
При малом расходе топлива под поршнем 10 насоса создается избыточное давление, и он не доходит до крайнего нижнего положения. Следовательно, подача топлива автоматически уменьшается.
Дренажный канал, 8 отводит топливо, стекающее по штоку, 5 во всасывающую полость насоса. Этим предотвращается разжижение масла в картере топливного насоса высокого давления.
Ручным насосом 13 заполняют систему питания топливом при неработающем двигателе и удаляют воздух из системы.
Рис.1. Схема топливоподкачивающего насоса:
а — всасывание, б — нагнетание; 1 — эксцентрик кулачкового вала насоса высокого давления, 2 — ролик толкателя, 3— поршень толкателя, 4, 7, 9, 11 — пружины, 5 — шток, 6 — впускной клапан, 8—дренажный канал, 10 —поршень насоса, 12— нагнетательный клапан, 13—ручной насос; А — из топливного бака, Б — к фильтру тонкой очистки.
3.Сцепление автомобиля МАЗ-54227.
Назначение сцепления и условия работы. Сцепление автомобиля служит для кратковременного разъединения коленчатого вала двигателя от коробки передач и их плавного соединения, которые необходимы при переключении передач и трогании автомобиля с места. Устанавливаемое на автомобиле сцепление предназначено: для передачи крутящего момента от двигателя к силовой передаче (трансмиссии) автомобиля; обеспечения постоянного возрастания усилий в ней при трогании автомобиля с места, т. е. плавного трогания, предохранения двигателя и трансмиссии от динамической перегрузки при резком изменении скорости автомобиля.
Действие дискового сцепления основано на использовании сил трения, возникающих между трущимися поверхностями – дисками. Диски сцепления различаются на ведущие, связанные с маховиком, т.е. вращающиеся вместе с ним, и ведомые, связанные с ведущим валом коробки передач.
По числу ведомых дисков сцепления разделяются на однодисковые и двухдисковые.
Устройство и работа
Сцепление автомобиля МАЗ - 54227(рис. 2) — двухдисковое, сухое, фрикционного типа, с периферийным расположением цилиндрических пружин, установлено в литом чугунном картере.
Нажимный 22 и средний ведущий 26 диски сцепления отлиты из специального чугуна и имеют на наружной поверхности четыре равномерно расположенных по окружности обработанных шипа, которые входят в пазы на маховике.
Такое соединение дает возможность перемещаться дискам в осевом направлении и одновременно обеспечивает передачу крутящего момента от маховика к нажимному и среднему ведущему дискам. На нажимный диск 22 постоянно действуют нажимные пружины 20, опирающиеся другим концом на кожух 19. Между поверхностями фрикционных накладок ведомых дисков и рабочими поверхностями маховика, среднего и нажимного дисков возникает сила трения, необходимая для передачи крутящего момента от двигателя к коробке передач. Для установки пружин 20 в кожухе сцепления имеются направляющие стаканы, а в нажимном диске — направляющие стержни.
Для предохранения пружин от нагрева и отпуска, возможных при длительном буксовании сцепления, под каждую пружину со стороны диска подложена теплоизоляционная прокладка из прессованного асбестового картона.
Передний и задний ведомые диски невзаимозаменяемы и установлены на шлицах первичного вала в определенном положении, как показано на рисунке.
Рис2. Сцепление МАЗ-54227.
1 — отжимная пружина; 2 — шток; 3 — кольцо. 4 — планка; 5 — оттяжной рычаг; б — вилка оттяжного рычага; 7 — регулировочная гайка; 8 — опорная пластина; 9 — стопорная пластина; 10—пружина оттяжного рычага; 11—муфта выключения сцепления с подшипником; 12 — шланг подачи смазки к муфте выключения сцепления; 13 — вилка; 14 — упорное кольцо оттяжных рычагов; 15 — вал вилки выключения сцепления;16 — рычаг; 17 — палец;18 — крышка люка картера сцепления; 19 — кожух сцепления; 20 — нажимная пружина; 21 - теплоизоляционная прокладка пружины; 22 — нажимный диск; 23—крышка люка картера маховика; 24 –маховик; 25 — ведомые диски; 26—средний ведущий диск; 27 — упорный штифт; 28 — диск гасителя крутильных колебаний; 29 — фрикционные кольца гасителя; пружина гасителя; А — минимальный ход муфты выключения сцепления
Ведомые диски 25 невзаимозаменяемы и также установлены на шлицах первичного вала в определенном положении. Они состоят из ступицы, диска с фрикционными накладками и гасителя крутильных колебаний.
Гаситель предохраняет сцепление от воздействия крутильных колебаний, передающихся от коленчатого вала двигателя, а также обеспечивает более плавное включение сцепления и создает благоприятные условия для работы зубчатых зацеплений передач.
Характеристики
Тип файла документ
Документы такого типа открываются такими программами, как Microsoft Office Word на компьютерах Windows, Apple Pages на компьютерах Mac, Open Office - бесплатная альтернатива на различных платформах, в том числе Linux. Наиболее простым и современным решением будут Google документы, так как открываются онлайн без скачивания прямо в браузере на любой платформе. Существуют российские качественные аналоги, например от Яндекса.
Будьте внимательны на мобильных устройствах, так как там используются упрощённый функционал даже в официальном приложении от Microsoft, поэтому для просмотра скачивайте PDF-версию. А если нужно редактировать файл, то используйте оригинальный файл.
Файлы такого типа обычно разбиты на страницы, а текст может быть форматированным (жирный, курсив, выбор шрифта, таблицы и т.п.), а также в него можно добавлять изображения. Формат идеально подходит для рефератов, докладов и РПЗ курсовых проектов, которые необходимо распечатать. Кстати перед печатью также сохраняйте файл в PDF, так как принтер может начудить со шрифтами.








