146818 (730274), страница 2
Текст из файла (страница 2)
Гарантированные зазоры между ведомыми дисками и поверхностями тре- ния маховика, среднего ведущего и нажимного дисков при выключении сцепления по мере износа накладок обеспечиваются специальным механизмом автоматической регулировки отхода среднего диска. Этот механизм состоит из штоков 2 (см. рис. ), закрепленных в каждом из четырех типов среднего ведущего диска, разрезных колец 3, для перемещения по штоку которых необходимо определенное усилие, и упорных планок 4, которые крепятся с кожухом сцепления болтами к маховику.
При выключении сцепления нажимный диск 22 отходит назад не менее чем на 2 мм и освобождает второй ведомый диск 25. Средний |ведущий диск 26 под действием пружин 30 также отходит назад до упора кольца 3 в планку 4 на величину. 1,2±0,1 мм, освобождая первый ведомый диск 25.
По мере износа фрикционных накладок сцепления средний ведущий диск под действием нажимных пружин диска перемещается к маховику. Кольца 3 при этом упираются в кожух сцепления, перемещаясь по штокам 2 и сохраняя размер между кольцами и упорными планками.
Выключающее устройство сцепления состоит из четырех оттяжных рычагов, которые пальцами соединяются с нажимным диском и вилкой 6. Опорами осей рычагов 5 на нажимном диске являются имеющиеся в нем двойные приливы, обработанные соосно. Рычаги опираются на оси через игольчатые ролики. Продольное смещение осей ограничивает чека, входящая в паз оси. Опорами вилок рычагов на кожухе служат регулировочные гайки 7, навинченные на концы вилок. Гайки прижаты к кожуху сцепления опорными пластинами 8. Вследствие упругости пластин 8, а также сферической поверхности регулировочных гаек, опирающихся на кожух, вилки могут совершать небольшие качательные движения, вызываемые перемещением рычагов при включении и
выключении сцепления. Опора вилок на пальцы рычагов подобна опоре рычагов на нажимном диске и состоит из игольчатых роликов.
С помощью пружины 10 оттяжные рычаги прижимаются к упорному кольцу 14.
Муфта 11 выключения сцепления свободно посажена на втулку, которая одновременно является и крышкой подшипника первичного вала коробки передач. В муфте выключения сцепления имеются два прилива, в отверстия которых вставляются сухари для упора вилки 13 выключения сцепления и предохранения муфты от износа.
На переднюю проточку муфты выключения сцепления посажен специальный упорный шарикоподшипник. При выключенном сцеплении между упорным подшипником и кольцом 14 должен быть зазор 3,1—4,1 мм, который обеспечивается регулировкой положения вилки выключения сцепления. Отсутствие этого зазора приводит к неполному включению сцепления.
Вилка выключения сцепления неподвижно закреплена на валу 15, который установлен во втулках, запрессованных в соосно расточенные отверстия в приливах картера сцепления. Выходной конец вала 15 имеет мелкие остроугольные шлицы, на которые надевается рычаг 16 вала вилки выключения сцепления.
Привод выключения сцепления с пневматическим усилителем показан на рис.3 . Клапан 17 с тягой 14 в сборе включены в механический привод последовательно, а рабочий цилиндр 27 усилителя установлен непосредственно на силовом агрегате параллельно механическому приводу. Валик 22 вилки выключения сцепления соединен двуплечим рычагом 27 со штоком 19 клапана и штоком 26 рабочего цилиндра.
Рис.3 . Привод выключения сцепления:
/, 22— валики; 2, 11, 20, 25— вилки; 3. 13, 24 — гайки; 4, 7, 14 — тяги; 5 — педаль; 6 — промежуточный двуплечий рычаг; 8—оттяжная пружина; 9 — задний кронштейн;
10 и 12— рычаги; 15 и 1б—шланги; 17 — клапан усилителя сцепления; 18 — регулиро-вочная гайка; 19 — шток клапана; 21—двуплечий рычаг выключения сцепления;
23 — болт; 26 — шток рабочего цилиндра; 27 — рабочий цилиндр
4. Регулятор тормозных сил КАМАЗ.
.
Автоматический регулятор тормозных сил предназначен для автоматического регулирования давления сжатого воздуха, подводимого при торможении к тормозным камерам мостов задней тележки автомобилей КамАЗ в зависимости от действующей осевой нагрузки. Регулятор установлен на кронштейне 1 (рис. 4), закрепленном на поперечине рамы автомобиля. Регулятор крепится на кронштейне гайками.
Р
ычаг 3 регулятора с помощью вертикальной тяги 4 соединен через упругий элемент 5 и штангу 6 с балками мостов 8 и 9 задней тележки. Регулятор соединен с мостами таким образом, что перекосы мостов во время торможения на неровных дорогах и скручивание мостов вследствие действия тормозного момента не отражаются на правильном регулировании тормозных сил. Регулятор установлен в вертикальном положении. Длина плеча рычага 3 и положение его при разгруженной оси подбираются по специальной номограмме в зависимости от хода подвески при нагружении оси и соотношения осевой нагрузки в груженом и порожнем состоянии.
Рис. 4. Установка регулятора тормозных сил:
1—кронштейн регулятора; 2-регулятор; 3—рычаг; 4—штанга упругого элемента; 5—упругий элемент; 6—соединительная штанга; 7—компенсатор; 8—средний мост; 9—-задний мост
При торможении сжатый воздух от тормозного крана подводится к выводу / (рис. 5) регулятора и воздействует на верхнюю часть поршня 18, заставляя его перемещаться вниз. Одновременно сжатый воздух по трубке / поступает под поршень 24, который перемещается вверх и прижимается к толкателю 19 и шаровой пяте 23, находящейся вместе с рычагом 20 регулятора в положении, зависящим от величины нагрузки на ось тележки. При перемещении поршня 18 вниз клапан 17 прижимается к выпускному седлу толкателя 19. При дальнейшем перемещении поршня 18 клапан 17 открывается от седла в поршне и сжатый воздух из вывода / поступает в вывод // и далее к тормозным камерам мостов задней тележки автомобиля.
Одновременно сжатый воздух через кольцевой зазор между поршнем 18 и направляющей 22 поступает в полость А под диафрагму 21 и последняя начинает давить на поршень снизу. При достижении на выводе // давления, отношение которого к давлению на выводе / соответствует соотношению активных площадей верхней и нижней сторон поршня 18, последний поднимается вверх до момента посадки клапана 17 на впускное седло поршня 18, Поступление сжатого воздуха из вывода / к выводу // прекращается. Таким образом осуществляется следящее действие регулятора. Активная площадь верхней стороны поршня, на которую воздействует сжатый воздух, подведенный к выводу /, остается всегда постоянной
Р
ис.5 . Автоматический регулятор тормозных сил:
/—вывод к крану аварийного растормаживания; //—вывод к ускорительному клапану; ///—атмосферный вывод; /—трубка; 2, 7—уплотнительные кольца; 3—нижний корпус: 4. 17- клапаны: 5 -вал; 6, 15—упорные кольца; 8—пружина диафрагмы; 9—шайба диафрагмы; 10—вставка; //—ребра поршня; 12—манжета; 13—тарелка пружины клапана; 14—верхний корпус; 16— пружина; 18. 24 -поршни; 19—толкатель; 20—рычаг; 21—диафрагма; 22—направляющая; 23—шаровая пята: 25— направляющий колпачок
.
Активная площадь нижней стороны поршня, на которую через диафрагму 21 воздействует сжатый воздух, прошедший в вывод //, постоянно меняется из-за изменения взаимного расположения наклонных ребер // движущегося поршня 18 и неподвижной вставки 10. Взаимное положение поршня 18 и вставки 10 зависит от положения рычага 20 и связанного с ним через пяту 23 толкателя 19. В свою очередь, положение рычага 20 зависит от прогиба рессор, т. е. от взаимного расположения балок мостов и рамы автомобиля. Чем ниже опускаются рычаг 20, пята 23, а следовательно, и поршень 18, тем большая площадь ребер // входит в контакт с диафрагмой 21, т. е. больше становится активная площадь поршня 18 снизу. Поэтому при крайнем нижнем положении толкателя 19 (минимальная осевая нагрузка) разность давлении сжатого воздуха в выводах / и // наибольшая, а при крайнем верхнем положении толкателя 19 (максимальная осевая нагрузка) эти давления выравниваются. Таким образом регулятор тормозных сил автоматически поддерживает в выводе // и в связанных с ним тормозных камерах давление сжатого воздуха, обеспечивающее нужную тормозную силу, пропорциональную осевой нагрузке, действующей во время торможения.
При оттормаживании давление в выводе / падает. Поршень 18 под давлением сжатого воздуха, действующего на него через диафрагму 21 снизу, перемещается вверх и отрывает клапан 17 от выпускного седла толкателя 19. Сжатый воздух из вывода // выходит через отверстие толкателя и вывод /// в атмосферу, отжимая при этом края резинового клапана 4.
5.Передний мост автомобиля ВАЗ – 2121.
Передний мост автомобиля ВАЗ – 2121, так же как и задний, является ведущим. Он выполняет функции осей, на которые устанавливают передние колеса и служит для передачи крутящегося момента от двигателя к передним колесам через правый и левый приводы.
Передний мост автомобиля ВАЗ – 2121 объединяет в одном агрегате следующие механизмы: главную передачу, дифференциал, и полуоси. Указанные механизмы конструктивно располагаются в общем картере переднего моста и служат для передачи крутящегося момента на колеса. Механизмы моста увеличивают передаваемый момент и распределяют его на колеса в соответствии с условиями контакта каждого колеса с дорогой. При передаче крутящего момента картер моста нагружается реактивным моментом, который стремится повернуть его против вращения колес. От такого поворота мост удерживается подвеской или ее направляющими элементами . Подвеска передает на картер моста также вертикальные, горизонтальные и боковые усилия, возникающие при движении автомобиля.
Механизмы переднего ведущего моста отличаются от механизмов заднего ведущего моста наличием более сложного привода к колесам. Остальные механизмы(главная передача и дифференциал) в переднем и заднем ведущих мостах выполняют одинаково.
Главная передача служит для увеличения крутящего момента и изменения его направления под прямым углом к продольной оси автомобиля. С этой целью главную передачу выполняют из канонических шестерен. Главная передача переднего моста автомобиля ВАЗ – 2121 коническая, гипоидная, передаточное число – 3,9; дифференциалы – конические, двухсателлитные.
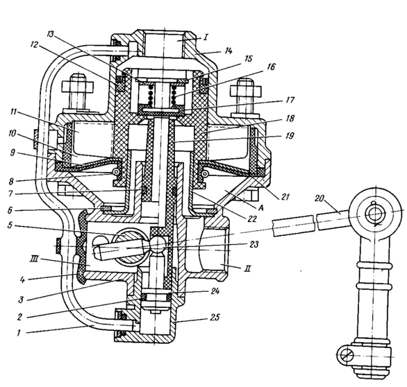
Устройство переднего моста, включающее главную передачу показано на рис.6
Рис. 6. Передний мост. 1- грязеотражатель; 2- нижняя крышка картера редуктора; 3- подшипники ведущей шестерни; 4- корпус дифференциала; 5- пробка сливного отверстия; 6- пробка заливного и контрольного отверстия; 7- подшипник корпуса внутреннего шарнира ; 8- сальник; 9 – корпус внутреннего шарнира привода колес; 10-пружинная шайба; 11 – стопорное кольцо; 12 – крышка подшипника; 13 – регулировочная гайка; 14 – подшипник коробки дифференциала; 15 – крышка подшипника; 16 – болт сцепления крышки; 17 – опорная шайба; 18 – шестерня полуосей; 19 – сателлит; 20 – картер редуктора; 21 – сапун; 22 – кронштейн крепления переднего моста; 23 – ось сателлитов; 24 – регулировочное кольцо ; 25 – ведущая шестерня; 26 – распорная втулка подшипников; 27 – сальник ведущей шестерни; 28 – фланец.








