remont (730071), страница 2
Текст из файла (страница 2)
Таблица 3
Оборудование
| Наименование | Модель, тип | Габариты |
| Прибор для проверки прерывателей-распределителей Прибор для проверки конденсаторов Верстачный пресс, реечный, усилие до 1т. Диагностический стенд | Э 213 РК-3 KR-8005А | 260 × 150 320 × 220 800 × 600 270 × 600 |
Таблица 4
Приспособления
| Наименование | Модель, тип | Габариты | Площадь, м2 |
| Верстак электромонтажный Верстак слесарный Стеллаж для деталей Тумбочка для инструмента Ванна для мойки деталей Ларь для обтирочных материалов | КО-389А 101910200 ИП-58 КО-379 2031 2249 | 1800 × 700 1200 × 500 2600 × 600 830 × 560 648 × 520 600 × 280 | 1,26 0,6 1,56 0,46 0,34 0,16 |
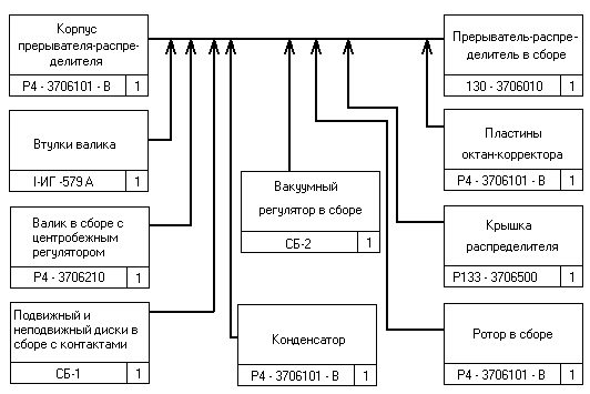
2.4. Схема технологического процесса сборки прерывателя-распределителя
ЗИЛ-130.
Порядок сборки прерывателя-распределителя ЗИЛ-130
Запрессовать бронзовые втулки(3) в корпус прерывателя-распределителя(4). Вставить в корпус валик(1) в сборе с центробежным регулятором(5), и закрепить вал с муфтой (2) при помощи штифта(9). Установить в корпус прерывателя-распределителя подвижный и неподвижный диски в сборе с подшипником. Прикрутить к корпусу конденсатор, подсоединив провод. Подсоединить провод массы. Закрепить винты крепления дисков. Вставить в корпус винт-клемму с наружным изолятором, вставить внутренний изолятор и закрутить гайку.
Установить вакуумный регулятор, установить тягу к оси подвижного диска, подсоединить один конец провода массы и завинтить винты крепления оси. Закрутить винты вакуумного регулятора.
Установить ротор(6), соединив установочные пазы на валике и роторе. Установить крышку распределителя(7), застегнув двумя пружинными защёлками(10). Установить пластины октан-корректора(8) с регулировочными гайками, затянув их к корпусу болтом.
3. Расчётная часть
3.1 Расчёт норм трудоёмкости
Годовая производственная программа предприятия рассчитывается по следующей формуле [1, с.70, ф.(4.1)]
Тг = t * N (3.1)
где Тг - годовой объём работ, чел.-ч
t – трудоёмкость ремонта, чел.-ч t = 4,72 [5, с.317, приложение.]
N – годовая производственная программа, шт
Вычислим производственную программу в приведённых единицах по следующей формуле [1, с.282, ф. (36.1)]
Nпр = N * ηпр (3.2)
где Nпр – приведенная производственная программа, шт
N – годовая производственная программа
ηпр – коэффициент приведения, характеризующий конструктивно-технологические особенности объектов ремонта, ηпр = 1,13 [3, с.281, т.(36.1)]
Nпр = 20000*1.13 = 22600
3.2 Расчёт годового объёма работ
Тг = Nпр* tм* Км * Ка (3.3)
где tм – трудоёмкость по видам работ, чел.-ч, tм = 4,72 [3, с.317, приложение]
Км – коэффициент механизации, Км = 0,70 [2, с.26, ф.(5)]
Ка – Коэффициент автоматизации, Ка = 0,9 [3, с.403]
Тг = 22600*4,72*0,70*0,9 = 67203 чел.-ч (3.4)
Рассчитаем годовую трудоёмкость по видам работ по следующему выражению
Твр = Тг * tк (3.5)
где tк –комплектование, слесарно-подгоночные работы и селективный подбор
tк = 8,40% [3, с.317, приложение]
Твр = 67203*8,40 = 5645 чел.-ч
Определим трудоёмкость на сборку одного прерывателя-распределителя по следующей формуле
Твр = Твр/Nпр (3.6)
где Твр – годовая трудоёмкость по видам работ
Nпр – годовая программа предприятия.
Твр = 5645/22600 = 0,24 чел.-ч.
Рассчитываем действительный и номинальный фонды рабочего времени по следующим выражениям [4, с.479]
Рассчитаем номинальный рабочий фонд
Фн = [365-(104+dn)*tсм – tc*nп] (3.7)
где dn – количество праздничных дней в году
tсм – продолжительность рабочей смены
tc – количество предпраздничных дней
nп – количество праздников в году
Фн = [365-(104+11)*8 – 1*11] = 1989 чел.-ч.
Рассчитаем действительный рабочий фонд
Фд = {[365-(104+ dn+dо)*tсм – tc*nп]}* ηр (3.8)
где dо – число рабочих дней отпуска. При нормальных условиях труда принимаю
dо = 40 дней.
ηр – коэффициент потерь рабочего времени. ηр = 0,97
Фд = {[365-(104+11+40)*8 – 1*11]}* 0,97 = 1618 чел. -ч.
3.3 Определение количества явочных и списочных рабочих.
Списочный состав рабочих определяется по формуле [3, с.286, ф.(36.11)]
Рсп = Тг/Фд (3.9)
Рсп = 5645/1618 = 3,48
принимаю Рсп = 4 человека.
Явочный состав рабочих определяем по следующему выражению [3, с.286, ф.(36.12)]
Ря = Тг/Фн (3.10)
Ря = 5645/1618 = 2,8
Принимаю Ря = 3 человека
3.4 Расчёт производственных площадей и потребителей
Рассчитаем производственную площадь по следующему выражению
[1, с.289, ф.(36.24)]
Fy = K*(F1*X1+F2*X2+...+Fn*Xn) (3.11)
где К – коэффициент перехода от площади, К=3,5 [1, с.289, ф.(36.24)]
F1, F2, Fn – площади в плане, занимаемого оборудования
X1, X2, Xn – количество оборудования соответствующего типа.
Fy = 3.5*(0.46*3+1.26*2+0.34*1+1.56*1+0.16*1+0.6*1) = 22.96м3
принимаю производственную площадь 23 м3
Объём участка рассчитаем по формуле
V=Fy*h (3.12)
где h – высота здания, м, h=6м [10, с.175, т.(7.1)]
V=23*6=138м3
Расчёт вентиляции определим по следующей формуле [9, с.168]
W=V*R (3.13)
где V – объём цеха, м3
R – кратность обмена воздуха, R=4 [9, с.204, приложение 12,т.(2)]
W=138*4 = 552м3
Определим естественное освещение по формуле [9, с.167, ф.(4.41)]
Fок = Fпол*£ (3.14)
где Fпол - площадь пола участка, м3
£ - световой коэффициент, £ = 0,35 [9,с.204, приложение 12,т.(1)]
Foк = 23*0,35 = 8,05м3
Общая световая мощность ламп рассчитывается по формуле [9, с.168]
Wосв = RQFy (3.15)
где R – норма расхода электроэнергии, Вт/м2*ч, R = 17 [9, c.168]
Q – продолжительность работы освещения в течении года, Q = 2100ч [9, с.168]
Wосв =17*2100*23 = 928200Вт
Рассчитаем теплоснабжение по выражению[10, с.196]
Qг.гв = qгв*Vncab (3.16)
где qгв – удельный годовой расход тепла, кДж*ч/1000м3 ,
qгв = 207000кДж*ч/1000 м3 [10, с.196]
V – объём цеха
nc – число смен работы участка
а – приведённая продолжительность работы душей и умывальников в
течение смены, ч, а = 0,75 [10, с.196,ф.(8.7)]
b – число рабочих дней в году, b = 250
Qг.гв = 207000*138*1*0,75*250 = 5356125 кДж*ч/100м3
5.Заключение
В данном курсовом проекте разработан технологический процесс на сборку прерывателя- распределителя ЗИЛ-130. При разработке курсового проекта мне пришлось воспользоваться множеством технической литературы, которая в последствии помогла мне выполнить основные задачи проекта. При разработке данного курсового проекта я ознакомился с основами расчетов норм трудоёмкости, годового объёма работ, определения номинального и действительного фондов рабочего времени, определение явочного и списочного количества ремонтных рабочих, а так же ознакомился с расчётами производственных площадей и рациональным распределением рабочего оборудования применяемом в технологическом процессе сборки прерывателя-распределителя. Курсовой проект выполнен в полном объёме.
Используемая литература
-
«Ремонт автомобилей» Румянцев С.И. 1988г.
-
«Проектирование авторемонтных предприятий» Верещак Ф., Абелевич Л. 1973г.
-
«Ремонт автомобилей» Румянцев С.И. 1981г.
-
«Основы технологии автомобилестроения и ремонта автомобилей» Щадрищев В.А.
-
«Справочник автомобильного механика» Машиностроение 1969г.
-
«Нестандартизированное оборудование, используемое в процессе технического обслуживания и ремонта автомобилей» Каталог-справочник, Москва, 1990г.
-
«Гаражное и ремонтное оборудование» Каталог-справочник, Москва, 1978г.
-
«Специализированное оборудование стран-членов СЭВ для технического обслуживания и ремонта автомобилей», Москва, 1989г.
-
«Техническое обслуживание и ремонт автомобилей» Суханов Б.Н., Борзых И.О., Бедарев Ю.Ф., транспорт, 1985г.
-
«Проектирование авторемонтных предприятий», Щадрищев А.Л., Транспорт, 1981г.
-
«Технические условия на сборку ЗИЛ-130», Транспорт,
Содержание
1. Введение стр.4
1.1 Роль автомобильного транспорта в народном хозяйстве стр.4
1.2 Перспективы автомобилестроения стр.4
1.3 Значение авторемонтных предприятий стр.5
2.Технологическая часть стр.6
2.1 Назначение, устройства и работа узла стр.6
2.3 Технические условия на сборку стр.6
2.4 Выбор и обоснование способа сборки стр.8
2.4 Схема технологического процесса стр.9
2.5 Технологическая карта на сборку стр.10
2.6 Выбор оборудования, приспособления и инструмента стр.12
3. Расчётная часть стр.13
3.1 Расчёт норм трудоёмкости стр.13
3.2 Расчёт годового объёма работ стр.13
3.3 Определение количества явочных и списочных рабочих стр.14
3.4 Расчёт производственных площадей и потребителей стр.15
Заключение стр.17
Используемая литература стр.18
















