kursovik (729780)
Текст из файла
МИНИСТЕРСТВО ОБРАЗОВАНИЯ РОССИЙСКОЙ ФЕДЕРАЦИИ
РОССИЙСКИЙ ЗАОЧНЫЙ ИНСТИТУТ ТЕКСТИЛЬНОЙ И ЛЕГКОЙ
ПРОМЫШЛЕННОСТИ
___________________________________________________________________
Кафедра электротехники
и автоматизированных промышленных установок
КУРСОВАЯ РАБОТА
ТЕХНОЛОГИЧЕСКИЕ ИЗМЕРЕНИЯ И ПРИБОРЫ
Выполнил:
Студент 4-го курса
Гр. 423, спец. 2102
Шифр 0-200076
Третьяков А.А.
Проверил:
Любимова В.Г.
ОМСК 2003
ЗАДАНИЕ НА КУРСОВУЮ РАБОТУ
-
Описать методы измерения температуры, основанные на использовании термоэлектрических и резистивных преобразователей и автоматических потенциометров и мостов.
-
Выбрать наиболее подходящий тип первичного измерительного преобразователя (ПИП) и соответствующую ему схему измерения.
-
Произвести расчет схемы измерения, используемой в электронных автоматических мостах или потенциометрах.
-
Построить градуировочную характеристику шкалы измерительного устройства.
-
Определить передаточные функции для схемы измерения по каналу измерения температуры и по каналу перемещения движка реохорда ( по цепи обратной связи).
-
Составить структурно-функциональную схему работы автоматического моста или потенциометра в зависимости от типа датчика и схемы измерения температуры.
1.МЕТОДЫ ИЗМЕРЕНИЯ ТЕМПЕРАТУРЫ, ОСНОВАННЫЕ НА
ИСПОЛЬЗОВАНИИ ТЕРМОЭЛЕКТРИЧЕСКИХ И РЕЗИСТИВНЫХ
ПРЕОБРАЗОВАТЕЛЕЙ
1.1. ТЕРМОЭЛЕКТРИЧЕСКИЙ МЕТОД
П
ринцип действия термоэлектрических термометров основан на использовании тремоэлектрического эффекта, который заключается в том , что в замкнутой цепи, состоящей из двух или нескольких разнородных проводников, возникает электрический ток, если хотя бы два места соединения этих проводников имеют разную температуру.
На рис 1.1 представлены два разных проводника из однородного материала, концы которых соединены и имеют разную температуру: t и t0.
Термоэлектрический эффект объясняется наличием в металлах свободных электронов, число которых в единице объема различно для разных металлов. На конце с температурой t электроны из металла А диффундируют в металл В в большем количестве, чем в обратном направлении, поэтому металл А заряжается положительно, а металл В – отрицательно. В месте соприкосновения проводников возникает электрическое поле, препятствующее диффузии. Когда скорость диффузии электронов становится равной скорости их обратного перехода под влиянием установившегося электрического поля, наступает состояние подвижного равновесия. При таком состоянии между проводниками А и В возникает некоторая разность потенциалов, т.е. термо-ЭДС, зависящая также и от температуры мест соединения проводников 1 и 2.
В простейшей термоэлектрической цепи, составленной из двух разнородных проводников А и В, возникает четыре ЭДС. Две возникают в местах соединений проводников (они будут различны, так как различны температуры). Кроме того в каждом однородном проводнике, концы которого имеют разные температуры, появляется разность потенциалов.
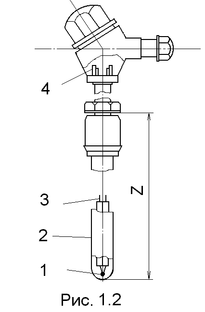
Термоэлектрический термометр представляет собой два термоэлектрода 3 (тонкие проволоки диаметром 0,5 или 1,2 мм) из разных металлов, одни концы 1 (рис. 1.2) которых сварены между собой, а к другим разомкнутым свободным концам 4 подводятся соединительные првода. Для защиты от механических повреждений и вредного воздействия среды, температура которой измеряется, термоэлектроды, армированные изоляцией, помещают в защитную арматуру 2. Термоэлектрический термометр погружают в среду температуру которой необходимо измерить, на глубину L. Концы 1 называют рабочим концом термоэлектрического термометра (он находится в измеряемой среде), а концы 4 – свободным концом (он находится обычно в помещении цеха, лаборатории).
В настоящее время наибольшее распространение получили стандартные термоэлектрические термометры с металлическими термоэлектродами характеристики которых приведены в таблице 1.
Таблица 1.
В последнее время были созданы термоэлектрические термометры с термоэлектродами из тугоплавких соединений или их комбинаций с графитом и другими материалами, предназначенные для измерения высоких температур. Однако они ещё не получили распространения для контроля температур технологических процессов в отрасли.
Из таблици видно, что наименьшую погрешность имеют платинородий-платиновые термометры, обеспечивающие также лучшую воспроизводимость термо-ЭДС. Положительным электродом у них является сплав платины с родием – платинородий, а отрицательным – чистая платина.Платинородий-платиновые термометры используют в качестве эталонных и образцовых.
К числу достоинств термоэлектрических термометров следует отнести достаточно высокую степень точности, возможность централизации контроля температуры путем присоединения нескольких термоэлектрических термометров через переключатель к одному измерительному прибору, возможность автоматической записи измеряемой температуры с помощью самопишущего прибора, возможность раздельной градуировки измерительного прибора и термоэлектрического термометра.
Для измерения термо-э.д.с. термоэлектрических термометров, напряжений, а также других величин, связанных с напряжением определенной зависимости широко используется компенсационный метод.
Принцип компенсационного метода основан на уравновешивании (компенсации) измеряемой э.д.с. известным напряжением, полученным от строго определенного тока, называемого обычно рабочим, на сопротивлении с известным значением.
Р
ассмотрим принципиальную схему, иллюстрирующую компенсационный метод измерения термо-ЭДС, которая показана на рис. 1.3. Уравновешивающее падение напряжения создается уравновешивающим током I на реохорде (компенсационном резисторе) Rp. При этом сопротивление компенсационной цепи должно быть неизменным, а источник питания должен обеспечивать неизменным, во время измерения, рабочий ток I. Вдоль компенсационного резистора Rp может перемещаться скользящий контакт – движок b, который с помощью провода соединен с одним зажимом переключателя П. К зажиму a реохорда Rp присоединен один зажим нулевого прибора НП, второй его зажим присоединен к переключателю П. Таким образом, с помощью переключателя нулевой прибор можно включить в цепь термоэлектрического термометра АВ или нормального элемента НЭ с ЭДС Енэ.
При изменении термо-ЭДС Е(
) нулевой прибор включают в цепь термометра и перемещают движок b до тех пор, пока указатель нулевого прибора не установится на нулевой отметке шкалы. При выполнении этого условия падение напряжения на части реохорда Rp будет равно измеряемой термо-ЭДС Е(
). В этом случае имеет место равенство
, где
- сопротивление участка ab.
Компенсационный метод измерения термо-э.д.с. положен в основу принципа действия приборов, которые называются потенциометрами с постоянной силой рабочего тока.
В
зависимости от способа регулирования копенсирующего напряжения потенциометры делятся на неавтоматические (переносные) и автоматические.
Характеристики
Тип файла документ
Документы такого типа открываются такими программами, как Microsoft Office Word на компьютерах Windows, Apple Pages на компьютерах Mac, Open Office - бесплатная альтернатива на различных платформах, в том числе Linux. Наиболее простым и современным решением будут Google документы, так как открываются онлайн без скачивания прямо в браузере на любой платформе. Существуют российские качественные аналоги, например от Яндекса.
Будьте внимательны на мобильных устройствах, так как там используются упрощённый функционал даже в официальном приложении от Microsoft, поэтому для просмотра скачивайте PDF-версию. А если нужно редактировать файл, то используйте оригинальный файл.
Файлы такого типа обычно разбиты на страницы, а текст может быть форматированным (жирный, курсив, выбор шрифта, таблицы и т.п.), а также в него можно добавлять изображения. Формат идеально подходит для рефератов, докладов и РПЗ курсовых проектов, которые необходимо распечатать. Кстати перед печатью также сохраняйте файл в PDF, так как принтер может начудить со шрифтами.















