karter (729313), страница 18
Текст из файла (страница 18)
Волнистость можно устранить стабилизацией усилия в контакте роликов с деталью с помощью снижения трения в обкатных узлах. Для раскатывания глубоких отверстий диаметром 115 и 125 мм создано устройство, в котором обкатные узлы и пружинный механизм их нагружения установлены на опорах качения, что привело к полному устранению волнистости на обкатанной поверхности. Это позволило со вместить упрочняющее и чистовое раскатывание и обеспечить сохранение прямолинейности отверстия.
На рис. 8.2.4. показаны конструкции устройств для ППД отверстий, когда в качестве деформирующего элемента применяют естественные или синтетические алмазы. Эти инструменты производит АО ТЗАИ (г. Томилино, Московской области). Следует отметить, что применение этих инструментов по ряду причин (в том числе высокой стоимости) ограничено.
рис. 8.2.4. Упругая пружинная державка
для обработки внутренних цилиндрических поверхностей
(1 - деталь, 2 - алмазный наконечник, 3 - винт крепленая наконечника,
4 - корпус державки, 5 - винт регулирования силы выглаживания, 6 - пружина,
7 - рычаг, 8-линейка, 9-шарнир).
Рис. 8.2.5. Многоинденторное устройство для алмазного выглаживания
внутренних цилиндрических поверхностей деталей по патенту №929418 (Ru)
(1 - вал. 2 - крестовина, 3 - шарнир, 4 - двуплечий рычаг,
5 - алмазные наконечники, 6 - регулировочная коническая гайка,
7 - вороток, 8 - уступ, 9 - гайка, 10 - шарнир, 11 - ось, 12 - пружина,
13 – гайка, регулирующая силу выглаживания,
14 - штифт, 15 - винт креплении алмазного наконечника)
Рис. 8.2.6. Двухинденторкое устройство для алмазного выглаживания
внутренних цилиндрических поверхностей
(1 - обрабатываемая деталь, 2 - корпус устройства, 3 - индентор, 4 - втулка,
5 - пружина, б - гайка для регулировки силы выглаживания).
Конструкции алмазных инструментов для ППД поверхности деталей машин со сферической и цилиндрической рабочей частью [ ]
Рис. 8.2.7. Типовая конструкция алмазного инструмента для выглаживания
Рис. 8.2.8. Выглаживающий наконечник
с комбинацией цилиндрических рабочих поверхностей
Рис. 8.2.9. Общий вид наконечника для выглаживания поглаживания
по авторскому свидетельству 795909
8.3. Обработка отверстий ППД пружинными инструментами.
Представляет значительный практический интерес инструментальная оснастка для поверхностного пластического деформирования деталей с использованием пружин качестве деформирующих элементов. В этом, случае использование пружин обеспечивав следующие преимущества:
• удешевление конструкции оснастки;
• упрощение переналадки для обработки новых деталей и др.
Для практического использования при обработке отверстий предложены пружинные устройства двух основных видов: с осевым и круговым расположением пружин (рис. 8.3.1 и рис. 8.3.2). Все предлагаемые конструкции являются оригинальными (патенты РФ 150407, 1666290, 2006361).
Известно, что для чистовой и упрочняющей обработки методами ППД преимущественно используются инструменты из СТМ - естественные или синтетически алмазы, твердые сплавы и т. п. Однако об эффективности использования пружинных деформирующих элементов известно сравнительно давно (изобретение по а.с. СССР 21868 и др.).
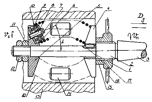
Для поверхностного пластического деформирования отверстия проектной детали применяем пружинное устройство с осевым расположением деформирующих пружин (№ 1013239, кл. В 24 В 39/02, патент 1504072), изображенное на рис. [ ].
Изобретение относится к технологии машиностроения, в частности к отделочной упрочняющей обработке деталей машин, а именно к конструкции пружинного инструмент для упрочняющей обработки.
Цель изобретения - повышение производительности за счет увеличения длины пяти контакта пружинного инструмента с деталью и интенсификация процесса ППД.
Данное устройство предназначено для ППД отверстий корпусов или внутренней цилиндрической поверхности деталей.
Устройство имеет оправку 1 с резьбовой частью 2 и конусом Морзе 3 для его крепления, например, в пиноли задней бабки токарно-винторезного станка. На оправке размещены конические фланцы 4 и 5 с отверстиями под радиальные 6 и упорные 7 подшипники которые закрепляются на фланцах посредством винта 8. На радиальные подшипники с упором в упорную шайбу 9 надеты деформирующие элементы - цилиндрические пружины 10 таким образом, что в месте контакта их с подшипниками угол между осью пружин и осью оправки составляет = 10…15°. Количество деформирующих пружин для обеспечение высокой эффективности обработки равномерного солового воздействия на обрабатываемый материал, должно быть не менее двух. Контргайки 11 и 12 фиксируют определенное положение фланца 5 на оправке 1. Наружной поверхностью деформирующие элементы - пружины 10 контактируют с обрабатываемой поверхностью детали 13. Для повышения интенсивности силового воздействия на деталь внутри пружин имеются свободно перемещаемые грузы 14 равной массы. При вращении устройства эти грузы, за счет действия центробежных сил, перемещаются в радиальном направлении, воздействуют на внутреннюю поверхность пружин и обеспечивают дополнительное силовое воздействие на деталь. Регулировочная гайка 15 с воротком 16 осуществляет необходимый натяг пружин 10, т. е. изменение силового воздействия (в т.ч. и непосредственно в процессе обработки). Фланцы размещены на шпонках 17.
Работа устройства может осуществляться по следующим основным вариантам:
1. вариант сверлильной обработки - обрабатываемая деталь неподвижна, а устройство вращается и имеет осевую рабочую подачу;
2. вариант токарной обработки - деталь помещается в трех-кулачковый патрон и имеет вращение, а устройство имеет рабочую осевую подачу. В этом случае незакрепленные грузы не применяют;
3. вращаются и деталь и устройство, причем последнее имеет также рабочую осевую подачу. В нашем случае работа устройства осуществляется по первому варианту.
В устройстве применяются пружины из материала ХВГ, диаметром проволоки 3,5 мм (твердость HRCэ 60), их рабочая поверхность полируется до шероховатости Ra = 0,05 мкм.
Выводы:
1. Для отделочно-упрочняющей обработки поверхностей вращения, плоскостей можно эффективно использовать пружинные инструменты данной конструкции, которые отличаются от аналогичных инструментов тем, что, с целью повышения производительности за счет увеличения длины пятна контакта инструмента с деталью, они снабжены по меньшей мере одной дополнительной пружиной, причем торцы фланцев выполнены коническими, а узел крепления пружины выполнен в виде винта с расположенной на нем упорной шайбой и размещен на фланцах под углом 10-15° к оси оправки, при этом радиальный и упорный подшипники расположены в узле крепления на винте по разные стороны шайбы.
2. Данное пружинное устройство отличается, также тем, что, с целью интенсификации процесса, оно снабжено грузами с массой 10-20 % от массы пружины, свободно расположенными внутри пружины.
3. Пружинные устройства при обработке деталей могут обеспечить результаты, сопоставимые с показателями работы оснастки традиционной конструкции, имеющей в качестве деформирующих элементов твердые ролики, шарики или СТМ.
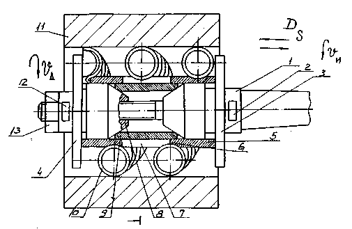
Конструкции пружинных инструментов для ППД отверстий, разработанные в МГАПИ, показаны на рис. 8.3.1 и рис. 8.3.2.
Рис. 8.3.1. Пружинное устройство для ППД отверстий
по патенту RU 1504072.
Рис 8.3.2. Пружинное устройство для ППД отверстий
по патенту RU 1666290.
8.4. Применение универсальных измерительных центров в промышленности
Координатные измерительные приборы и универсальные измерительные центры применяются сегодня на самых различных участках промышленного производства. Как крупные предприятия, гак и мелкие фирмы или организации используют уникальные возможности универсальных измерительных центров для обеспечения высокого качества продукции.
Основанная на применении станков с ЧПУ современная технология позволяет работать со все более жесткими допусками. Такая технология предъявляет и более высокие требования к обеспечению качества. Универсальные измерительные центры различных эксплуатационных показателей должны стать средствами контроля, органично вписывающимися в технологический процесс. Здесь требуется обеспечить решение комплексных задач измерений как формы, так и положения. В дипломном проекте рассмотрено применение универсального измерительного центра серии UMC, UMC850. К особенностям данного измерительного центра относятся:
Стационарный стол изделия
- позволяет производить загрузку тяжелыми деталями, не оказывая влияния на точность направляющих;
- позволяет производить простое, надежное закрепление деталей, при котором силы ускорения не вызывают сползания;
- позволяет производить закрепление и освобождение деталей во время измерения;
- имеет незначительную массу и компактную конструкцию;
- при измерении небольших деталей предоставляется короткое неизменное расстояние для наблюдения удобной позиции сидя.
Передвижной портал
- позволяет иметь оптимальный доступ со всех сторон;
- позволяет иметь различную длину стола по оси У в качестве недорогого расширения объема измерения, например, при закреплении серийной партии деталей.
В качестве направляющих элементов применяются исключительно воздушные подшипники фирмы "ОПТОН", обладающие особой жесткостью и виброустойчивостью. Их расход воздуха составляет всего 4 л/мин. Расположение воздушных подшипников и качество направляющих из твердого камня гарантируют наименьшие возможные отклонения направляющих по всем осям.
Линейные измерительные системы - фокусины фирмы "ОПТОН", применяемые для машин серии UMC поставляются с разрешающей способностью 0,5 или 0.2 мк. При сканировании контуров для измерения форм и профиля точная разрешающая способность повышает точность информации в результатах измерения.
Эффективное демпфирование колебаний гарантируется при помощи пневматических демпфирующих элементов, расположенных между нижней частью станины и столом изделия.
Измеряющая 3-х координатная щуповая головка позволяет производить статически прием значений измерений в нулевой точке индуктивной измерительной системы щуповой головки, непрерывный сбор значений измерений в режиме сканирования и самоцентрирующее ощупывание пазов, впадин между зубьями, отверстий, витков резьбы и т.п. Отдельное приложение измерительного усилия и гидравлическое демпфирование позволяют настраивать на нулевую точку щуповой головки до полной остановки приема значений измерений, воспроизводимость составляет при этом + 15 мк по каждой оси. В режиме сканирования плоские пружины допускают пути измерения щуповой головки ±0,2 мм. Отклонение щуповой головки преобразуется в цифровую форму с разрешающей способностью 0,1 мк.















