145939 (728985), страница 2
Текст из файла (страница 2)
Применяются также одно и двухкромочные сверла, в которых стружка удаляется по центральному отверстию. Сквозные отверстия диаметром d>80 мм получают сверлами кольцевого сверления — трансирующие сверла. Ими вырезается только кольцевая полость, а в центре остается стержень пригодный для использования в качестве заготовок.
Обработку центровых отверстий проводят центровыми комбинированными сверлами по ГОСТ 14952-75 двух видов: без предохранительной фаски и с предохранительной фаской 120. Центровые сверла из твердых сплавов имеют более технологичный дугообразный профиль режущей кромки.
Причины погрешности сверления:
-
Несимметричность расположения вершины сверла относительно оси сверла;
-
Неравенство углов 1 и 2;
-
Посторонние включения в обрабатываемый материал.
Зенкеры.
Классификация зенкеров.
-
По методу закрепления на шпинделе станка:
-
Хвостовые с коническим хвостовиком;
-
Насадные с коническим отверстием и торцевой шпонкой.
-
По инструментальному материалу режущей части:
-
Из углеродистой и легированной стали, — применяются очень редко;
-
Из быстрорежущей стали — наиболее распространенные;
-
Оснащенные твердым сплавом.
По конструкции:
-
Цельные;
-
Составные:
-
Сварные — быстрорежущая сталь;
-
С припаянными пластинами твердого сплава;
-
-
С вставными ножами из инструментального материала;
Комбинированный инструмент — сверло-зенкер-развертка.
Обозначения на рисунке:
-
Рабочая часть инструмента;
-
Шейка для выхода шлифовального круга — на ней наноситься маркировка (номинальный диаметр, марка инструментального материала, класс точности зенкера, товарный знак завода изготовителя);
-
Конический хвостовик;
-
Лапка зенкера, служит для выбивания инструмента из шпинделя, и для передачи крутящего момента в начальный момент времени;
-
Режущая часть зенкера;
-
Задняя поверхность зенкера;
-
Коническая базовая поверхность;
-
Шпоночный паз для передачи крутящего момента.
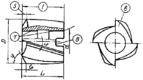
На рисунке показаны элементы режущей части цельного зенкера, где обозначено:
-
Передняя поверхность (линейчатая или винтовая);
-
Главная задняя поверхность (коническая, цилиндрическая или винтовая);
-
Вспомогательная задняя поверхность (на ней образованна обратная конусность для выхода сверла);
-
Спинка зуба;
-
Главная режущая кромка;
-
Активная длина вспомогательной режущей кромки.
Количество зубьев у зенкера представлено в таблице.
| Тип зенкера | Количество зубьев, Z |
| Хвостовые | 3 |
| Насадные | 4 |
| Сборные конструкции | 4...6 |
На рисунке выше изображен сборный насадной зенкер, где обозначено:
-
Корпус инструмента;
-
Вставной нож;
-
Главная режущая кромка;
-
Вспомогательная режущая кромка;
-
Крепежный элемент;
-
Передняя поверхность;
-
Вспомогательная задняя поверхность;
-
Главная задняя поверхность;
Значения угла для разных типов зенкеров.
| Тип зенкера | Угол |
| Хвостовой зенкер | 20 |
| Насадной зенкер из: | |
Характер изменения углов и у зенкеров, такой же, как и у сверла. Иногда требуется подточка ленточки. Для твердосплавного ножа: о=30, =60.
Пособие: “Зенкеры и зенковки”. Малявский, Даниленко.
Расчет и конструирование разверток.
Развертки предназначены для предварительной и окончательной обработки отверстий с полями допусков по 6...11 квалитету и параметром шероховатости 2,5...0,32 мкм.
Конструктивные и геометрические параметры разверток.
-
По применению:
-
машинные;
-
ручные.
-
По виду отверстия:
-
цилиндрические;
-
конические.
По виду выполняемой операции:
-
черновые;
-
получистовые;
-
чистовые.
По методу крепления:
-
хвостовые;
-
насадные.
По инструментальному материалу:
-
легированные и углеродистые стали (только для ручных разверток);
-
из быстрорежущей стали (БРС) — машинные и ручные развертки;
-
твердосплавные развертки, — как правило, машинные.
По конструкции:
-
цельные — используются очень редко;
-
составные неразъемные:
-
с приваренной быстрорежущей сталью (БРС);
-
с припаянной пластиной твердого сплава (ТС);
-
-
сборные со вставными ножами;
-
регулируемые.
Ручные развертки ГОСТ 7722-77 диаметром d=3...40 мм изготавливаются из БРС или легированной стали 9ХС, так как они работают при малых скоростях резания. Машинные развертки ГОСТ 1672-80 диаметром d=3...50 мм и ножи для сборных разверток ГОСТ 883-80 для диаметра d=40...100 мм изготавливают из БРС или оснащают пластинами твердого сплава ГОСТ 11175-80.
Обратная конусность применяется на развертках для устранения их заклинивания. Зубья разверток расположенные на режущей части затачивают наостро, без оставления ленточек. На калибрующей части по задней поверхности вдоль режущей кромки оставляют цилиндрическую ленточку шириной 0,5...0,3 мм для лучшего направления в работе и сохранения диаметра развертки. Угол в плане на режущей части для ручных разверток находится в пределах =1...2, а для машинных =5...45.
| Обрабатываемый материал | Угол |
| Чугуны | 5 |
| Стали | 15 |
Для разверток с 45 в начале режущей части, для обеспечения захода развертки в отверстие, делают направляющий конус, под углом ‘=45 и длиной 1,5...3 мм.
На рисунке е) и ж) изображены насадные регулируемые развертки со вставными ножами. На рисунке е) — прикрепление клином, на рисунке ж) — крепление винтами, на рисунке з) — с напаянными пластинами твердого сплава.
Диаметр развертки в начале режущей части делают меньше предварительно изготовленного отверстия на (0,3...0,4) от припуска под развертывание. Длина рабочей части разверток смотри в таблице:
| Вид разверток | Длина рабочей части |
| Ручные | (4...10) dразв |
| Машинные | (2...0,75) dразв |
Калибрующую часть у разверток на длине (0,5...0,4) длины режущей части делают цилиндрической, далее для уменьшения разбивки делают обратную конусность:
| Вид разверток | Конусность |
| Ручные | 0,01...0,015 на 100 мм длины |
| Машинные | 0,04...0,1 на 100 мм длины |
Передний угол у разверток обычно принимают равным нулю. У черновых разверток и при обработке заготовок из вязких материалов =5...10. Задние углы разверток в пределах =5...15.
| Обрабатываемый материал | Угол |
| Стали | 6...10 |
| Алюминиевые сплавы | 10...15 |
Ручные развертки имеют цилиндрический хвостовик, на конце которого имеется квадрат для крепления в воротке. Машинные развертки закрепляются также как и зенкеры (смотри выше).
Число и направление зубьев разверток.
Для улучшения качества обработки должно выполняться условие:
. Число зубьев должно быть целым. Форма зубьев развертки показана. Вогнутая форма спинки зуба увеличивает пространство для размещения стружки.
Неравномерность окружного шага зубьев . Эта неравномерность снижает шероховатость и гранность отверстия.
Для удобства измерения развертки изготавливают с четным числом зубьев. При неравномерном окружном шаге угла накрест лежащие углы делают равными, так чтобы режущие кромки противоположных зубьев находились в одной осевой плоскости. В тех случаях, когда развертки предназначены для обработки отверстий с продольными канавками или отверстий прерывающихся по длине развертки делают твердосплавными с винтовыми зубьями. Направление винтовых зубьев обратно направлению резания (для предупреждения само затягивания и заедания разверток).
Развертки (продолжение).
На рисунке е представлена регулируемая развертка со вставными ножами, а на рисунке -ж с винтами. Рифления делают под углом 5 к оси развертки, что обеспечивает увеличение диаметра развертки при продвижении ножей к заднему торцу развертки. При недостаточности регулирования, ножи могут быть переставлены в следующие рифления корпуса, что увеличивает размер диаметра развертки. В случае ж) можно проложить прокладку под винт. Диаметр калибрующей части развертки, зависит от диаметра обрабатываемого отверстия. При определении диаметра развертки необходимо учитывать разбивку отверстия разверткой, допуск на ее изготовление и изнашивание. При обработке деталей с тонкими стенками, а также заготовок из мягких и пластичных материалов недостаточно острой разверткой разбивка может стать отрицательной, то есть произойдет усадка и при этом диаметр обработанного отверстия получится меньше диаметра развертки. Разбивка отверстия зависит от его диаметра, материала заготовки, режима резания, СОЖ, конструкции и геометрии, способа крепления инструмента, состояния станка и так далее. В большинстве случаев при развертывании получают положительную разбивку.
— допуск на диаметр отверстия;
— погрешность допуска на изготовления диаметра развертки;
— величина связанная с износом.
После окончательного изнашивания диаметр перешлифованной развертки может быть меньше диаметра отверстия на величину минимальной разбивки Aразбивки min, так как из-за ее наличия будет обеспечиваться размер отверстия не выходящий за пределы допусков.
Aразбивки max=Aизгот.=A/3.
Зависимость величины допуска связанной с износом от квалитета точности.
| Квалитет точности | Aизн. от A |
| 5-ый | Aизн.0,6 A |
| 7-ой | Aизн.0,55 A |
| 8-ой | Aизн.0,45 A |
Геометрия режущей части развертки.














