144749 (727861)
Текст из файла
Министерство образования и науки Российской Федерации
Федеральное агентство по образованию
ГОСУДАРСТВЕННОЕ ОБРАЗОВАТЕЛЬНОЕ УЧРЕЖДЕНИЕ
ВЫСШЕГО ПРОФЕССИОНАЛЬНОГО ОБРАЗОВАНИЯ
«ОРЕНБУРГСКИЙ ГОСУДАРСТВЕННЫЙ УНИВЕРСИТЕТ»
Архитектурно – строительный факультет
Кафедра технологии строительных производств
Реферат на тему:
«Возведение зданий методом надвижки из блочных элементов»
Руководитель проекта Кудлай
Исполнитель студент гр. 06 ГСХ
Зимин Е. И.
Оренбург 2009
Здания из несущих объемных блоков
Здания из несущих объемных блоков могут состоять из блок-комнат и блоков на ширину здания, устанавливаемых с зазорами в 4—6 см. Эти зазоры облегчают выполнение монтажных операций и создают замкнутые воздушные прослойки, улучшающие звукоизоляцию помещений. Каждый объемный элемент обычно опирается на четыре точки, но может устанавливаться и на раствор по всей нижней плоскости.
Важным статическим свойством блоков является их пространственная работа. При воздействии нагрузки на какую-либо грань блока в работу включаются остальные его грани, разгружая зону непосредственного приложения нагрузки, что повышает прочность и долговечность здания.
Более рациональна двухкомнатная разрезка, при которой по сравнению с однокомнатной вдвое меньше блоков, сокращается длина сварных швов (в опорных площадках), нет тех из них, которые скрыты внутри здания, лучше используются по времени и грузоподъемности транспортное и крановое оборудование (при условии его соответствующей конструкции).
Блоки же на комнату проще в изготовлении и транспортировании; их небольшой вес (6—12, а лучше не более 8 тонн) позволяет при монтаже использовать оборудование, имеющееся в строительных организациях. Монолитные блоки на комнату в настоящее время более распространены, чем собираемые на заводе из железобетонных панелей, соединяемых сваркой закладных деталей. Блоки одного ряда можно сдвигать относительно другого, располагать их рядом с раздвижкой или в шахматном порядке, что значительно облегчает архитектурно-планировочные решения здания.
Блочная схема зданий наиболее индустриальная, так как на стройплощадку завозят объемные элементы с полной отделкой и установленным санитарно- и электротехническим оборудованием, количество элементов сокращается до минимума, а процесс строительства из блоков сводится к установке элементов, сварке их закладных деталей, заделке швов и соединению сантехнических коммуникаций. Вынос за объемный блок последних и всех закладных деталей позволяет монтировать их на строительной площадке не заходя внутрь блока, поступающего на нее уже запертым на ключ.
При возведении зданий из объемных элементов до 80% всех трудовых затрат переносится в условия заводского поточного производства, в то время как при крупнопанельных зданиях этот показатель на ДСК не превышает 50%.
Строительство объемно-блочных зданий (при котором отпадают такие сложные процессы, как заделка стыков и уменьшается необходимость сварки) особенно целесообразно в отдаленных районах Севера, где предстоит выполнять очень большие объемы строительства и приходится работать в полярную ночь, пургу и мороз, а материалы доставлять по бездорожью. В этом случае перспективно транспортирование блоков с помощью дирижаблей. Объемно-блочное строительство целесообразно также в сейсмических районах, над горными выработками, на просадочных и вечномерзлых грунтах.
Однако следует отметить, что на доводку, подрубку, очистку и подгонку элементов затрачивается около 20, а иногда до 50% времени, необходимого на монтаж объемного блока.
Технология монтажа элементов
Последовательность монтажа, монтажные механизмы. Нулевой цикл здания выполняют традиционными методами. Особое внимание уделяют геодезическому контролю работ, обязательному соблюдению допусков по горизонтали, вертикали и точности размеров сооружения в плане. Последовательность монтажа здания из объемных элементов определяется конструкцией блоков, способами их стыкования, применяемыми монтажными механизмами.
Объемные элементы монтируют с помощью козловых, башенных или гусеничных стреловых кранов (рис. 1). Наиболее удобными для монтажных работ являются козловые краны, при монтаже блока перемещающиеся в основном в одной плоскости, монтажники легко могут контролировать их перемещение и положение в пространстве несмотря на значительную массу элемента. Высота подвески крюков козловых кранов (до 31 м) позволяет с их помощью монтировать 9-этажные дома прямоугольной конфигурации.
Здания повышенной этажности (до 12 этажей) и ломаной конфигурации требуют применения стреловых, башенно-стреловых и башенных кранов грузоподъемностью до 100 т. Для этих кранов даже при наличии двух и более расчалок движение объемного элемента к месту установки малоуправляемо.
Необходимо отметить, что башенные и козловые краны большой грузоподъемности требуют для своего монтажа в большинстве случаев столько же времени, сколько займет монтаж объемных блоков самого дома. Применение таких кранов требует специального обоснования. Более мобильны ми и менее дорогостоящими могут оказаться башенно-стреловые гусеничные краны и краны на спецшасси, но для их перемещения требуется свободная зона вокруг здания.
Гусеничные краны отдельных модификаций подходят по грузоподъемности, не требуют устройства рельсовых путей, ими можно монтировать здания сложной конфигурации. Но такие краны не обеспечивают плавный подъем и наведение монтируемого блока на опоры. Нижнее расположение кабины машиниста не позволяет видеть сам процесс установки элемента. Общение монтажников и машинистов через радиосвязь снижает качество и безопасность работы. Для крана требуется широкий сквозной проезд, состояние которого зависит от грунтовых и погодных условий. Условия эксплуатации проезда влияют на надежность работы крана, обеспечение всего технологического процесса монтажа здания.
В зависимости от конструктивных решений здания обычно устанавливают технологическую последовательность производства работ. Если здание запроектировано из блок-секций, расположение и соединение по вертикали и горизонтали санитарно-технического оборудования в нем предусмотрено таким образом, чтобы не мешать последовательной установке блоков от дальнего торца здания.
Для зданий с блок-элементами при расположении стыков коммуникаций внутри блоков наиболее рационально осуществлять параллельный монтаж обоих продольных рядов объемных блоков от одного торца здания к другому. Если в блок-комнатах коммуникации расположены снаружи задней торцевой грани блока и работы по их стыковке должны выполняться снаружи, то при монтаже необходимо учитывать продолжительность работ по стыковке коммуникаций. Поэтому блоки с коммуникациями лучше монтировать в первую очередь, затем можно устанавливать остальные блоки в одном и другом ряду так, чтобы не мешать соединению коммуникаций блоков.
Общие правила организации монтажа:
• здание разбивают на захватки только при очень большой его длине — 10...12 секций;
• точность установки блоков на первом этаже осуществляют с помощью теодолита, а на последующих этажах их устанавливают на нижележащие с выверкой только по вертикали;
• первыми монтируют блоки, наиболее удаленные от кабины машиниста;
• если в конструктивном решении этажа имеются плоские доборные элементы, сначала монтируют только все объемные;
• заделка стыков не должна мешать осуществлению монтажа.
Монтажные установочные оси фиксируют рисками, нанесенными масляной краской на объемные блоки на заводе с помощью шаблона. Первоначальная работа на новом монтажном горизонте — нивелирование опорных площадок, разметка осевых и установочных рисок, определяющих положение объемных элементов в плане. Риски обязательно выносят на перекрытие каждого этажа.
Подъем блоков с трейлеров осуществляют в два приема: сначала блок приподнимают и отводят в сторону от грузовой платформы трейлера, проверяют его положение в пространстве, надежность строповки и только затем подают к месту установки. Монтажники принимают блок на высоте 30...50 см от уровня перекрытия и на расстоянии не менее 1,5...2 м от ранее установленного блока и далее осторожно наводят его в проектное положение. Для удержания от раскачивания при подъеме и установке блока используют оттяжки, которые крепят к пространственной траверсе по диагонали. Самобалансирная траверса представляет собой крестообразную раму с четырьмя независимыми ветвями тросовой подвески (балками). Длину каждой ветви независимо от других можно изменить за счет специальных гидравлических цилиндров, установленных внутри трубчатых шарнирных балок.
Подготовка места установки блока зависит от способа опирания блоков и конструкции горизонтальных стыков между ними. Для блоков с линейным опиранием (опертые по контуру) первоначально устанавливают в углах 4 деревянных маяка, по периметру блока расстилают полосу цементно-песчаного раствора шириной 100... 120 мм, уровень раствора должен быть на 3...5 мм выше уровня марок монтажного горизонта. Растворную постель выравнивают рейкой. Деревянные маяки предотвращают выдавливание раствора из-под объемного элемента, обеспечивают необходимую толщину его слоя и расположение блока на определенной отметке.
Для блоков с точечным опиранием по углам устраивают опорные площадки из металлических пластин, набираемых до нужной высоты при нивелировании монтажного горизонта. Цементно-песчаный раствор укладывают вокруг этих опорных площадок. По периметру блоков располагают пакеты плит из минеральной ваты или других изоляционных материалов, обернутых в синтетическую пленку.
Смежные монтажные элементы соединяют между собой путем сварки закладных деталей в углах блоков. Общая жесткость здания достигается за счет жесткости самих блоков и их сварки между собой.
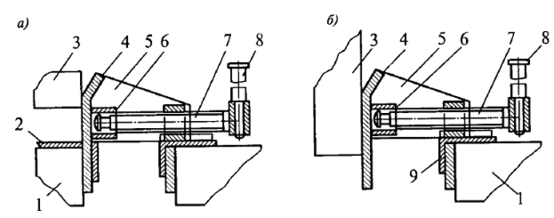
Тонную установку блока в проектное положение осуществляют с применением упорных фиксаторов (рис. 2), которые обеспечивают его горизонтальное перемещение до полного совпадения с разбивочными рисками. Фиксаторы закрепляют в швах ранее смонтированных блоков нижнего ряда, по два на один устанавливаемый элемент и обеспечивают проектный зазор между смежными блоками при их установке в проектное положение. Фиксаторы снабжены механическими домкратами с упорными площадками, что позволяет вручную осуществить совмещение граней монтируемого блока с ранее установленными.
Рис. 13.2. Монтажный фиксатор для объемных элементов:
а — при установке элемента на элемент; б— то же, для объемных элементов первого яруса; 1 — ранее установленные элементы; 2 — подготовленное основание (слой раствора); 3 — устанавливаемый элемент; 4 — фиксирующая плоскость; 5 — упор; 6 — опорная пята; 7 — винт; 8 — вороток; 9 — опорный уголок
Блоки расстроповывают после окончательной их выверки, фиксаторы переставляют для выверки очередного блока. При выверке перемещать блок вручную или с помощью монтажных ломиков невозможно, поэтому для выверки используют только фиксаторы и монтажный кран. Необходимо помнить, что из-за несовпадения центра тяжести блока с его геометрическим центром даже при применении специальных траверс не всегда удается избежать перекоса подаваемого на монтаж блока.
Доборные стеновые элементы, применяемые в основном для жилых зданий, плиты балконов, лоджий, монтируют после окончания монтажа объемных блоков на этаже. Очередной этаж возводят после сварки узлов, соединения коммуникаций, заделки стыков нижнего этажа.
Герметизация стыков наружных панелей включает заводку (забивку) пористых жгутов или заполнение их быстротвердеющей строительной пеной, нанесение герметизирующей мастики и сверху защитного покрытия, предохраняющего ее от старения. В связи с опиранием блоков друг на друга только по контуру образуются значительные вертикальные и горизонтальные прослойки воздуха между соседними объемными элементами, которые обеспечивают высокие звукоизолирующие свойства внутренних ограждающих конструкций.
Для заделки стыков между объемными элементами могут быть использованы подвесные люльки или специальные монтажные контейнеры, устанавливаемые сверху на блоки. На блоки могут подвешиваться площадки для заделки стыков и швов.
Целесообразность метода. Трудоемкость работ на строительной площадке за счет максимальной механизации всех работ в заводских условиях по сравнению с крупнопанельными зданиями сокращается в 3...4 раза, в заводские условия переносится до 80% трудозатрат на возведение здания. Снижаются общая трудоемкость и себестоимость работ. Продолжительность возведения зданий из объемных элементов сокращается в 2...3 раза по сравнению с крупнопанельными. Среди недостатков метода следует отметить значительное увеличение грузоподъемности используемых механизмов и транспорта, сложность транспортировки, особенно в городских условиях, объемных элементов. Все это может привести к удорожанию строительства здания методом объемных элементов по сравнению с другими. Однако в случаях использования при строительстве объекта сложного технического оборудования, монтаж которого на строительной площадке провести невозможно, безусловно, целесообразно применять метод монтажа зданий из объемных элементов со встроенным на заводе технологическом оборудованием.
История. В СССР предвестниками грядущего массового строительства на основе индустриальных блоков и панелей стали шлакоблочные «сталинки». Шлакоблочные «сталинки» нередко имеют унылый вид. Архитектура утилитарна, отсутствуют украшения, неоштукатуренный силикатный кирпич для наружных стен, почти плоские фасады со стандартным лепным декором. Первый в СССР четырёхэтажный каркасно-панельный дом сооружён в 1948 году в Москве на 5-й ул. Соколиной горы (Г. Кузнецов, Б. Смирнов). В настоящее время его адрес — Проспект Будённого,43. В это время руководством страны перед строителями была поставлена задача создать максимально дешёвый проект жилого дома с возможностью посемейного заселения (то есть с отдельными, а не коммунальными квартирами). Первым этапом выполнения этой задачи было внедрение идеи индустриального панельного домостроения с несущим каркасом. В 1948—1951 году М.В. Посохин, А.А. Мндоянц и В.П. Лагутенко застроили 10-этажными каркасно-панельными домами квартал в Москве (улицы Куусинена, Зорге). В том же году разработан проект бескаркасного панельного дома (строятся с 1950 года в Магнитогорске). В 1954 году в Москве на 6-й ул. Октябрьского поля сооружён 7-этажный бескаркасный панельный дом (Г. Кузнецов, Б. Смирнов, Л. Врангель, З. Нестерова, Н.А. Остерман). Хрущёвки, проектирование которых велось с конца 1940-х, пошли в серию после исторического постановления 1955 года «Об устранении излишеств в проектировании и строительстве» («внешне-показная сторона архитектуры, изобилующая большими излишествами», характерная для сталинской эпохи, теперь «не соответствует линии Партии и Правительства в архитектурно-строительном деле. … Советской архитектуре должна быть свойственна простота, строгость форм и экономичность решений»).
Идеологическое и научное обоснование нового курса сводилось к следующим пунктам:
Характеристики
Тип файла документ
Документы такого типа открываются такими программами, как Microsoft Office Word на компьютерах Windows, Apple Pages на компьютерах Mac, Open Office - бесплатная альтернатива на различных платформах, в том числе Linux. Наиболее простым и современным решением будут Google документы, так как открываются онлайн без скачивания прямо в браузере на любой платформе. Существуют российские качественные аналоги, например от Яндекса.
Будьте внимательны на мобильных устройствах, так как там используются упрощённый функционал даже в официальном приложении от Microsoft, поэтому для просмотра скачивайте PDF-версию. А если нужно редактировать файл, то используйте оригинальный файл.
Файлы такого типа обычно разбиты на страницы, а текст может быть форматированным (жирный, курсив, выбор шрифта, таблицы и т.п.), а также в него можно добавлять изображения. Формат идеально подходит для рефератов, докладов и РПЗ курсовых проектов, которые необходимо распечатать. Кстати перед печатью также сохраняйте файл в PDF, так как принтер может начудить со шрифтами.
















