144107 (727576)
Текст из файла
Содержание
Введение
1. Назначение, устройство, принцип действия механизма поворота башенного крана КБ-160.2
2. Неисправности механизма поворота
2.1 Техническое обслуживание
3. Обязанности крановщика перед началом работы
4. Экономический раздел
Список использованной литературы
Введение
Механизация тяжелых и трудоемких процессов – один из важнейших путей повышения производительности труда в промышленном строительстве. Недаром непременным элементом современного пейзажа стал подъемный кран.
С развитием сборного железобетона производить строительно-монтажных работы без механизации просто невозможно, так как вес отдельных деталей, из которых складывается здание, нередко достигает сотен тонн.
Краны башенные занимают наибольший удельный вес в составе парка грузоподъемных машин организаций любых форм. В СССР производство башенных кранов было начато в 30-х годах прошлого столетия. До ВОВ башенных кранов было изготовлено около 200 шт. бурное развитие производства башенных кранов началось после окончания ВОВ.
До 60-х годов прошлого столетия башенные краны выпускались в основном неспециализированными заводами, что привело к разнотипности парка. В 1960 году был разработан и внедрен в производство ряд унифицированных кранов из 8 базовых типоразмеров вместо существовавших в то время 80 моделей. Это позволило повысить надежность работы механизмов, снизить стоимость их изготовления, внедрить агрегатный метод ремонта, сократить сроки проектирования и освоения новых машин.
Конструкции башенных кранов совершенствовались в соответствии с направлением развития строительства. Так, для крупнопанельного строительства были созданы краны большой грузоподъемности; повышение темпов строительства потребовало создание механизмов с высокими скоростями рабочих движений и увеличения мобильности для ускорения ввода их в эксплуатацию.
В 80-х годах ХХ века начали выпускать башенные краны с грузовым моментом до 1000 т.м высотой подъема от 12 до 150 м. грузоподъемность кранов в массовом жилищном строительстве достигает 10 т. Башенный кран становится ведущей машиной и выполняет монтажные работы, укладку материалов на этажных ярусах, вертикальный транспортер материалов. Обновление парка башенных кранов сопровождается совершенствованием их конструкций, улучшением эксплуатационных качеств.
Современные ряды типоразмеров башенных кранов представляют собой совокупность весьма сложных и высокопроизводительных грузоподъемных машин, конструкции которых объединены общими признаками по исполнению и назначению.
Башенные краны подразделяются на массовые размерные группы. Внутри каждой размерной группы связующие сборные единицы превращены в унифицированные блок-модули, а между видами и схемами приводов достигнута общность принципов исполнений, обеспечивающая последовательность изучения всех звеньев в конструкции несущей системы, рабочих механизмов, силовых передач, электропривода, гидросистемы, аппаратуры управления, рабочих органов, приборов и устройств безопасности.
Для поддержания кранов работоспособном состоянии создана разветвленная сеть эксплуатационных баз. Большое внимание уделяется улучшению условий труда машиниста на кранах: краны оборудованы просторными кабинами с повышенной обзорностью; высотные краны снабжены подъемниками для машиниста.
Производительная и безопасная работа башенного крана во многом зависит от квалификации машиниста. Каждый крановщик, стропальщик, слесарь – все, кто имеет дело с кранами – должен систематически изучать и устройство подъемных кранов, и технологию грузоподъемных кранов, и технику безопасности, и правила технического ухода за вверенным ему оборудованием.
1. Назначение и устройство, принцип действия механизма поворота башенного крана КБ – 160.2
Механизм поворота башенного крана КБ – 160.2 предназначен для вращения поворотной части крана совместно с башней и стрелой крана.
Устройство поворотной части крана состоит из следующих механизмов:
а) цилиндрический редуктор – передаточное число И-121 У 3515.42С;
б) электродвигатель – тип MTF – 112-6 N = 5 кВм;
в) опорно-поворотное устройство [ОПУ] в виде однорядного роликового круга диаметром 2240 мм;
г) тормозное устройство.
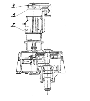
Поворот башни крана со стрелой осуществляется за счет электродвигателя, редуктора, опорно-поворотного устройства и тормозного устройства. Редуктор механизма поворота с вертикально расположенным электродвигателем, на верхнем конце которого располагается тормоз.
Механизм поворота, закрепленный на поворотной платформе, позволяет осуществлять поворот крана за счет вращения выходной шестерни, находящейся в зацеплении с венцом поворотного устройства, закрепленным на ходовой раме.
Крепление механизма поворота на поворотной платформе осуществляется в протоке нижнего листа платформы с помощью двух крепежных болтов с регламентированным зазором в соединении 2…3 мм. Такое соединение не требует выверки соосности при установке, что упрощает монтаж механизма. Тормоз, расположенный на выходном верхнем конце электродвигателя с вертикальной осью вращения, выполнен двухколодочным специальной конструкции.
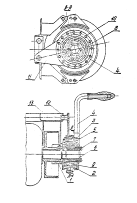
Механизм поворота (рис.1) состоит из: вертикального трехступенчатого редуктора 1, выходной вал которого заканчивается шестерней, фланцевого электродвигателя 2, со шкивом 3, охватываемым колодками специального тормоза 4 и кожуха 5.
Рисунок 1 – Продольный разрез механизма поворота
Кинематическая схема механизма показана на рис.2.
Редуктор состоит из корпуса, имеющего в нижней части лапы с 4-мя отверстиями, диаметром 40 мм для крепления механизма к поворотной платформе.
Нижний конец вала электродвигателя соединен через зубчатую муфту с вал-шестерней Z1, закрепляющейся с зубчатым колесом в свою очередь Z2. В свою очередь зубчатое колесо Z2 через вал-шестерню Z3 соединяется с зубчатым колесом второй ступени Z4. Через вал-шестерню Z5 соединяется зубчатое колесо Z6 и шлицевой вал третьей ступени, на который насаживается выходное колесо.
Выходной вал установлен на двух конических подшипниках, все остальные опоры вала выполнены на шарикоподшипниках. В крышке редуктора имеется отверстие для заливки масла, закрываемое пробкой отдушиной со щупом. В нижней части корпуса имеется отверстие с пробкой для слива масла.
Рисунок 2 – Кинематическая схема
Тормоз механизма закреплен на лапах электродвигателя посредством рейки. Торможение механизма поворота осуществляется специальным тормозом с горизонтально-расположенными и раздельно действующими колодками на тормозную муфту (рис.3).
Колодки, рычаги, пружины, регулирующие штифты, пальцы и электромагниты типа МО 100-Б смонтированы на кронштейне 7, привернутом к лапам электродвигателя. Тормозной шкив и тормозное устройство закрываются съемным кожухом 5 (см. рис.1).
Рисунок 3 - Механизм поворота. Разрез по тормозу
Для разворота поворотной платформы вручную, как при транспортировке крана в составе автопоезда, так и при возникновении случайной необходимости во время эксплуатации крана, предусмотрена съемная безопасная «рукоятка механизма поворота», которая надвигается на ступицу тормозного шкива механизма поворота.
Безопасная рукоятка (рис.4) состоит из рукоятки роликовой муфты свободного хода и стопорного рычага. Ступица 1 смонтирована на подшипнике 2, в разъемном корпусе 3. Вращение ступицы 1 рукояткой 4 производится через двухстороннюю роликовую обгонную муфту. Муфта состоит из наружной обоймы 5, внутренней обойму 6, связанной со ступицей болтами 7. Четыре ролика 8 уложенные на кольцо 9 между наружной и внутренней обоймами подпружены гильзами 10. Корпус 3 удерживается от вращения стопорным рычагом 11, палец которого входит в одно из отверстий рамы тормоза 13.
При вращении рукоятки 4 ее вилка, нажимая на ролики 8, растормаживает обгонную муфту и передает движение внутренней обойме 6 и связанной с ней ступице 1. При обратном движении ролики 8 муфты заклиниваются, и крутящийся момент со стороны механизма поворота замыкается стопором 11 на раму тормоза.
Такая конструкция безопасной рукоятки обеспечивает поворот ходовой части крана при транспортировке и исключает самопроизвольное вращение рукоятки на уклонах и неровностях пути.
Рисунок 4 – Безопасная рукоятка
Оттягивание колодок тормоза на период работы безопасной рукояткой производится путем подклинивания хвостовой части рычагов тормоза специально встроенными в них поворотными распорками 23 (см. рис.3). По окончании работ, связанных с ручным разворотом поворотной платформы, установленные в рабочее положение для расклиновки, поворотные распорки 23 рычагов тормоза, должны быть немедленно выведены в нейтральное, т.е. нерабочее положение и колодки тормоза наложены на тормозной шкив.
Для восприятия нагрузок опрокидывающих моментов от поворотной части крана, поднимаемого груза, ветровых нагрузок, массы противовеса и передачи этих нагрузок на неповоротную часть крана – ходовую раму на кранах устанавливается опорно-поворотное устройство [ОПУ] в виде однорядного роликового круга диаметром 2240 мм.
На кране КБ – 160.2 установлены шариковые двухрядные круги диаметром 2240 мм, при этом венец жестко крепится к ходовой раме, а верхняя и нижняя полуобоймы – к поворотной платформе. Оси вращения смежных роликов расположены под углом 900. благодаря этому четные ролики воспринимают нагрузку, направленную от верхней полуобоймы к венцу, а нечетные ролики от нижней полуобоймы к венцу.
С целью снижения ветровых нагрузок на кран в нерабочем состоянии предусмотрено устройство для растормаживания механизма поворота при уходе машиниста с крана, благодаря чему кран может поворачиваться по ветру. Механизм оборудован двухступенчатым тормозом с раздельно управляемыми колодками. Двухступенчатая конструкция тормоза позволяет повысить плавность работы механизма. Первая ступень торможения (одна колодка накладывается на шкив) осуществляется при работающем электродвигателе и служит для предварительного притормаживания механизма; вторая ступень (вторая колодка накладывается на шкив) выполняется при остановке двигателя. Совместная работа обеих колодок позволяет удерживать кран в заданном положении.
2. Неисправности механизма поворота башенного крана КБ-160.2
1. Редуктор:
а) течь масла по разъему редуктора;
б) износ зубьев шестерен в редукторе;
в) прослаблены шпоночные соединения на валах шестерен в редукторе;
г) щуп не правильно показывает уровень масла по трещинам;
д) течь масла по трещинам в корпусе редуктора;
е) прослаблены болты крепления редуктора;
ж) прослаблены болты крепления разъемного соединения редуктора;
з) ослаблены болты крепления смотрового лючка или прокладка разрешена – течь масла из-под лючка.
2. Электродвигатель привода:
а) прослаблены болты крепления электродвигателя;
б) прослаблены болты крепления торцевых крышек электродвигателя;
в) клемная коробка открыта, нет крышки;
г) крышка контактных колец не закрыта;
д) контактные кольца на роторе имеют износ недопустимый;
е) щетки изношены, траверсы задевают до контактные кольца;
ж) нет смазки в подшипниках или неисправен подшипник – нагрев более 900С;
з) чрезмерный нагрев статора электродвигателя – руку нельзя держать более 3 секунд или перегруз, или неисправность в обмотке;
и) сильный шум в нутрии электродвигателя или развалились (разрушились) подшипники и цепляет ротор о статор;
к) сильный шум в соединительной муфте:
- штопочные соединения разрушились;
- соединительные пальцы раскрутились или резинки на пальцах износились;
- зубья разрушились из-за отсутствия смазки.
Характеристики
Тип файла документ
Документы такого типа открываются такими программами, как Microsoft Office Word на компьютерах Windows, Apple Pages на компьютерах Mac, Open Office - бесплатная альтернатива на различных платформах, в том числе Linux. Наиболее простым и современным решением будут Google документы, так как открываются онлайн без скачивания прямо в браузере на любой платформе. Существуют российские качественные аналоги, например от Яндекса.
Будьте внимательны на мобильных устройствах, так как там используются упрощённый функционал даже в официальном приложении от Microsoft, поэтому для просмотра скачивайте PDF-версию. А если нужно редактировать файл, то используйте оригинальный файл.
Файлы такого типа обычно разбиты на страницы, а текст может быть форматированным (жирный, курсив, выбор шрифта, таблицы и т.п.), а также в него можно добавлять изображения. Формат идеально подходит для рефератов, докладов и РПЗ курсовых проектов, которые необходимо распечатать. Кстати перед печатью также сохраняйте файл в PDF, так как принтер может начудить со шрифтами.
















