144060 (727554), страница 3
Текст из файла (страница 3)
Після того, як кут нахилу поверхні забою доходить до встановленої межі, екскаватор переміщається на наступну стоянку.
При радіальному переміщенні рами черпання відбувається не по всій довжині ковшової рами. Цей спосіб використовують за наявності однорідної сировини і не застосовують при розробці забою, складеного різнорідними шарами глини.
Робота з нижнім черпанням більш продуктивна, ніж з верхнім, оскільки коефіцієнт наповнення ковша в першому випадку на 15—20% вище.
При паралельному черпанні кут нахилу ковшової рами відповідає граничному куту укосу забою. Черпання відбувається одночасно по всій товщині копалини. Для роботи екскаватора по цьому методу між робочою частиною і плечем рами вставляється проміжна ланка, що є відрізком ковшової рами.
Одноковшеві екскаватори застосовують частіше всього в кар'єрах, де глина однорідна по всій глибині залягання | пласта. Екскаватор черпає глину ковшем місткістю від 0,5 до 2 м і передає її в транспортні засоби. При використовуванні конвеєрного транспорту глину вантажать на конвеєри через вантажні бункери, місткість яких повинна не менше 1,5—2-кратній місткості ковша екскаватора.
Роторні екскаватори частіше за все застосовують при селективній здобичі глин.
Розробку глини ведуть зверху вниз. При обертанні роторного колеса ковші входять в шар глини і відділяють смужку (стружку) глини. Залежно від густини глин товщина стружки може бути 50—200 мм.
Послідовно обробляючи кожний шар, роторне колесо опускається до підошви уступу, тобто на його повну потужність.
Забій роторного екскаватора може бути розташований з торця уступу (частіше всього) або з боку укосу уступу.
Виїмка глин роторним екскаватором здійснюється вертикальними і горизонтальними стружками. При валовій розробці і селективній виїмці глин застосовують розробку вертикальними стружками, а відробіток забою і зачистку підошви забою — горизонтальними стружками (мал. 10). Здобута глина поступає на стрічковий конвеєр і останнім подається в транспортні засоби.
На багатьох кар'єрах застосовують малолітражні роторні екскаватори, що мають висоту черпання 5—7,5 м, що дозволяє проводити одноуступну розробку глин.
Якщо роторні екскаватори мають спеціальну транспортерну стрічку, ними можна розробляти глини взимку.
Роторні екскаватори володіють більш високою продуктивністю в порівнянні з багатоковшевими і одноківшовими.
Мал. 10. Розробка роторним екскаватором пластів горизонтальними шарами
В процесі експлуатації родовища необхідно постійно стежити за станом укосів, щоб вчасно попередити самообвалення порід. Необхідно спостерігати за появою різних прошарків серед глин, оскільки вони можуть служити причиною порушень стійкості укосів.
Спостереження ведуть також за зміною кута укосів, появою на укосах тріщин і здуття. Постійно фіксують стан грунтових вод, щоб вжити заходів для своєчасного їх відведення.
Транспортування глини з кар'єру на підприємства
Для транспортування глини на кар'єрах широко застосовують автотракторний, рейковий і рідше конвеєрний транспорт.
Автотракторний транспорт найбільш простій, надійний і маневрений. При розробці глини екскаваторами з невисокою продуктивністю раціонально використовувати автосамоскиди вантажопідйомністю до 10 Т (мал. 11, а), екскаваторами високої продуктивності — великовантажні причепи з тягачами (мал. 11,6).
Рейковий транспорт (мал. 11, в) застосовують на деяких кар'єрах. Глину завантажують у вагонетки, для відкатки яких використовують мотовози і електровози.
Вагонетки використовують декількох типів. На мал. 11, д показана самоперекидна вагонетка. Місткість кузовів таких вагонеток від 0,75 до 1,5 м3 (Т-14 і Т-89). В кар'єрах підвищеної продуктивності використовують вагонетки Т-54 з перекидною платформою місткістю 2,5—5 м3 (мал. 11, е).
Для пересування кар'єрних вагонеток застосовують мотовози МУ-Т/2, ТУ-3/4 і МКД-35 і електровози 7КР-1, 10КР-1, 14КР-1
Мал. 11. Кар'єрний транспорт: а — автосамоскид, би — великовантажний причіп з тягачем, в — рейковий транспорт з відкаткою вагонеток, г — стрічковий конвеєр, д — перекидна вагонетка, е — вагонетка платформеного типу
Конвеєрний транспорт (мал. 11, г) створює умови для безперервної роботи устаткування здобичі. Проте за несприятливих атмосферних умов намокла глина прилипає до стрічки конвеєра, а при негативних температурах стрічка втрачає еластичність, що утрудняє його роботу.
Перед пуском в роботу кар'єрних механізмів і початком руху машин і інших видів транспорту необхідно подавати звукові або світлові сигнали, із значеннями яких повинні бути ознайомлений всі працюючі.
Спушення глин
З кар'єру глина поступає в приймальне відділення заводу. В тих випадках коли глиняна сировина, що поступає, містить багато великих злиплих або змерзшихся шматків, її розпушують.
При сушенні нещільних запісочених глин доцільно використовувати глиноспушувачі конструкції П. До. Гурова; глини середньої густини краще обробляти глинорыхлителями конструкції Л. Л. Бурова, СМ-1033 і СМК-Ю31А, а високощільні — одновальними і двухвальними глинорспушувачами конструкції Ленстройкераміки.
Гліноспушувачі СМК-Ю31А (мал. 12) і СМ-1033 мають пересувні робочі органи (вал 3 з лопатями). Грудки глини ріжуться лопатями 2 і через грати потрапляють в живильник ящика.
Гліноспушувачі конструкції Ленстройкераміки (мал. 13) мають стаціонарний робочий орган.
Технічні характеристики глиноспушувчів приведені табл. 9.
Гліноспушувачі пускають після завантаження глиною
Таблиця 9
| Технічні характеристики глиноспушувачів | |||||||||||
| Показники | Конструкції п. до. Гурова | Конструкції Л. Л Бурава, СМ-1033 | СМК-1031А | Конструкції Ленстройкераміки | |||||||
| одновальний | двухвальний | ||||||||||
| Продуктивність, м3/ч | 30 1 | 30 0,3 | 25 | 20 | 30 | ||||||
| Кутова швидкість валу з ножами, об/мин | 20 | 20 | 7,85 | - | - | ||||||
| Швидкість ходу розпушувача, м/мін | 1 | 0,3 | - | - | - | ||||||
| Потужність электродви гунів, квт | 10 | 16,8 | 10,0 | 14 | 10 | ||||||
| Габаритні розміри, мм: довжина | 4150 | 5175 | 4600 | 3500 | 4000 | ||||||
| ширина | 2350 | 2953 | 1800 | 1400 | 1400 | ||||||
| висота | 980 | 1370 | 1200 | 960 | 980 | ||||||
| Маса, т | 3,6 | 4,8 | 3,5 | 2,2 | 3,2 | ||||||
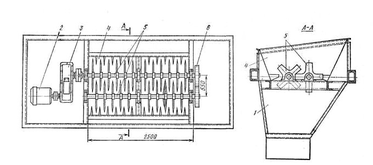
Рис.12 Гліноспушувач СМК-1031А: 1 - привід робочого валу, 2 - лопаті, 3 - вал розпушувача, 4 - привід поперечного руху каретки, 5 - муфта
Під час роботи глиноспушувача робітник стежить за справністю основних робочих органів — бив і опорних катків, а також за станом кріпильних деталей. В процесі роботи не дозволяється ставати на грати бункера, витягувати з нього сторонні предмети, мастити частини машини.
При розвантаженні бункера розпушувачів необхідно стежити, щоб глина не містила сторонніх включень. Якщо такі включення попадаються, слід зупинити глиноспушувач і витягнути їх. Глиноспушувач зупиняють після вироблення всієї глини. Забороняється знаходитися між глиноспушувачем і транспортом в той час, коли перекидається кузов транспортних пристроїв.
Мал. 13. Двухвальний глиноспушувач конструкції Ленстройкераміки: 1 - бункер ящика подавателя, 2 – електродвигун потужністю 10 квт, 3 - редуктор РМ-650, 4 - бункер розпушувача, 5 - спушувальні вали з билами, 6 - шестерна передача
Подача глини у виробництво
Після спушення глина поступає на деяких заводах в глино-сховищі, а іноді безпосередньо на переробку.
Для рівномірної подачі глини в глинохранилище або безпосередньо у виробництво застосовують живильники ящиків СМ-664, СМ-1090, СМК-78 (СМ-1091), «Кема» (Німеччина ).
Живильник ящика СМ-664 (мал. 14) складається з корпусу 1, транспортера 2, електродвигуна 3, редуктора 4, валу 5 з билами. На корпусі живильника встановлені планки 7, до яких кріплять металеві перегородки — шиберы 6. Висоту шиберов регулюють так, щоб була забезпечена найбільша продуктивність встановленого після живильника ящика устаткування.
Мал. 14. Живильник ящика СМ-664: 1 — корпус, 2 — транспортер, 3 — електродвигун, 4 — редуктор, 5 — вал з билами, 6 — шибери, 7 — планки
Живильники ящиків СМ-1090 і СМК-78 (СМ-1091) складаються з корпусу, стрічки транспортера, приводу і валів: приводного, натяжного, проміжного і бильного. Корпус по довжині розділений двома шиберами на дві завантажувальні камери. Шибери підіймаються і опускаються рейковою передачею за допомогою штурвалу, розташованого на бічній стороні корпусу. Для перемішування і рівномірної подачі матеріалу в лоток живильника застосований бильний вал.
Тяговим органом живильника СМК-78 (СМ-1091) є сталева пластинчата стрічка, що має з боків два каткові ланцюги з приклепаними між ними пластинами. Вона утворює рухоме дно живильника. Пластини стрічки плоскі із сталевого листа завтовшки 6 мм і з трьома зигами. Знизу до пластини приварюється профіль з листа завтовшки 4 мм, додаючий пластині жорсткість. Приводом тягового органу і бильного валу служить електродвигун з клиноременной передачею.
Тяговим органом живильника ящика СМ-1090 є гумова стрічка шириною 1200 мм Для усунення провисания стрічки над нею розташований рольганг з 31 ролика діаметром 90 мм В іншому живильники СМ-1090 і СМ-1031 однакові.
Технічні характеристики живильників ящиків приведені в табл. 10.
Таблиця 10
| Технічні характеристики живильників ящиків | |||||
| Показники | СМ-664 | СМ-1090 | СМК-78 (СМ-1091) | ||
| Продуктивність м3/ч | 15 і 35 | 25 | 25 | ||
| Кількість камер | 2 | 2 | 2 | ||
| Місткість камер м3 | 2,2 | 2,9 | 2,9 | ||
| Потужність приводу, квт | 4,2 | 3 | 4 | ||
| Швидкість руху стрічки транспортера м/мін | 1,8 і 2,48 | 1,5 і 2,0 | 1,5 і 2,0 | ||
| Кутова швидкість бильного валу. об/мин | 95,5 і 126 | 90 і 120 | 85 і 117 | ||
| Габаритні розміри, мм: довжина | 5930 | 6510 | 6350 | ||
| ширина | 2060 | 2485 | 2530 | ||
| висота | 1200 | 1610 | 1620 | ||
| Маса, т | 2,8 | 4,1 | 4,6 | ||
Зберігання і вилежування сировинних матеріалів
При вилежуванні глин їх якість поліпшується. Зберігання і вилежування глини в сховищах (мал. 15 і 16).
Стаціонарні сховища забезпечують безперебійне і ритмічне постачання заводу сировиною незалежно від метеорологічних умов. В промисловості використовують сховища, в яких для подачі сировинних матеріалів у виробництво експлуатуються багатоковшеві екскаватори з нижнім (мал. 16, а) і з верхнім черпанням (мал. 16, би). Глина 1 конвеєром 2 подається на первинне дроблення в глинооброблюючу машину 3. Після вилежування екскаватор 4 передає глину на конвеєр 5. Навантажувально-розвантажувальні роботи в глино-сховищах здійснюються також грейферними захопленнями, багатоковшевими екскаваторами, автонавантажувачами і бульдозерами.
Що поступає на завод сировину перед розвантаженням в глиносховище оглядають і перевіряють, чи немає в ньому сторонніх домішок.
Глину, каолін, кварцовий пісок, засмічені вугіллям, залізом, шлаком, крейдою і іншими домішками, які не можна видалити в процесі розвантаження, вивантажують зовні території складу.
Завантажують сировину тільки в призначені для кожного вигляду і сорту відсіки. Відсіки складу і майданчика для зберігання сировини обов'язково повинні бути маркірований. Від кожної партії сировини, що прибуває, відбирають середню пробу і контролюють її якість в лабораторії або ОТК.















