135771 (722612), страница 4
Текст из файла (страница 4)
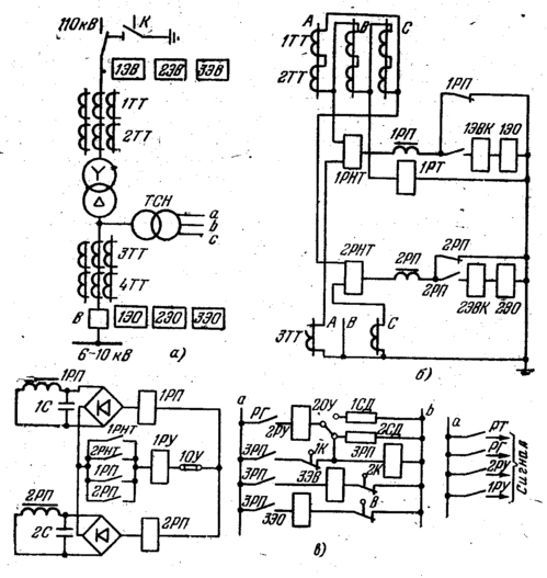
На рис. 7 представлена схема защиты трансформатора отпаечной подстанции. Оба контакта газовой защиты (как сигнальный, так и отключающий) питаются от трансформатора собственных нужд ТСН (рис. 7, а). Это допустимо, поскольку имеется дифференциальная защита, которая, являясь основной, резервирует действие газовой защиты в случае отказа последней при повреждениях трансформатора, сопровождающихся значительным снижением напряжения на шинах собственных нужд. Резистор 2СД (рис. 7, в), подключенный параллельно обмотке реле; ЗРП (типа РП-26), "увеличивает ток в обмотке указательного реле 2РУ (типа РУ-21) для обеспечения более четкой его работы. Реле ЗРП, сработав, самоудерживается через размыкающий .вспомогательный контакт короткозамыкателя 1К.. Резистор 1СД необходим для работы 2РУ при переводе действия газовой защиты отключающим устройством 2ОУ на сигнал.
Д
ифференциальная защита (1РНТ, 2РНТ) (рис. 7,б) выполнена на реле РНТ-363 (с насыщающимися трансформаторами) и действует на промежуточные выходные реле 1РП и 2РП
Рис. 7. Схема защиты трансформатора отпаечной подстанции, имеющего встроенные трансформаторы тока.
(типа РП-341). Пуск реле РП-341 осуществляется замыкающими контактами реле 1РНТ, 2РНТ. Мощные контакты реле 1РП и 2РП, переключаясь, подключают трансформаторы тока к электромагнитам включения короткозамыкателя 1ЭВК, 2ЭВК. и электромагнитам отключения 1ЭО и 2ЭО выключателя стороны низшего напряжения трансформатора. При подключении электромагнитов возрастает нагрузка на питающие их трансформаторы тока. Для предотвращения возврата пускового реле из-за увеличения нагрузки в токовых цепях контакты реле 1РП и 2РП подключены параллельно контактам пусковых реле защиты. Таким образом, реле РП-341 самоудерживается за счет тока, проходящего по его обмотке, независимо от положения контактов пусковых реле. Чтобы обеспечить надежную работу электромагнита, его ток срабатывания должен быть не более 0,8 тока срабатывания действующей на него защиты. Поскольку чувствительность основных токовых защит должна быть не менее 1,5, то при минимальном токе к. з., при котором она обеспечивается, чувствительность электромагнита будет не менее 1,5/0,8 2. Соблюдение этого условия важно, потому что при малых токах, близких к току срабатывания, электромагнит работает замедленно и защита питающей линии может сработать раньше, чем сработает электромагнит короткозамыкателя. Это в свою очередь приведет к неуспешному АПВ выключателя линии.
ОСОБЕННОСТИ АПВ ТРАНСФОРМАТОРОВ
На однотрансформаторной подстанции АПВ трансформатора является обязательным. Осуществление на" двухтрансформаторной подстанции АПВ трансформаторов рекомендуется, если при отключении одного трансформатора оставшийся в работе трансформатор не может обеспечить питание нагрузки без отключения части, потребителей.
Запрет АПВ. при повреждении внутри бака трансформатора осуществляется с помощью сигнального контакта газового реле.
Для осуществления АПВ трансформатора используются те же устройства, что и для АПВ линии. При этом АПВ должно действовать с выдержкой времени для исключения его срабатывания при внутренних к. з., сопровождающихся бурным газообразованием, когда отключающий контакт газового реле замыкается раньше, чем сигнальный.
АВТОМАТИЧЕСКОЕ ВКЛЮЧЕНИЕ РЕЗЕРВНОГО ИСТОЧНИКА ПИТАНИЯ ПРИ ОТКЛЮЧЕНИИ ТРАНСФОРМАТОРА
На подстанциях широкое распространение получили устройства автоматического включения секционного выключателя С В при исчезновении питания на одной из секций шин низшего напряжения.
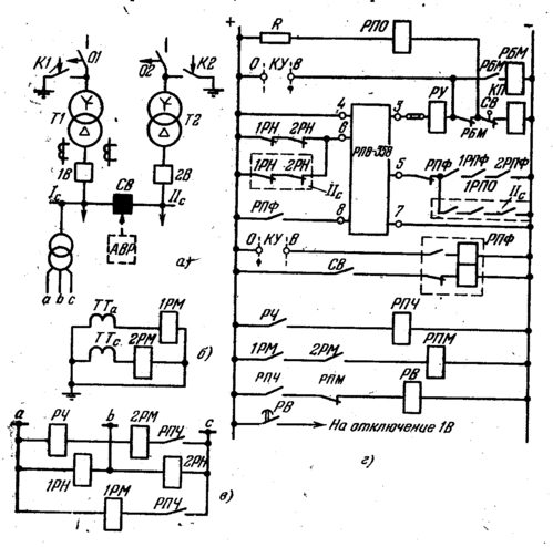
Схема АВР СВ, выполненная с помощью реле РПВ-358, представлена на рис. 8. Пуск АВР осуществляется при соблюдении следующих условий: несоответствие положения ключа управления (фиксируемого с помощью реле 1РПФ, обмотки которого не показаны
Р
ис. 8. Схема АВР СВ с устройством выявления потери питания и проверкой значения встречного напряжения.
на рис. 8,г) и выключателя 1В (рис. 8, а) (фиксируемого с помощью реле РПО, срабатывающего при отключении выключателя). При этом подается «минус» на зажим 5 комплектного устройства РПВ-358 и происходит срабатывание АВР. Действие АВР контролируется замыкающим контактом реле 2РПФ, который замыкается в случае срабатывания защиты от внутренних повреждений в трансформаторе или защиты от потери питания.
Аналогичная цепь пуска АВР предусмотрена на рис. 8, г и при отключении трансформатора Т2, питающего вторую секцию подстанции IIс-(рис. 8, а). Цепь пуска АВР контролируется также размыкающим контактом РПФ, который замкнут при отключенном СВ.
Двухпозиционное реле РПФ срабатывает и переключает свои контакты при отключении СВ ключом управления КУ (фиксируя тем самым отключенное положение выключателя) и при включении выключателя по любой причине от контактов электромагнита включения СВ (фиксируя включенное положение выключателя).
В рассматриваемой схеме АВР предусмотрен также - контроль отсутствия напряжения на резервируемой секции шин, который осуществляется последовательно включенными размыкающими контактами реле минимального напряжения 1РН и 2РН, подающими «плюс» на зажим 6 комплектного устройства РПВ-358. Контроль отсутствия напряжения необходим для предотвращения несинхронного включения резервного источника питания на остаточное напряжение тормозящихся крупных синхронных . или асинхронных двигателей. Затухание э. д. с. синхронного электродвигателя при неотключенном возбуждении будет происходить по мере уменьшения частоты вращения, а при гашении поля -- по мере уменьшения тока в обмотке возбуждения.
Пуск АВР при исчезновении напряжения, на секциях шин, когда выключатель питающего трансформатора останется включенным, с помощью минимальных реле напряжения может оказаться неэффективным, поскольку синхронные двигатели и конденсаторные батареи могут длительно поддерживать остаточное напряжение на шинах, потерявших питание. Поэтому в рассматриваемой схеме пусковой орган АВР дополнен устройством, реагирующим на снижение частоты и изменение направления активной мощности. Этот пусковой орган срабатывает при снижений частоты, если активная мощность через питающую линию или трансформатор стала равной нулю или изменила направление.
Устройство состоит из реле частоты РЧ (рис. 8, в), промежуточных реле РПЧ и РПМ, реле направления мощности 1РМ, 2РМ (рис. 8,б) и реле времени РВ.
К реле мощности подводятся линейное напряжение и ток отстающей фазы: Ubc и —Iс; Uca и —Ia. При таком включении и внутреннем угле, равном 30°, реле имеет положительный момент при направлении активной мощности к шинам и отрицательный — при направлении активной мощности от шин; реле подключается таким образом, чтобы при направлении мощности к потребителю контакты его были замкнуты. Необходимость двух реле направления мощности объясняется тем, что при двухфазном к. з. за трансформатором одно из реле может сработать 'неправильно. Уставка срабатывания по частоте реле РЧ принимается равной 48—48,5 Гц. Для облегчения работы контактов реле направления мощности и уменьшения нагрузки на трансформатор напряжения напряжение на обмотки реле мощности подается после снижения частоты. Если срабатывание реле частоты будет обусловлено снижением частоты в энергосистеме, контакты РЧ замкнутся, сработает реле РПЧ, а реле времени (с уставкой 0,3—0,5 с) не сработает, так как контакты реле РПМ останутся разомкнутыми (мощность направлена к шинам, и контакты 1РМ и 2РМ замкнуты).
Если срабатывание реле РЧ произойдет вследствие затухания напряжения на шинах подстанции при потере питания, контакты реле направления мощности останутся разомкнутыми и реле времени сработает.
Запрет АВР осуществляется подачей «плюса» на зажим 8 от замыкающего контакта РПФ, который замкнут при включенном СВ.
Важно отметить, что" устройство АВР СВ должно работать только при потере питания (отключении питающей линии) и при внутренних повреждениях трансформатора. В остальных случаях отключения выключателя на низшей стороне трансформатора (от токовых защит) должно работать АПВ шин низшего напряжения путем повторного включения основного источника (трансформатора). Такое разграничение действия устройств АПВ и АВР СВ вызвано тем, что при включении секционного выключателя на к. з. имеется опасность отключения второго трансформатора и полного обесточения потребителя (при отказе защиты секционного выключателя или неисправности самого выключателя). Для реализации указанного сочетания действия устройств АПВ и АВР СВ в схемах защиты трансформатора устанавливается специальное реле 2РПФ, запоминающее работу защит от внутренних повреждений и потери питания.
В отдельных случаях запрещается работа устройства АВР при наличии замыкания на землю в резервируемой или резервирующей сети из-за опасения повышенной вероятности перекрытия другой фазы вследствие коммутационных перенапряжений в момент включения СВ. При этом может возникнуть двойное замыкание на землю - одно на резервирующей части сети, другое — на резервируемой. Действие АВР должно также запрещаться, если основной источник питания будет отключен от АЧР.
АВТОМАТИЧЕСКОЕ РЕГУЛИРОВАНИЕ КОЭФФИЦИЕНТА ТРАНСФОРМАЦИИ (АРКТ)
С целью поддержания требуемого уровня напряжения широко распространено регулирование напряжения Uп у потребителей (рис. 9) путем изменения коэффици-
Рис. 9. Поясняющая схема (а) и характеристика изменения напряжения у потребителя при наличии АРКТ (б).
ента трансформации трансформаторов понижающих подстанций, питающих распределительную сеть. Для изменения коэффициента трансформации под нагрузкой трансформаторы оборудуются устройствами РПН (переключение отпаек под нагрузкой). Автоматическое изменение nт осуществляется специальным регулятором АРКТ, воздействующим на РПН.
В общем случае электрическая сеть, получающая питание от шин подстанции, может быть разветвленной и питать значительное количество нагрузок. При этом наиболее выгодно поддерживать неизменным напряжение в некоторой контролируемой точке, представив разветвленную сеть в виде эквивалентной линий с одной нагрузкой на конце. Поскольку значение напряжения Uп при данном напряжений на шинах Uш зависит от падения напряжения в эквивалентной линии (Uп = Uш – Zэ,лIп ) , то напряжение Uш должно быть тем больше, чем больше нагрузка потребителя. Такое регулирование напряжения получило названий встречного регулирования.
Неизменность напряжения в контролируемой точке сети при различных режимах нагрузки может быть обеспечена, если смоделировать на входе измерительного органа АРКТ напряжения, существующие в регулируемой цепи. Для этого к нему необходимо подвести напряжение
Uп = Uш – Iп
Измерительный орган АРКТ является регулятором по отклонению напряжения от заданного значения UКОНТР, пропорционального напряжению в контролируемой точке. Если Iп будет равно падению напряжения в эквивалентной линии Zэ,л (от шин подстанции до контролируемой точки), т, е. Iп = Zэ,лIп, то при наличии АРКТ напряжение у потребителя (в контролируемой точке) будет соответствовать заданному значению. Из сказанного следует необходимость ввести в измерительный орган напряжения АРКТ сигнал, пропорциональный току нагрузки. Целесообразно использовать суммарный ток нагрузки, поскольку при различных графиках изменения нагрузок потребителей регулирование по суммарному току более точно отвечает необходимому закону регулирования.
Измерительный орган подключается к трансформатору напряжения ТН и трансформаторам тока ТТ (рис. 9, а).
При отключении выключателя В (рис. 9, а) АРКТ необходимо вывести из работы, что производится вспомогательным контактом В путем отсоединения выхода АРКТ от приводного механизма ПМ устройства РПН. *
На двухтрансформаторных подстанциях, работающих с отключенным СВ, АРКТ устанавливается на каждом трансформаторе. При отключении одного из трансформаторов и включении секционного . выключателя следует убедиться (у АРКТ остающегося в работе трансформатора) в правильности поддержания напряжения при встречном регулировании и при необходимости изменить значение .
Особенностями АРКТ являются релейность действия, наличие зоны нечувствительности Uнч выбираемой большей, чем ступень изменения напряжения Uст при переключении одной отпайки:
Uнч = (1.251.3) Uст
Переключение отпаек необходимо производить с выдержкой времени, обеспечивающей отстройку от кратковременных колебаний напряжения (например, при пуске электродвигателей). Поэтом при выходе напряжения у потребителя из зоны нечувствительности регулятора (рис. 9, б) АРКТ через время tср = 12 мин воздействует на РПН.
СПИСОК ЛИТЕРАТУРЫ
-
Кривенко В.В., Новелла В.Н. «Релейная защита и автоматика систем электроснабжения» М., «Энергоиздат», 1981
-
Крюков В.И. «Обслуживание и ремонт электрооборудования подстанций и распределительных устройств», М., «Высшая школа», 1983
















