135771 (722612), страница 2
Текст из файла (страница 2)
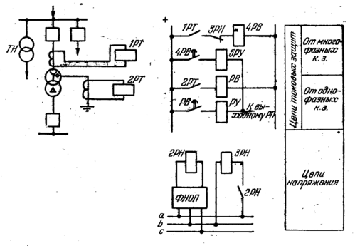
Рис. 2. Защита трансформатора от внешних к. з. и перегрузок.
Напряжение срабатывания 2РН отстраивается от напряжения небаланса Uнб, раб на выходе фильтра ФНОП в рабочем режиме:
где kотс и kв — коэффициенты отстройки и возврата реле; Uном и KU — номинальное напряжение и коэффициент трансформации трасформатора напряжения ТН.
Напряжение срабатывания ЗРН отстраивается от минимального значения напряжения в месте установки ТН с учетом самозапуска электродвигателей
(1)
Коэффициент чувствительности защиты по напряжению должен быть не ниже kч = 1,21,3, причем kч, при симметричном к. з. можно определять не по напряжению срабатывания минимального реле ЗРН, а по напряжению его возврата, так как симметричное к. з. в начальный момент времени является несимметричным, а следовательно, ЗРН срабатывает в результате срабатывания 2РН. Такое взаимодействие реле повышает чувствительность защиты по напряжению при симметричных к. з.
Если трансформатор с высшим напряжением 110 кВ имеет глухозаземлённую нейтраль, то при однофазном к. з. в сети 110 кВ через нейтраль трансформатора будут проходить токи нулевой последовательности, для отключения которых на трансформаторе устанавливается специальная токовая защита нулевой последовательности. Измерительный орган защиты, которая устанавливается только при наличии питания со стороны НН или СН, состоит из одного реле тока 2РТ (рис. 2), подключенного к ТТ, установленному в цепи заземления нейтрали трансформатора. Ток срабатывания защиты выбирается из условия надежной отстройки от тока небаланса в заземляющей цепи при внешних междуфазных к. з. и согласуется с токами срабатывания защит от однофазных к. з., установленных на линиях, примыкающих к защищаемому трансформатору. Значение тока срабатывания обычно находится в пределах 100—200А. Время срабатывания защиты (реле РВ) должно быть на ступень селективности больше времени срабатывания наиболее медленно действующей защиты от однофазных к. з. примыкающих к трансформатору лин-ий электропередачи, При питании трансформатора только со стороны высшего напряжения защита обычно не устанавливается.
Защита трансформатора от перегрузки, выполняемая одним реле, имеет ток срабатывания
где kотс = 1,05 — коэффициент, учитывающий погрешность в значении тока срабатывания.
На трехобмоточных трансформаторах с односторонним "питанием защита от перегрузки устанавливается со стороны питания. При существенно различных мощностях обмоток устанавливается дополнительно защита на питаемой обмотке меньшей мощности.
ГАЗОВАЯ ЗАЩИТА ТРАНСФОРМАТОРА
Обмотки большинства трансформаторов помещены в бак, залитый маслом, которое используется как для изоляции обмоток, так и для их охлаждения. При возникновении внутри бака электрической дуги к. з., а также при перегреве обмоток масло разлагается, что сопровождается выделением газа. Это явление и используется для создания газовой защиты.
Защита выполняется с помощью газового реле, установленного в трубе, соединяющей бак трансформатора с расширителем. Газовое реле состоит из кожуха и двух расположенных внутри него поплавков, снабженных ртутными контактами, замыкающимися при изменении их положения. Оба поплавка шарнирно укреплены на вертикальной стойке. Один из них расположен в верхней части, а второй — в центральной. При слабом газообразовании (газ скапливается в верхней частей кожуха реле), а также при понижении уровня масла верхний поплавок опускается, что приводит к замыканию его контактов. При бурном газообразовании потоки масла устремляются в расширитель, что приводит к замыканию контактов обоих поплавков. .Контакты верхнего поплавка носят название сигнальных, а нижнего — основных контактов газового реле.
Движение масла через газовое реле, вызванное к. з. внутри бака трансформатора, обычно является толчкообразным: Поэтому замыкание основных контактов может быть ненадежным (перемежающимся), что учитывается, при выполнении схемы газовой защиты трансформатора.
На рис. 3 изображена схема газовой защиты на переменном оперативном токе. Выходное промежуточное реле защиты РП самоудерживается до отключения выключателя 1В со стороны питания.
Поскольку газовая защита может сработать ложно, например, вследствие выхода воздуха из бака трансформатора после доливки свежего масла, в схеме защиты предусмотрены переключающее устройство ПУ и резистор R, с помощыо которых действие газовой защиты может быть переведено на сигнал.
Достоинствами газовой защиты являются простота выполнения, срабатывание при всех видах повреждения внутри бака трансформатора, высокая чувствительность.
Рис. 3. Принципиальная схема газовой защиту трансформатора,
Однако газовая защита, естественно, не срабатывает при повреждениях вне бака трансформатора. Поэтому она не может быть единственной основной защитой трансформатора.
Трансформаторы мощностью 1 МВ*А и более обычно поставляются комплектно с газовой защитой.
ПРОДОЛЬНАЯ ДИФФЕРЕНЦИАЛЬНАЯ ТОКОВАЯ ЗАЩИТА ТРАНСФОРМАТОРА
На трансформаторах мощностью более 7,5 МВ*А в качестве основной защиты устанавливается продольная дифференциальная токовая защита. Принцип действия защиты аналогичен защите линий электропередачи. Однако особенности трансформатора как объекта защиты приводят к тому, что Iнб в дифференциальной защите трансформатора значительно больше, чем в дифференциальных защитах других элементов системы электроснабжения. "Ъсвовными факторами, которые необходимо учитывать при выполнении дифференциальной защиты трансформатора, являются следующие.
Бросок тока намагничивания при включении трансформатора под напряжение или при восстановлении напряжения после отключения внешнего к. з. Ток намагничивания трансформатора (рис. 4, а) Iнам = I1п— I11п в нормальном режиме работы невелик и составляет 2—3% номинального тока Iт,ном. После отключения внешнего к. з., как и при включении трансформатора под напряжение, возникающий бросок тока намагничивания может превышать номинальный ток /т,ном в 6—8 раз.
Рис. 4. Изменение потока и тока намагничивания при включении трансформатора под напряжение.
а — поясняющая схема; б —изменение тока намагничивания; в — изменения напряжения и магнитного потока; г — характеристика намагничивания.
Значение тока при броске зависит от момента включения трансформатора под напряжение. Наибольшее значение бросок тока намагничивания имеет при включении трансформатора в момент, когда мгновенное значение напряжения U равно нулю (рис. 4, в, г). В этом случае магнитный поток Фt в сердечнике трансформатора в начальный период времени содержит большую апериодическую составляющую Фa и превышает при переходном процессе установившееся значение Фуст практически в 2 раза. Поскольку зависимость Ф = f(Iнам) нелинейна, то iнам увеличивается по отношению к установившемуся значению в сотни раз, но остается обычно меньшим максимальных переходных токов внешних (сквозных) к. з. Бросок тока намагничивания может содержать большую апериодическую слагающую, а также значительный процент высших гармоник (прежде всего второй). Затухание броска происходит медленнее, чем тока к. з. В результате кривая броска тока намагничивания iнам,бр (рис. 4, б) может оказаться смещенной по одну сторону оси времени.
Указанные характерные особенности броска тока намагничивания используются для обеспечения отстроенности дифференциальной токовой защиты трансформатора, поскольку при отстройке защиты по току срабатывания она имеет очень низкую защитоспособность, а при отстройке по времени — теряет быстроту срабатывания.
Схемы соединения обмоток трансформатора. Если обмотки высшего и низшего напряжения трансформатора соединены не по схеме Y/Y -12, а по какой-то другой схеме, то между токами фаз трансформатора на сторонах высшего и низшего напряжения существует фазовый сдвиг. Так, при широко распространенной схеме соединения обмоток трансформатораY/-11 фазовый сдвиг составляет I1пI11п = 30 эл. град. Поэтому при одинаковых схемах соединения вторичных обмоток групп 1ТТ и 2ТТ трансформаторов тока (на сторонах высшего и низшего напряжения) в дифференциальной цепи защиты при внешнем к. з, проходит значительный ток, равный примерно половине вторичного тока ТТ при внешнем к. з. •
Поэтому схемы соединения групп 1ТТ и 2ТТ должны быть такими, чтобы указанный сдвиг по фазе отеутствовал (I1пI11п = 0). При этом возможны два варианта: вторичные обмотки группы 1ТТ соединяются в треугольник, а группы 2ТТ — в звезду или вторичные обмотки группы 2ТТ — в треугольник, а 1ТТ — в звезду. Схема соединения обмоток ТТ в первом случае ясна из рис. 5. Предпочтение всегда отдается первому варианту, так как соединение в треугольник вторичных обмоток ТТ, установленных со стороны звезды силового трансформатора, предотвращает возможное неправильное срабатывание дифференциальной защиты при внешних однофазных к. з. (когда нейтраль трансформатора заземлена), поскольку соединение в треугольник предотвращает попадание токов нулевой последовательности в реле защиты. При соединении вторичных обмоток 1ТТ в треугольник токи в цепи циркуляции от 1ТТ (I’1в) в З раз больше вторичных токов 1ТТ (I1в). Поэтому коэффициент трансформации 1ТТ выбирается равным IтYном З/5, где IтYном — номинальный ток трансформатора со стороны обмотки силового трансформатора, соединенной в звезду.
Рис. 5. Схема соединения ТТ дифференциальной токовой защиты трансформатора Y/-11 и векторные диаграммы.
Несоответствие коэффициентов трансформации ТТ расчетным значениям. Для обеспечения равенства токов в цепи циркуляции должно соблюдаться соотношение
соответственно для трансформаторов с соединением обмоток по схеме Y/Y и Y/. Выпускаемые промышленностью трансформаторы тока имеют дискретную шкалу коэффициентов трансформации. Поэтому в общем случае I’11в I’1в что вызывает дополнительный ток небаланса в реле защиты.
Регулирование коэффициента трансформации трансформатора. При регулировании коэффициента трансформации трансформатора соотношение между первичными, а следовательно, и между вторичными токами 1ТТ и 2ТТ изменяется, что также приводит к появлению тока небаланса в дифференциальной цепи защиты. Различия типов ТТ, их нагрузок и кратностей токов внешнего к. з. Трансформаторы тока ТТ дифференциальной защиты трансформатора устанавливаются на сторонах трансформатора, имеющих различное напряжение, поэтому они не могут быть одинаковыми. Кроме того, схемы соединения вторичных обмоток ТТ также различны, а следовательно, трансформаторы тока имеют разную нагрузку. Различны у разных групп ТТ (особенно в случае трехобмоточного трансформатора) и кратности тока внешнего к.з. по отношению к их номинальным токам. Все это обусловливает разные погрешности' у разных групп ТТ, что приводит к появлению повышенных токов небаланса в дифференциальной цепи защиты при внешних к. з.
Рассмотренные выше факторы обусловливают применение защит различной сложности и с использованием разных способов обеспечения их защитоспособности и отстроенности. В простейшем случае в качестве РТД (рис, 5) используют обычное реле тока без замедления (такую защиту называют дифференциальной отсечкой). Однако защитоспособность ее мала из-за того, что защита получается весьма грубой. Для повышения чувствительности применяют реле и схемы, основные из которых (реле с промежуточными насыщающимися трансформаторами в дифференциальной цепи, реле с торможением) были рассмотрены применительно к продольной дифференциальной защите линий. В ряде случаев применяются и более сложные принципы (особенно для обеспечения отстроенности защиты от бросков тока намагничивания трансформатора).
Наибольший (расчетный) ток небаланса в дифференциальной цепи защиты может иметь место при включении трансформатора под напряжение или при внешнем к. з. Поэтому ток небаланса должен определяться в обоих случаях.
















