135771 (722612), страница 3
Текст из файла (страница 3)
При включении трансформатора под напряжение действующее значение броска тока намагничивания Iбр.нам в первый период равно (6—8)Iт,ном. где Iт,ном— номинальный ток трансформатора.
При внешнем к. з., сопровождающемся прохождением через ТТ защиты наибольших токов к. з., ток небаланса
Iнб = I'нб + I"нб + I"’нб, (1)
где I'нб I"нб I"’нб — токи небаланса, обусловленные соответственно погрешностями ТТ, регулированием коэффициента трансформации трансформатора и неравенством токов в цепи циркуляции от различных групп ТТ.
Раскрывая выражения для отдельных составляющих тока небаланса (1), можно записать:
Iнб,расч = (kоднkапер + U*рег + fвыр)Iк,ве,max (2)
где kодн = 1—коэффициент однотипности; kапер — коэффициент, учитывающий наличие апериодической составляющей в первичном токе ТТ при внешнем к. з.; = 0,1 —допустимая относительная погрешность ТТ; U*рег = Uрег /Uном — относительный диапазон изменения напряжения на вторичной стороне трансформатора при регулировании коэффициента трансформации под нагрузкой устройством РПН; fвыр = (I’1в - I’11в )/ I’1в — относительное значение тока небаланса в дифференциальной цепи защиты, обусловленное несоответствием расчетных и фактических коэффициентов трансформации ТТ.
Значения коэффициента kапер в (2) и коэффициента, учитывающего отстройку от броска тока намагничивания,, выбираются разными в зависимости от типа применяемого РТД. Так, для дифференциальной отсечки ток срабатывания определяется как
Iс,з = kотсIбр,нам;(3)
Iс,з = kотсIнб,расч.(4)
При этом в (4) kотс 2, а выражение (3) с учетом некоторого затухания переходного значения Iбр,нам в течение собственного времени срабатывания электромеханического реле принимает вид:
Iс,з = (3.54.5) Iт,ном (5)
и, как правило, является определяющим. Ток срабатывания реле дифференциальной токовой отсечки
Ic,p = Iс,з3/K1TT, (6)
если Iс,з отнесен к стороне Y трансформатора, где вторичные обмотки 1ТТ соединены в треугольник. Дифференциальная отсечка считается приемлемой, если при двухфазном к. з. на выводах низшего напряжения трансформатора kч 2. Несмотря на низкую чувствительность дифференциальной отсечки ее достоинство заключается в обеспечении быстроты срабатывания при наибольших кратностях тока к. з.
При использовании реле с насыщающимися промежуточными трансформаторами РНТ выбор тока срабатывания защиты Iс,з производится по выражениям;
Iс,з = (1 1,3I)т,ном (7)
Iс,з = kотс(I’нб + I”нб) (8)
В (8) неучет I”нб объясняется возможностью скомпенсировать эту составляющую (в первом приближении) с помощью промежуточного насыщающегося трансформатора тока ПНТТ с несколькими первичными обмотками (рис. 5,5), когда для предотвращения попадания в реле защиты тока небаланса, обусловленного неравенством токов I’11в и I’1в в цепи циркуляции, производится выравнивание м. д. с. первичных обмоток w1, w2 промежуточных трансформаторов тока так, что I’1в w1 I’11в w2, т. е. Eв,т 0 и Iр 0.
Кроме того, в (8) при расчете I’нб значение коэффициента kапер принимается равным единице.
С
уществуют специальные реле дифференциальной защиты серии РНТ, содержащие максимальное реле тока, включенное на вторичную обмотку ПНТТ. Они характеризуются постоянной м. д. с. срабатывания (Fc,p = const)
Рис. 5.5 Схема включения реле РНТ в дифференциальной токовой защите трансформатора
Принципиальная схема дифференциальной защиты трансформатора с РНТ (в однолинейном изображении) представлена на рис. 5,5.
Следует отметить, что определение составляющей расчетного тока небаланса I”нб обусловленной регулированием напряжения защищаемого трансформатора, и расчетных чисел витков обмоток промежуточных насыщающихся трансформаторов тока реле защиты производится с учетом одинакового максимального регулирования ±Umax в обе стороны по отношению к среднему положению переключателя РПН, принимаемого в качестве расчетного. Такой учет регулирования напряжения соответствует определению оптимальной уставки защиты только при условии независимости сопротивления трансформатора и тока к. з. от положения переключателя РПН.
Для повышения чувствительности дифференциальной токовой защиты трансформатора предусматривают более эффективную (по сравнению с защитой с РНТ) отстройку от броска тока намагничивания трансформатора, используя: несинусоидальность броска тока намагничивания; наличие в нем апериодической слагающей; наличие провалов (ниже заданного уровня) в кривой тока Iнам,пер. В настоящее-время желательно на мощных трансформаторах устанавливать защиту с током срабатывания (0,2—0,3)Iт,ном. Дифференциальные защиты, применяемые в эксплуатации, можно разделить на три группы: с токовыми реле; с реле РНТ; с реле с торможением.
Наибольший ток срабатывания имеют защиты первой группы (дифференциальные токовые отсечки). Ток срабатывания защит второй группы значительно меньше. Наиболее распространенной разновидностью таких защит является уже рассмотренная защита с применением промежуточных насыщающихся ТТ в дифференциальной цепи. Недостатком этой защиты является, небольшое замедление из-за наличия некоторой апериодической слагающей в токе к. з.
Еще меньший ток срабатывания могут иметь зашиты третьей группы.
В настоящее время выпускается полупроводниковая дифференциальная токовая защита типа ДЗТ-21 , ток срабатывания которой равен примерно 0,3Iт,ном.
ОТКЛЮЧЕНИЕ ТРАНСФОРМАТОРОВ ОТ УСТРОЙСТВ РЕЛЕЙНОЙ ЗАЩИТЫ ПРИ ОТСУТСТВИИ ВЫКЛЮЧАТЕЛЯ НА СТОРОНЕ ВЫСШЕГО НАПРЯЖЕНИЯ
В настоящее время в системах электроснабжения все более широко применяются понизительные подстанции без выключателей на стороне высшего напряжения. Такие подстанции выполняются по упрощенным схемам присоединения к сети системы электроснабжения (по блочным схемам линия — трансформатор или отпайками от линий электропередачи). Для отключения повреждений в понизительных трансформаторах таких подстанций применяются следующие способы:
установка на выводах высшего напряжения трансформаторов плавких предохранителей; •» фиксация и ликвидация повреждений в трансформаторе с помощью защит, установленных на питающих концах линии;
установка короткозамыкателей, автоматически включаемых при срабатывании защит трансформатора и вызывающих к. з, на выводах высшего напряжения, которое ликвидируется затем защитами питающего конца линии;
передача отключающего сигнала по высокочастотному каналу (на базе проводов линии) или по жилам специального кабеля от защит трансформатора на отключение выключателя питающего конца линий.
Если защиты питающего конца линии не обеспечивают необходимой чувствительности при повреждениях в обмотках трансформатора и на его вывоДах низшего напряжения или имеют большие выдержки временнгто для отключения повреждения используются защиты трансформатора, Действующие в сочетании с короткозамыка-телем.
Включение короткозамыкателя осуществляется от защиты трансформатора, а отключение — вручную. В сетях с заземленной нейтралью короткозамыкатель устанавливается в одной фазе, а в сетях с изолированной нейтралью он выполняется двухполюсным с общим приводом и устанавливается на двух фазах.
После включения короткозамыкателя возникает однофазное (или двухфазное) к. з. на выводах высшего напряжения трансформатора. При этом срабатывают быстродействующие защиты, установленные на питающих концах линии. Допускается однократное АПВ питающей линии (хотя оно может вызвать увеличение размеров повреждения трансформатора). Когда к одной линии подключены ответвлениями два или несколько трансформаторов, на каждом из них дополнительно устанавливают отделители (трехполюсные разъединители с автоматическим управлением). Отключение отделителя поврежденного трансформатора осуществляется автоматически в бестоковую паузу после отключения питающей линии. После АПВ восстанавливается питание неповрежденных трансформаторов, оставшихся подключенными к линии.
В простейшем случае для отключения отделителя используется специальное реле прямого действия — блокирующее реле отделителя (БРО), установленное в приводе отделителя и подключенное к трансформатору тока, включенному в цепи короткозамыкателя. Под воздействием тока к. з. взводится боек БРО. После отключения защитой питающей линии и исчезновения тока в цепи короткозамыкателя БРО срабатывает и отключает отдел-итель. Однако такая схема автоматического отключения отделителя не нашла широкого распространения из-за присущих ей недостатков: малой надежности БРО и необходимости оснащения линии двукратным АПВ, поскольку при одновременном срабатывании быстродействующих защит линии и трансформатора (при повреждении в трансформаторе) отделитель в первую бестоковую паузу может не отключиться.
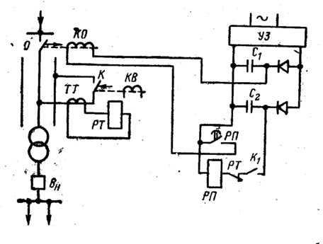
Более надежной является схема автоматического отключения отделителя, использующая в качестве источника оперативного тока предварительно заряженную (от зарядного устройства УЗ) батарею конденсаторов С, показанную на рис. 6. При включении короткозамыкателя К реле тока РТ размыкающим контактом запрещает отключение отделителя О, пока не отключится выключатель питающей линии. Катушка отключения отделителя Кб подключается к .конденсатору С после возврата реле РТ и срабатывания реле РП. Задержка при срабатывании реле.РЯ предотвращает недопустимое отключение отделителя при прохождении через него тока к. з., если вспомогательные контакты К1 замкнутся раньше основных контактов короткозамыкателя.
Следует отметить некоторые особенности защиты трансформаторов упрощенных подстанций при наличии короткозамыкателей и отделителей. 1. Если в качестве единственной основной защиты применяется газовая защита-(трансформаторы небольшой мощности), то она должна обеспечить включение короткозамыкателя при любых повреждениях внутри бака трансформатора. Поэтому трансформатор собственных нужд (ТСН) или трансформатор напряжения (ТН) уже не может служить источникам оперативного тока для газовой ' защиты, поскольку при повреждении силового трансформатора оперативное напряжение может значительно снижаться. Единст-
Рис. 6. Схема отключения отделителя с. применением батарей предварительно заряженных конденсаторов.
венным надежным источником оперативного тока в данном случае могут быть батареи предварительно заряженных конденсаторов.
2. Для включения короткозамыкателя на стороне высшего напряжения трансформатора (и для отключения выключателя на стороне низшего напряжения) часто используют энергию предварительно заряженных конденсаторов при невозможности использования схем с дешунтированием электромагнитов включения короткозамыкателя и отключения выключателя (когда вторичные токи к. з. составляют более 150 А). Такие случаи характерны для трансформаторов 110 кВ малой мощности (2,5; 4; 6,3 МВ*А) при использовании встроенных во вводы трансформатора трансформаторов тока (типа ТВТ-110). Вместе с тем зарядные устройства, включаемые на ТСН или ТН, не могут обеспечить заряд разряженных конденсаторов при включении трансформатора на трехфазное к. з. на его выводах или на шинах НН подстанции. Поэтому заряд конденсаторов в этих случаях обеспечивается применением специального зарядного устройства, питающегося как от цепей напряжения, так и от цепей тока.
3. Вследствие кратковременности разряда конденсатора серьезные требования предъявляются к качеству наладки и состоянию аппаратуры (короткозамыкателей и отделителей). Загрязнения, окисление, загустение смазки могут привести к недолустимому замедлению действия этих аппаратов.
Применение подстанций с короткозамыкателями на 'стороне высшего напряжения характеризуется увеличением времени отключения поврежденного участка из-за сравнительно большого собственного времени включения короткозамыкателей. Этот недостаток можно исключить, если вместо короткозамыкателей использовать телеотключение. При передаче команды телеотключения лр кабелю предусматривается постоянный контроль состояния его жил с помощью специального устройства (например, .типа УК-1)
В эксплуатации применяется также передача отклю-,.4 чающего импульса по в. ч. каналу, организованному по проводам линии электропередачи с помощью специальной аппаратуры в. ч. обработки и специальных устройств высокочастотного телеотключения (ВЧТО).
При повреждении трансформатора и срабатывании его защиты одновременно с отключением выключателя и запретом его АПВ подается по линиям сигнал телеотключения (ТО) к передатчику. Сигнал по каналу связи подается на входы приемников питающих подстанций, вызывая срабатывание на них промежуточных реле, отключающих головные выключатели. С целью повышения надежности при осуществлении устройства телеотключения сохраняется и
короткозамыкатель.
СХЕМА ЗАЩИТЫ ТРАНСФОРМАТОРА НА ПЕРЕМЕННОМ ОПЕРАТИВНОМ ТОКЕ
















