135624 (722448)
Текст из файла
Омский авиационный техникум им. Н. Е. Жуковского
Р Е Ф Е Р А Т
по дисциплине «Электротехника»
тема: «Системы автоматического управления»
Выполнил: Проверил:
ст. гр. С-66 преподаватель
Макаренко Е. В. Полунина А. М.
2003
Автоматика, отрасль науки и техники, охватывающая теорию и принципы построения систем управления, действующих без непосредственного участия человека; в узком смысле - совокупность методов и технических средств, исключающих участие человека при выполнении операций конкретного процесса. Как самостоятельная область техники А. получила признание на 2-й Мировой энергетической конференции (Берлин, 1930), где была создана секция по вопросам автоматического и телемеханического управления. В СССР термин "А." получил распространение в начале 30-х гг.
А. как наука возникла на базе теории автоматического регулирования, основы которой были заложены в работах Дж. К. Максвелла (1868), И. А. Вышнеградского (1872-1878), А. Стодолы (1899) и др.; в самостоятельную научно-техническую дисциплину окончательно оформилась к 1940. История А. как отрасли техники тесно связана с развитием автоматов, автоматических устройств и автоматизированных комплексов. В стадии становления А. опиралась на теоретическую механику и теорию электрических цепей и систем и решала задачи, связанные с регулированием давления в паровых котлах, хода поршня паровых и частоты вращения электрических машин, управления работой станков-автоматов, АТС, устройствами релейной защиты. Соответственно и технические средства А. в этот период разрабатывались и использовались применительно к системам автоматического регулирования Интенсивное развитие всех отраслей науки и техники в конце 1-й половины 20 в. вызвало также быстрый рост техники автоматического управления, применение которой становится всеобщим.
2-я половина 20 в. ознаменовалась дальнейшим совершенствованием технических средств А. и широким, хотя и неравномерным для разных отраслей народного хозяйства, распространением автоматических управляющих устройств с переходом к более сложным автоматическим системам, в частности в промышленности - от автоматизации отдельных агрегатов к комплексной автоматизации цехов и заводов. Существенной чертой является использование А. на объектах, территориально расположенных на больших расстояниях друг от друга, например крупные промышленные и энергетические комплексы, системы управления космическими летательными аппаратами и т. д. Для связи между отдельными устройствами в таких системах применяются средства телемеханики, которые совместно с устройствами управления и управляемыми объектами образуют телеавтоматические системы. Большое значение при этом приобретают технические (в т. ч. телемеханические) средства сбора и автоматической обработки информации, т. к. многие задачи в сложных системах автоматического управления могут быть решены только с помощью вычислительной техники. Наконец, теория автоматического регулирования уступает место обобщённой теории автоматического управления, объединяющей все теоретические аспекты А. и составляющей основу общей теории управления
Автоматическое управление в технике, совокупность действий, направленных на поддержание или улучшение функционирования управляемого объекта без непосредственного участия человека в соответствии с заданной целью управления. А. у. широко применяется во многих технических и биотехнических системах для выполнения операций, не осуществимых человеком в связи с необходимостью переработки большого количества информации в ограниченное время, для повышения производительности труда, качества и точности регулирования, освобождения человека от управления системами, функционирующими в условиях относительной недоступности или опасных для здоровья. Цель управления тем или иным образом связывается с изменением во времени регулируемой (управляемой) величины - выходной величины управляемого объекта. Для осуществления цели управления, с учётом особенностей управляемых объектов различной природы и специфики отдельных классов систем, организуется воздействие на управляющие органы объекта - управляющее воздействие. Оно предназначено также для компенсации эффекта внешних возмущающих воздействий, стремящихся нарушить требуемое поведение регулируемой величины. Управляющее воздействие вырабатывается устройством управления (УУ). Совокупность взаимодействующих управляющего устройства и управляемого объекта образует систему автоматического управления.
Система автоматического управления (САУ) поддерживает или улучшает функционирование управляемого объекта. В ряде случаев вспомогательные для САУ операции (пуск, остановка, контроль, наладка и т.д.) также могут быть автоматизированы. САУ функционирует в основном в составе производственного или какого-либо другого комплекса.
История техники насчитывает много ранних примеров конструкций, обладающих всеми отличительными чертами САУ (регулирование потока зерна на мельнице с т. н. "потряском", уровня воды в паровом котле машины Ползунова, 1765, и т. д.). Первой замкнутой САУ, получившей широкое техническое применение, была система автоматического регулирования с центробежным регулятором в паровой машине Уатта (1784). По мере совершенствования паровых машин, турбин и двигателей внутреннего сгорания всё более широко использовались различные механические регулирующие системы и устройства, достигшие значительного развития в конце 19 - начале 20 вв. Новый этап в А. у. характеризуется внедрением в системы регулирования и управления электронных элементов и устройств автоматики и телемеханики. Это обусловило появление высокоточных систем слежения и наведения, телеуправления и телеизмерения, системы автоматического контроля и коррекции. 50-е гг. 20 в. ознаменовались появлением сложных систем управления производственными процессами и промышленными комплексами на базе электронных управляющих вычислительных машин.
САУ классифицируются в основном по цели управления, типу контура управления и способу передачи сигналов. Первоначально перед САУ ставились задачи поддержания определённых законов изменения во времени управляемых величин. В этом классе систем различают системы автоматического регулирования (CAP), в задачу которых входит сохранение постоянными значения управляемой величины; системы программного управления, где управляемая величина изменяется по заданной программе; следящие системы, для которых программа управления заранее неизвестна. В дальнейшем цель управления стала связываться непосредственно с определёнными комплексными показателями качества, характеризующими систему (её производительность, точность воспроизведения и т. п.); к показателю качества могут предъявляться требования достижения им предельных (наибольших или наименьших) значений, для чего были разработаны адаптивные, или самоприспосабливающиеся системы. Последние различаются по способу управления: в самонастраивающихся системах меняются параметры устройства управления, пока не будут достигнуты оптимальные или близкие к оптимальным значения управляемых величин; в самоорганизующихся системах с той же целью может меняться и её структура. Наиболее широки, в принципе, возможности самообучающихся систем, улучшающих алгоритмы своего функционирования на основе анализа опыта управления. Отыскание оптимального режима в адаптивных САУ может осуществляться как с помощью автоматического поиска, так и беспоисковым образом.
Способ компенсации возмущений связан с типом контура управления системы. В разомкнутых САУ на УУ не поступают сигналы, несущие информацию о текущем состоянии управляемого объекта, либо в них измеряются и компенсируются главные из возмущений, либо управление ведётся по жёсткой программе, без анализа каких-либо факторов в процессе работы. Основной тип САУ - замкнутые, в которых осуществляется регулирование по отклонению, а цепь прохождения сигналов образует замкнутый контур, включающий объект управления и УУ; отклонения управляемой величины от желаемых значений компенсируются воздействием через обратную связь, вне зависимости от причин, вызвавших эти отклонения. Объединение принципов управления по отклонению и по возмущению приводит к комбинированным системам. Часто, помимо основного контура управления, замыкаемого главной обратной связью, в САУ имеются вспомогательные контуры (многоконтурные системы) для стабилизации и коррекции динамических свойств. Одновременное управление несколькими величинами, влияющими друг на друга, осуществляется в системах многосвязного управления или регулирования.
По форме представления сигналов различают дискретные и непрерывные САУ. В первых сигналы, по крайней мере в одной точке цепи прохождения, квантуются по времени, либо по уровню, либо как по уровню, так и по времени.
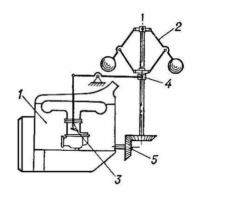
Простейший пример САУ - система прямого регулирования частоты вращения двигателя (рис. 1). Цель управления - поддержание постоянной частоты вращения маховика, управляемый объект - двигатель 1; управляющее воздействие - положение регулирующей заслонки дросселя 3; УУ - центробежный регулятор 2, муфта 4 которого смещается под действием центробежных сил при отклонении от заданного значения частоты вращения вала 5, жестко связанного с маховиком. При смещении муфты изменяется положение заслонки дросселя. Структурная схема рассмотренного примера (рис. 2) типична для многих САУ вне зависимости от их физической природы. Описанная система представляет собой замкнутую одноконтурную непрерывную систему автоматического регулирования механического действия, допускающую линеаризацию при исследовании.
Промышленность выпускает универсальные регуляторы, в том числе с воздействием по производной, по интегралу, экстремальные регуляторы, для управления различными объектами. Специализированные САУ широко применяются в различных областях техники, например: следящая система управления копировально-фрезерным станком по жёсткому копиру; САУ металлорежущих станков с программным управлением от магнитной ленты, перфоленты или перфокарты (преимущества такого управления заключаются в относительной универсальности, лёгкости перестройки программы и высокой точности обработки деталей); система программного управления реверсивным прокатным станом, включающая в свой контур управляющую вычислительную машину. В относительно медленных технологических процессах в химической и нефтяной промышленности распространены многосвязные САУ, осуществляющие регулирование большого количества связанных величин; так, при перегонке нефти информация о температуре, давлении, расходе и составе нефтепродуктов, получаемая от нескольких сотен датчиков, используется для формирования сигналов управления десятками различных регуляторов. САУ играют важную роль в авиации и космонавтике, например автопилот представляет собой САУ связанного регулирования, а иногда и самонастраивающуюся систему. В военной технике применяются высокоточные следящие системы, часто включающие вычислительные устройства (например, система углового сопровождения радиолокационной станции). При анализе многих физиологических процессов в живом организме, таких как кровообращение, регуляция температуры тела у теплокровных животных, двигательные операции, обнаруживаются характерные черты САУ.
Задачи синтеза устройств А. у. и анализа процессов в управляемых системах являются предметом теории автоматического управления.
Устойчивость системы автоматического управления, способность системы автоматического управления (САУ) нормально функционировать и противостоять различным неизбежным возмущениям (воздействиям). Состояние САУ называется устойчивым, если отклонение от него остаётся сколь угодно малым при любых достаточно малых изменениях входных сигналов. У. САУ разного типа определяется различными методами. Точная и строгая теория У. систем, описываемых обыкновенными дифференциальными уравнениями, создана А. М. Ляпуновым в 1892.
Все состояния линейной САУ либо устойчивы, либо неустойчивы, поэтому можно говорить об У. системы в целом. Для У. стационарной линейной СЛУ, описываемой обыкновенными дифференциальными уравнениями, необходимо и достаточно, чтобы все корни соответствующего характеристического уравнения имели отрицательные действительные части (тогда САУ асимптотически устойчива). Существуют различные критерии (условия), позволяющие судить о знаках корней характеристического уравнения, не решая это уравнение - непосредственно по его коэффициентам. При исследовании У. САУ, описываемых дифференциальными уравнениями невысокого порядка (до 4-го), пользуются критериями Рауса и Гурвица (Э. Раус, англ. механик; А. Гурвиц, нем. математик). Однако этими критериями пользоваться во многих случаях (например, в случае САУ, описываемых уравнениями высокого порядка) практически невозможно из-за необходимости проведения громоздких расчётов; кроме того, само нахождение характеристических уравнений сложных САУ сопряжено с трудоёмкими математическими выкладками. Между тем частотные характеристики любых сколь угодно сложных СЛУ легко находятся посредством простых графических и алгебраических операций. Поэтому при исследовании и проектировании линейных стационарных САУ обычно применяют частотные критерии Найквиста и Михайлова (Х. Найквист, амер. физик; А. В. Михайлов, сов. учёный в области автоматического управления). Особенно прост и удобен в практическом применении критерий Найквиста. Совокупность значений параметров САУ, при которых система устойчива, называется областью У. Близость САУ к границе области У. оценивается запасами У. по фазе и по амплитуде, которые определяют по амплитудно-фазовым характеристикам разомкнутой САУ. Современная теория линейных САУ даёт методы исследования У. систем с сосредоточенными и с распределёнными параметрами, непрерывных и дискретных (импульсных), стационарных и нестационарных.
Проблема У. нелинейных САУ имеет ряд существенных особенностей в сравнении с линейными. В зависимости от характера нелинейности в системе одни состояния могут быть устойчивыми, другие - неустойчивыми. В теории У. нелинейных систем говорят об У. данного состояния, а не системы как таковой. У. какого-либо состояния нелинейной САУ может сохраняться, если действующие возмущения достаточно малы, и нарушаться при больших возмущениях. Поэтому вводятся понятия У. в малом, большом и целом. Важное значение имеет понятие абсолютной У., т. е. У. САУ при произвольном ограниченном начальном возмущении и любой нелинейности системы (из определённого класса нелинейностей). Исследование У. нелинейных САУ оказывается довольно сложным даже при использовании ЭВМ. Для нахождения достаточных условий У. часто применяют метод функций Ляпунова. Достаточные частотные критерии абсолютной У. предложены рум. математиком В. М. Поповым и др. Наряду с точными методами исследования У. применяются приближённые методы, основанные на использовании описывающих функций, например методы гармонической или статистической линеаризации.
Характеристики
Тип файла документ
Документы такого типа открываются такими программами, как Microsoft Office Word на компьютерах Windows, Apple Pages на компьютерах Mac, Open Office - бесплатная альтернатива на различных платформах, в том числе Linux. Наиболее простым и современным решением будут Google документы, так как открываются онлайн без скачивания прямо в браузере на любой платформе. Существуют российские качественные аналоги, например от Яндекса.
Будьте внимательны на мобильных устройствах, так как там используются упрощённый функционал даже в официальном приложении от Microsoft, поэтому для просмотра скачивайте PDF-версию. А если нужно редактировать файл, то используйте оригинальный файл.
Файлы такого типа обычно разбиты на страницы, а текст может быть форматированным (жирный, курсив, выбор шрифта, таблицы и т.п.), а также в него можно добавлять изображения. Формат идеально подходит для рефератов, докладов и РПЗ курсовых проектов, которые необходимо распечатать. Кстати перед печатью также сохраняйте файл в PDF, так как принтер может начудить со шрифтами.
















