1 (722139)
Текст из файла
-
ЗАДАНИЕ НА КУРСОВУЮ РАБОТУ.
Необходимо рассчитать радиоприёмник супергетеродинного типа на основании данных, приведённых в таблице 1.
Таблица 1.
| № вар | Вид принимаемого сигнала | Диапазон (МГц) | Выход. мощ-ть (Вт) |
| 3 | ТЛГ, ОБП | 14,0 – 14,35 | 12 |
Чувствительность:
Чувствительность приёмника зависит, в первую очередь, от рабочего диапазона РПУ.
Значения чувствительности приёмника на данной частоте, приведённы в табл. 2.
Таблица 2.
| Чувствительность приёмника, мкВ | Диапазон, м |
| 20 | |
| В городе | 2,6 |
| В пригороде | 0,54 |
Считается, что используется настроенная антенна с сопротивлением 75 Ом.
Условные обозначения:
-
ТЛГ – амплитудная телеграфия с полосой 100 Гц;
-
ОБП – телефонный однополосный сигнал с подавленной несущей с полосой 3 кГц;
Дополнительные данные:
Односигнальная селективность:
Селективность РПУ по соседнему каналу представляет собой ослабление сигнала при расстройке приёмника на 9 кГц и составляет не менее 26 дБ.
Подавления зеркального канала: его необходимо ослабить для КВ по меньшей мере на 10 дБ.
Тип функциональной схемы радиоприемника:
В данной работе проектируется приемник 4 класса и строится по схеме с плавным первым гетеродином.
Полоса пропускания и коэффициент прямоугольности:
Полоса пропускания общего радиотракта приемника определяется реальной шириной спектра принимаемого сигнала и составляет 3 кГц для телефонного однополосного сигнала с подавленной несущей и 100 Гц для амплитудной телеграфии. Коэффициент прямоугольности частотной характеристики радиотракта лежит в пределах 1, 7 … 2, 5.
Количество преобразований:
На КВ диапазоне требуется двойное преобразование частоты.
Распределение избирательности и усиления по трактам:
Коэффициент усиления в тракте сигнальной частоты (до 1-го смесителя):
где:
- допустимое напряжение на входе преобразователя частоты, которое можно положить равным 100…200 мВ
Еа- чувствительность приемника.
В тракте первой промежуточной частоты коэффициент усиления
берется не выше 10…20. Коэффициент усиления в тракте 2-й промежуточной частоты должен довести усиление сигнала до нормального уровня, необходимого для детектирования радиосигналов в наилучших условиях, и выбирается по формуле:
г
де: К З =10…20 –запас усиления на случай старения элементной базы,
В
еличина U дет равна нормальному значению напряжения на входе детектора и выбирается в зависимости от типа детектора. Для АМ детектора эта величина составляет 0,5…1 В (диодная схема); 0,1…0,2 В (транзисторная схема). Для однополосного детектора 0.02….0.04 В.
2. Состав и назначение элементов РПУ.
2.1 Данное радиоприемное устройство построено по супергетеродинной схеме с двойным преобразованием частоты и имеет фильтры в тракте звуковой частоты. Эти фильтры предназначены для: ТЛГ – амплитудная телеграфия с полосой 100 Гц и ОБП – телефонный однополосный сигнал с подавленной несущей с полосой 3 кГц .
Питается данное РПУ от двухполярного источника питания, который в свою очередь питается от сети переменного напряжения 220В., 50Гц.
-
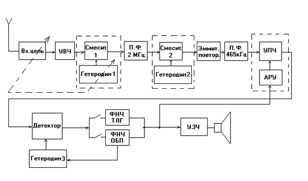
Функциональная схема РПУ.
Ф
ункциональная схема РПУ представлена на рисунке 1.
Рис.1.
В состав РПУ входит:
Входная цепь – предназначена для выделения несущей частоты и согласования антенны с последующими каскадами схемы. Также, входная цепь обеспечивает подавление сигнала по зеркальной частоте.
Усилитель высокой частоты – обеспечивает нужное усиление несущей для последующих преобразований.
Смеситель и гетеродин – обеспечивают понижение частоты для последующей фильтрации, т.к. на более низких частотах добротность фильтров намного выше, чем на высоких частотах.
Полосовой фильтр – осуществляет избирательность по соседнему каналу.
Усилитель промежуточной частоты и автоматическая регулировка частоты - – обеспечивает автоматическое усиление промежуточной частоты для последующей дешифрации.
Детектор - выделяет полезный сигнал звуковой частоты из высокочастотного.
Фильтр низкой частоты - предназначен для фильтрации на низких частотах (ТЛГ – амплитудная телеграфия с полосой 100 Гц и ОБП – телефонный однополосный сигнал с подавленной несущей с полосой 3 кГц ).
Усилитель звуковой частоты – предназначен для конечного усиления звуковой частоты до значения мощности, пригодной для воспроизведения через громкоговорители.
3.Расчеты цепей РПУ.
-
Входная цепь :
Исходя из различных схем построения РПУ на частотах близких к 14 МГц , емкость конденсаторов в контурах входных цепей приблизительно равна 40 пФ , индуктивность будет равна 3,23.10-6 Гн. Селективность по зеркальному каналу не менее - 26 дБ.
-
УВЧ:
Коэффициент усиления в тракте сигнальной частоты (до 1-го смесителя):
где:
- допустимое напряжение на входе преобразователя частоты, которое можно положить равным 100…200 мВ
Еа- чувствительность приемника, равная для города 2,6 мкВ.
Параметры полевого транзистора даны в приложение 1.
-
Смеситель и гетеродин:
Гетеродин и смеситель первой промежуточной частоты построены на специализированной ИМС К174ПС1. Колебательный контур подключенный к этой ИМС собран по трехточечной схеме и настроен на частоту 12 мГц. На выходе ИМС образуется первая промежуточная частота 2 мГц. Гетеродин и смеситель второй промежуточной частоты построены на транзисторе V2. Этот каскад является неперестраивавым и стабилизирован кварцевым резонатором. Частота гетеродина составляет 1,35 МГц.
В результате образуется вторая промежуточная частота равная 465 кГц. Также в тракте первой промежуточной частоты коэффициент усиления
равен 10…20 , за счет усиления на V2.
Параметры специализированной ИМС К174ПС1 и биполярных транзисторов V2, V3 даны в приложение 2 и 3 соответственно.
-
Полосовой фильтр:
Полосовой фильтр представляет собой конструктивно законченную систему пъезокерамических или кварцевых резонаторов связанных между собой. Что бы полосовой фильтр работал нормально нужно согласовать его вход и выход с предыдущими и последующими каскадами. У П.Ф. низкое входное сопротивление. Низкое входное сопротивление первого фильтра согласовано с низким выходным сопротивлением первого смесителя. А вот для согласования второго П.Ф. с выхода второго смесителя сигнал промежуточной частоты цоступает на вход эмиттерного повторителя, собранного на транзисторе VT3. Он согласует высокое выходное сопротивление смесителя собранного на биполярном транзисторе с низким входным сопротивлением пьезокерамического фильтра ZQ2. Полосовые фильты определяют селективность по соседнему каналу. Селективность по соседнему каналу составляет 40 дБ.
Параметры П.Ф. даны в приложение 4.
-
Усилитель промежуточной частоты:
Усилитель промежуточной частоты выполнен на ИМС К157ХА2.
Коэффициент усиления в тракте 2-й промежуточной частоты должен довести усиление сигнала до нормального уровня, необходимого для детектирования радиосигналов в наилучших условиях, и выбирается по формуле:
где: К З =10…20 –запас усиления на случай старения элементной базы,
Для АМ в
еличина U дет детектора составляет 0,01…0,02 В.
Параметры ИМС К157ХА2 даны в приложение 5.
-
ОБП и ТЛГ детектор:
Для неискаженного детектирования максимальная амплитуда однополосного или телеграфного сигнала на входе детектора должна быть порядка 20 мВ. Для детектирования ОБП с подавленной несущей, в его цепь включен третий гетеродин, настроенный на частоту второй промежуточной частоты – 465 КГц. В качестве детектора в данном РПУ используется ИМС дифференциальный усилитель – К175УВ4.
Параметры К175УВ4 даны в приложение: 6.
-
Фильтр низких частот:
ФНЧ предназначен для фильтрации на низких частотах (ТЛГ – амплитудная телеграфия с полосой 100 Гц и ОБП – телефонный однополосный сигнал с подавленной несущей с полосой 3 кГц ). Он собран на ИМС К140УД1А представляющей из себя дифференциальный усилитель. Резонансная частота полосы пропускания определяется из отношения :
При заданных частотах конденсаторы имеют следующие емкости:
C32 = 3.67 мкФ для f=100 Гц, и С31 =4 нФ для f=3 кГц.
Также на этой ИМС может производится предварительное усиление сигнала. Коэффициент усиления ее равен отношению сопротивлений R21 к R18 соответственно.
Параметры ИМС К140УД1А даны в приложение: 7.
-
Усилитель звуковых частот предназначен для конечного усиления звуковой частоты до значения заданной мощности: Pвых=12Вт. Усилитель звуковых частот собран на микросхеме К174УН11. Питание у этой микросхемы – двухполярное. Параметры этой МС даны в приложение.
Параметры К174УН11даны в приложение: 8.
4. Описание работы РПУ.
Колебательный контур, выделяет радиосигнал с частотой 14 МГц из множества радиосигналов наводимых в антенне. Этот колебательный контур имеет плавную перестройку по частоте с помощью блока переменных емкостей входящих в него. Он же производит селекцию по зеркальному каналу. Далее сигнал усиливается до нужного значения усилителем высоких частот. После усиления, сигнал попадает на смеситель, на котором происходит преобразование сигнала высокой частоты в более низкую. Так получается первая промежуточная частота. Затем сигнал попадает на полосовой фильтр для селекции по соседнему каналу. После этого происходит еще одно подобное преобразование, после которого получается вторая промежуточная частота. Затем она усиливается усилителем промежуточной частоты до нужного значения, усиление которого контролируется АРУ. После происходит детектирование промежуточной частоты с помощью специализированной микросхемы. Затем сигнал звуковой частоты попадает на активный фильтр собранный на операционном усилителе. Этот фильтр имеет переключатель режимов приема радиосигналов (ТЛГ – амплитудная телеграфия с полосой 100 Гц и ОБП – телефонный однополосный сигнал с подавленной несущей с полосой 3 кГц ). После этого сигнал попадает на усилитель звуковых частот,
Характеристики
Тип файла документ
Документы такого типа открываются такими программами, как Microsoft Office Word на компьютерах Windows, Apple Pages на компьютерах Mac, Open Office - бесплатная альтернатива на различных платформах, в том числе Linux. Наиболее простым и современным решением будут Google документы, так как открываются онлайн без скачивания прямо в браузере на любой платформе. Существуют российские качественные аналоги, например от Яндекса.
Будьте внимательны на мобильных устройствах, так как там используются упрощённый функционал даже в официальном приложении от Microsoft, поэтому для просмотра скачивайте PDF-версию. А если нужно редактировать файл, то используйте оригинальный файл.
Файлы такого типа обычно разбиты на страницы, а текст может быть форматированным (жирный, курсив, выбор шрифта, таблицы и т.п.), а также в него можно добавлять изображения. Формат идеально подходит для рефератов, докладов и РПЗ курсовых проектов, которые необходимо распечатать. Кстати перед печатью также сохраняйте файл в PDF, так как принтер может начудить со шрифтами.















