1 (722139), страница 2
Текст из файла (страница 2)
предназначенный для конечного усиления звуковой частоты до значения мощности, пригодной для воспроизведения через громкоговорители.
Принципиальная схема РПУ представлена в приложение 9.
5. Блок питания.
Для питания данного РПУ требуется двухполярный источник питания, т.к. в его состав входит УЗЧ с двухполярным питанием.
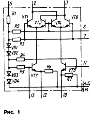
На рисунке приведена схема простого преобразователя, который позволяет получать от источника ~220 В , стабилизированное напряжение -12 В. Ток нагрузки по цепи -12В может быть до 150мА.
Он состоит из понижающего трансформатора T1, двух полупериодных выпрямителей VD1,VD2 и двцух интегральных стабилизаторов DA1 и DA2. Емкости С1-С4 служат для сглаживания пульсаций напряжения.
Принципиальная схема блока питания представлена в приложение 10.
Приложение 1.
КП303А.
Транзистор полевой P- типа, маломощный, среднечастотный, предназначен для использования в усилителях , в генераторах, и т.д.
| Тип | Структура | Предельные значения параметров | Значения параметров | Тк.макс. | Корпус | |||||
| Uкэ.мах | Iк.мах. | Рк.мах. | fгр. | h21Э | Кш | Iк.обр. | ||||
| 1 | 2 | 3 | 4 | 5 | 6 | 7 | 8 | 9 | 10 | 11 |
| КП303А | p | 60 | 130 (230) | 250 | 150 | 160...2800 | 16 | 0,07 (13) | -40...+85 | ТО-18 |
Приложение 2.
К174ПС1
Большой универсальностью обладает функциональная микросхема К174ПС1. Она может работать в широком диапазоне частот, ее можно использовать не только в низкочастотной радиоаппаратуре, но и в радиовещательных и телевизионных устройствах.
Она представляет собой балансный смеситель, обладающий следующими основными техническими характеристиками.
Крутизна преобразования, мА/В, не менее....... 4,5
Коэффициент шума, дБ, не более . . . . . 8
Напряжение стабилизации, В, не более ... 1
Входное напряжение, В, не более ..... 1
Верхняя частота входного сигнала, МГц, не менее .... 200
Напряжение питания, В 9±10 %
Потребляемый ток, мА, не более ..... 2,5
Предельные допустимые напряжения питания. В,
при токе нагрузки, мА:
2,5, не менее . . . 4,5
4,5, не более. . . . 15
Масса в корпусе 201.141, S г, не более, . . . . 1,5
Приложение 3.
КТ3102А
Транзистор биполярный, n-p-n типа, маломощный, высокочастотный, предназначен для использования в усилителях высокой частоты, в генераторах, и т.д.
| Тип | Прово- | Предельные значения параметров | Значения параметров | Тк.макс. | Корпус | |||||
| Uкэ.мах | Iк.мах. | Рк.мах. | fгр. | h21Э | Кш | Iк.обр. | ||||
| 1 | 2 | 3 | 4 | 5 | 6 | 7 | 8 | 9 | 10 | 11 |
| КТ3102А | n-p-n | 50 | 100 (200) | 250 | 300 | 100...250 | 10 | 0,05 (10) | -40...+85 | КТ-26 |
Приложение 4.
Полосовой фильтр ФПП-056.
| Технические характеристики | ФПП-056 |
| Средняя полоса пропускания, кГц | 2 МГц 2 |
| Полоса пропускания по уровню –6 дБ, кГц | 3,5 |
| Неравномерность в полосе пропускания не более, дБ | 1,4 |
| Избирательность при расстройке от средней частоты 9 кГц не менее, дБ | 50 |
| Вносимое затухание в полосе пропускания не более, дБ | 16,5 |
| Вес неболее, г | 3 |
Полосовой фильтр ФПП-023.
| Технические характеристики | ФПП-023 |
| Средняя полоса пропускания, кГц | 465 2 |
| Полоса пропускания по уровню –6 дБ, кГц | 9,5 |
| Неравномерность в полосе пропускания не более, дБ | 2 |
| Избирательность при расстройке от средней частоты 9 кГц не менее, дБ | 40 |
| Вносимое затухание в полосе пропускания не более, дБ | 9,5 |
| Вес неболее, г | 3 |
Приложение 5.
К174ХА2
Микросхема К174ХА2 предназначена для использования в радиовещательных супергетеродинных приемниках I-IV классов с амплитудной модуляцией. Эта микросхема содержит следующие узлы: усилитель промежуточной частоты и АРУ.
Основные технические характеристики
| Напряжение питания. В, не более | 12 |
| Ток потребления, мА | 6.. .13 |
| Чувствительность при соотношения сигнал/шум 20 дБ | 20 |
| Выходное напряжение, мВ . . . | 60 |
Предельные эксплуатационные данные
| Напряжение питания, В | 16 |
| Частота входного сигнала, МГц | 30 |
| Ток потребления, мА | 16 |
| Температура окружающей среды, °С | -25. . . +56 |
Приложение 6.
К175УВ4
К175УВ4 - дифференциальный усилитель. Микросхема К175УВ4 предназначена для использования в предусилителях высокой частоты.
Основные технические характеристики
| Напряжение питания. В, не более | 12 |
| Ток потребления, мА | 9.. .18 |
| Чувствительность при соотношения сигнал/шум 20 дБ | 45 |
| Выходное напряжение, мВ . . . | 85 |
Приложение 7.
К140УД1Б
К140УД1Б - операционный усилитель средней точности.
Электрические параметры:
| ХАРАКТЕРИСТИКА | ЗНАЧЕНИЕ |
| Номинальное напряжение | 12,6 В. |
| Потребляемый ток | 12 мА |
| Коэффициент усиления напряжения | 1000-1200 |
| Напряжение смещения нуля | 7 мВ |
| Температурный коэффициент | 20мкВ / С |
| Входной ток | 8000 нА |
| Разностный входной ток | 1500 нА |
| Коэффициент ослабления синфазного сигнала | 60 дБ |
| Частота единичного усиления | 8 МГц |
| Скорость наростания выходного напряжения | 0,5 В/мкс |
| Наибольшая амплитуда выходного напряжения | 5,7 В. |
| Входное сопротивление | 0,004МОм. |
Приложение 8.
М
икросхема представляет собой усилитель мощности звуковой частоты с номинальной выходной мощность 15 Вт на нагрузку 4 Ома. Имеет защиту выходного каскада от короткого замыкания и перегрузок. Аналог микросхемы TDA2020. Содержит 150 интегральный элемента. Конструктивно оформлена в корпусе типа 201.14.-12. Масса не более 1,5 гр.
| 1 | Номинальное напряжение питания (двухполярное) | ± 17В ± 10% |
| 2 | Ток потребления при Uп = ± 17 В, Uвх = 0 В не более | 100 мА |
| 3 | Выходная мощность при Uп = ± 17 В, Rн = 4 Ома, Кг = 1% | 15 Вт |
| 4 | Коэффициент гармоник при Uп = ± 17 В, Rн = 4 Ома, | |
| 5 | Максимальное входное напряжение при Uп = ± 17 В, | |
| 6 | Напряжение шумов на выходе при Uп = ± 17 В, Rн = 4 Ома | 1,0 мВ |
| 7 | Коэффициент подавления пульсаций частотой 100 Гц | 45 Дб |
| 8 | Входное сопротивление при Uп = ± 17 В, fвх = 1 кГц | 100 кОм |
Предельно допустимые режимы эксплуатации
| 1 | Напряжение питания | ± 5 … ± 18 В |
| 2 | Максимальный ток нагрузки при Uп = ± 17 В, Rн = 0,1 Ома | 2,4 А |
| 3 | Максимальное входное напряжение | 10 В |
| 4 | Тепловое сопротивление: | |
| 5 | Температура окружающей среды | - 10 …+ 55°С |
| 6 | Температура кристалла | + 150 °С |















