126291 (717754)
Текст из файла
Размещено на http://www.allbest.ru/
Федеральное агентство по образованию РФ
ГОУ ВПО БрГУ
Кафедра СДМ и О
Лабораторная работа № 1
РАСЧЕТ ДомкратОВ
Выполнил:
ст.группы СДМ 06-2 C.М. Рябчиков
Проверил:
преподаватель А.Ю. Кулаков
Братск 2009
Домкраты обычно предназначаются для подъема грузов на небольшую высоту и находят широкое применение на монтажных работах при подъемах и выверке как отдельных частей, так и целых сооружений. Домкрат устанавливают под грузом и упирают в него выдвижной частью. Высота рабочего хода домкрата невелика, поэтому подъем груза на высоту, превышающую ход домкрата, производят в несколько приемов. В этих случаях под груз подкладывают. например шпальные клетки, либо отдельные брусья или доски. Скорость подъема домкратами незначительна.
Домкраты выпускаются с различной грузоподъемностью - от 0.5 до 300 т и в большинстве своем имеют ручной привод.
По конструкции домкраты разделяются на реечные (рис.1), винтовые (рис.2) и гидравлические (рис.3). Целью настоящей работы является изучение устройства, принципа работы домкратов и расчета элементов винтового домкрата.
Реечный домкрат
Он состоит из корпуса / (рис. 1), в котором по направляющим перемещается рейка 2, имеющая поворотную головку 3 и лапу 4, Рейка с грузом поднимается или опускается вращением рукоятки 5 через зубчатые передачи 6. Для безопасной работы домкрат оборудован грузоупорным тормозом, который действует следующим образом. Вал 7 и зубчатое колесо 8 имеют винтовую нарезку. Между торцевыми поверхностями втулки и рукоятки расположено храповое колесо 9 с собачкой. При подъеме груза рукоятка перемещается по резьбе влево, заклинивает храповое колесо и через зубчатую передачу выдвигает рейку вверх, поднимая груз. По окончании подъема груза вал рукоятки фиксируется собачкой храпового колеса, препятствующей вращению вала в обратную сторону. При опускании груза рукоятка вращается в обратную сторону и одновременно перемещается по резьбе вправо, освобождая храповое колесо. Под действием момента от силы тяжести груза через зубчатую передачу втулка зубчатого колеса ввинчивается в рукоятку, зажимает храповое колесо и препятствует свободному падению груза.
Рис. 1. Реечный домкрат: а - общий вид; б - грузоупорный тормоз.
Процесс опускания груза состоит из чередующихся падений и остановок. В отрегулированном тормозе (минимальном зазоре между храповиком и рукояткой) неравномерность опускания груза практически не ощущается. Усилие Р .на рукоятке при подъеме груза 0(Н) определяется из уравнения моментов относительно оси шестерни, связанной с рейкой:
где
- диаметр начальной окружности шестерни, м;
- длина рукоятки, м;
-общее передаточное число зубчатой передачи;
= 0,65...0.85 - КПД передачи.
При ручном приводе и кратковременной работе усилие на рукоятке допускается не более 200 Н, а при непрерывной - не более 80 Н. Грузоподъемность реечных домкратов - до 6 т., высота подъема - до 0,6 м.
Винтовой домкрат
Он состоит из корпуса 1 (рис. 2) с бронзовой гайкой 8, винта 2 с прямоугольной или трапецеидальной резьбой, грузовой головки 3 и рукоятки 6 с трещоткой. Рукоятка свободно надета на круглую часть винта. Трещотка представляет собой колесо 4 с зубьями, надетое на квадратную часть винта, и собачку 7, В зависимости от направления винта собачку поворачивают на оси 5 в одно из крайних положений, где собачка удерживается стопором 9 с пружиной 10. Винтовые домкраты не требуют дополнительных устройств для удержания груза, так как винтовая пара (винт - гайка) - самотормозящаяся. В самотормозящихся передачах( угол подъёма винтовой линии К меньше угла трения р) (обычно 4...6). Это одновременно является и недостатком таких передач, так как у них КПД всегда меньше 0,5. Грузоподъёмность винтовых домкратов - до 50 т., высота подъёма до 0,35 м. При грузоподъёмности более 20 т. усилие на рукоятке становится значительным и поэтому рукоятка с трещоткой заменяется червячной передачей, а ручной привод - машинным.
Усилие Р(Н) на рукоятке при ручном вращении винта, нагруженного силой Q(H) при среднем радиусе винта г, длине рукоятки R и КПД домкрата
определяется из выражения:
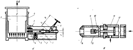
Гидравлический домкрат
Домкрат (рис.3) состоит из цилиндра 6, являющегося одновременно его корпусом, поршня 5, насоса 1, всасывающего 3, нагнетательного 4 и спускного 7 клапанов. При ручном приводе насос и бак 2 с жидкостью объединены с корпусом домкрата.
Рабочей жидкостью служит минеральное масло или незамерзающая смесь (вода, смешанная со спиртом или глицерином). Рукояткой 8 плунжеру насоса сообщается возвратно — поступательное движение. При движении плунжера вправо цилиндр насоса через всасывающий клапан заполняется жидкостью, а при движении влево жидкость под давлением через нагнетательный клапан поступает под поршень основного цилиндра.
Усилие на рукоятке (Р), необходимое для подъёма груза Q (рис. 3, а). Из формулы следует, что выигрыш в силе пропорционален соотношению квадратов диаметров поршней и плеч рукоятки. Гидравлические домкраты с ручным приводом имеют грузоподъемность до 200 т., и высоту подъема до 0,18 - 0.2 м. При машинном приводе жидкость в цилиндр домкрата подается от отдельного гидравлического насоса, а грузоподъемность одиночного домкрата может достигать 500 т. при машинном приводе несколько домкратов могут быть приведены в действие от одной насосной станции и осуществлять подъем крупных сооружений.
Для натяжения стержней или канатов при монтаже предварительно напряженных конструкций применяют тянущие домкраты (рис. 3, б). Такой домкрат состоит из цилиндра 11, штока 10 с поршнем 12, стоики 13 и упорной плиты 14. на конце штока имеется гайка 9 для соединения его со стержнем. Домкрат закрепляют в стойке, служащей упором. При подаче масла в домкрат шток вместе с поршнем перемещается, производя натяжение стержня. Тянущие домкраты развивают усилие 630 и 1000 кН при ходе штока 315 и 400 мм., и работают от насосной станции с рабочим давлением 40 Мпа.
Рис. 3. Гидравлический домкрат: а - с ручным приводом; б - тянущий для натяжения стержней.
Расчетные зависимости для винтового домкрата
домкрат монтажный груз сооружение
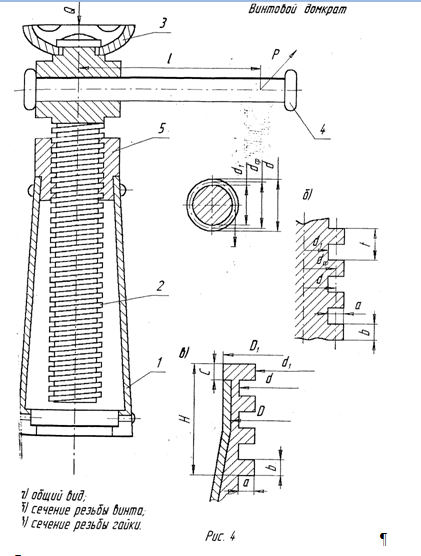
Винтовой домкрат (изображенный на рис.4), состоит из стального корпуса 1 с заделанной гайкой 5, в которую входит винт 2 домкрата. Для вращения винта имеется рычаг 4 с трещоткой (на рис.4 отсутствует), позволяющей работать домкратом в стесненных условиях. Вращение винта может производиться также при помощи ломика, вставляемого в отверстие головки 3. Винт домкрата имеет трапецеидальную или прямоугольную мелкую резьбу. Чем меньше ее шаг, тем больше подъемная сила домкрата.
Важнейшим достоинством винтового домкрата является свойство самоторможения, которое заключается в том, что под действием груза домкрат сам не опускается. Оно объясняется тем, что угол подъема винтовой линии меньше угла трения, т.е. меньше того угла, при котором груз, положенный на наклонную плоскость (которую и представляет собой винтовая линия), начинает скользить по ней под влиянием собственного веса.
Зависимость усилия Q развиваемого домкратом, от усилия Р, прилагаемого к рукоятке рычага, определяется по формуле:
где Q - усилие, развиваемое домкратом, в Н;
Р - усилие на рукоятке, в Н;
- длина рычага, в мм;
t - шаг резьбы, в мм;
- коэффициент полезного действия.
Формула полученная из предположения о равенстве работ силы, приложенной к рукоятке рычага домкрата, и силы, развиваемой его винтом.
В винтовых домкратах коэффициент полезного действия:
где а - угол подъема винтовой линии резьбы;
р - угол трения между материалом винта и материалом гайки.
При подъеме винта домкрата работает на сжатие от веса поднимаемого груза и на кручение от сил трения, возникающих между винтом и гайкой.
Сжимающее напряжение от осевой нагрузки в винте определяется формулой:
Н/мм
где Q - вес поднимаемого груза, в Н;
- внутренний диаметр винта, в мм.
Скручивающие напряжения от крутящего момента определяются по формуле:
Н/мм
- момент сопротивления кручению.
Где
- крутящий момент, определяемый по формуле:
=Р1,
где
- средний диаметр винта (см. рис.4), в мм.
Суммарное (эквивалентное) напряжение в винте от действия сжимающих и скалывающих (скручивающих) определится по формуле:
Грузовые винты, как правили, имеют угол подъема винтовой линии резьбы
, угол трения
(соответствует коэффициенту трения 0,1) и средний диаметр
, при которых после преобразований расчетное уравнение для винта имеет вид:
,
где
- коэффициент продольного изгиба принимается из таблицы в
зависимости от гибкости винта.
Винты домкрата рассчитываются только на сжатие от веса груза Q, а наличие скручивания учитывается коэффициентом 1,25.
Наружный диаметр винта d определяется по формуле:
,
где а - глубина нарезки, обычно:
мм;
t - шаг резьбы.
мм
Высота гайки домкрата определяется из условия прочности резьбы гайки и винта на срез и изгиб, а также по величине среднего удельного давления между витками винта и гайки.
Удельное давление на виток определяется по формуле:
Н/мм
где
- площадь поверхности соприкосновения винта с гайкой, в ММ ;
z - число витков резьбы гайки.
Из условия ограничения допускаемого давления необходимое число витков определяется по формуле:
.
Из условия прочности витков гайки на срез:
,
где b - ширина витка резьбы.
мм
Число витков z определяется по обеим формулам и для дальнейшего расчета принимается наибольшим из них. Высота гайки определяется по формуле:
где t - шаг резьбы, в мм.
При определении размеров винта по условиям прочности необходимо определить наибольшую высоту подъема по условиям устойчивости винта (учитывается коэффициентом
).
Проверка устойчивости винта производится по формуле:
Н/мм2
где F - площадь сечения винта, в мм2 .
При определении гибкости винта и коэффициента <р снижения допускаемых напряжений следует за расчетную длину винта принимать двойную длину выдвинутой части его.
При работе с винтовыми и другими домкратами следует выполнять следующие условия:
устанавливать домкрат центрально под грузом, так как винт его рассчитан только на сжатие и при неправильной установке может легко согнуться;
не увеличивать длину рукоятки домкрата с тем, чтобы не развивать силу, большую, чем может выдержать поперечное сечение винта;
не работать под грузом, удерживаемым только домкратом - необходимы дополнительные страховочные подставки.
Размещено на Allbest.ru
Характеристики
Тип файла документ
Документы такого типа открываются такими программами, как Microsoft Office Word на компьютерах Windows, Apple Pages на компьютерах Mac, Open Office - бесплатная альтернатива на различных платформах, в том числе Linux. Наиболее простым и современным решением будут Google документы, так как открываются онлайн без скачивания прямо в браузере на любой платформе. Существуют российские качественные аналоги, например от Яндекса.
Будьте внимательны на мобильных устройствах, так как там используются упрощённый функционал даже в официальном приложении от Microsoft, поэтому для просмотра скачивайте PDF-версию. А если нужно редактировать файл, то используйте оригинальный файл.
Файлы такого типа обычно разбиты на страницы, а текст может быть форматированным (жирный, курсив, выбор шрифта, таблицы и т.п.), а также в него можно добавлять изображения. Формат идеально подходит для рефератов, докладов и РПЗ курсовых проектов, которые необходимо распечатать. Кстати перед печатью также сохраняйте файл в PDF, так как принтер может начудить со шрифтами.
















