126236 (717735), страница 2
Текст из файла (страница 2)
При використанні пластин з одностороннім напрямом потоку штуцери входу та виходу для першого робочого середовища розміщені з одного боку апарата, а для другого робочого середовища – з другого боку. При парному компонуванні пакетів у секції обидва штуцери розташовані вверху або внизу, при парному компонуванні – один вверху, а другий внизу.
При використанні пластин із діагональним розташуванням потоку робоче середовище з одного боку апарата направляється до другого. Якщо кількість пакетів в секції по ліні руху потоку робочого середовища парне, то штуцери входу середовища в апарат та виходу з нього розташовують з одного боку вдовж апарата (рисунок 6).
Рисунок 6 – Схема компоновки пластин з одностороннім розташуванням прохідних отворів та прокладками 1- 162 – нумерація пластин
При заданій витраті робочих середовищ, які проходять через теплообмінник, залежно від схеми компоновки пластин можна змінювати швидкості руху середовищ у міжпластинчастих каналах. Отже, є можливість регулювати гідравлічний опір та коефіцієнт теплопередачі в апараті. У кожному окремому випадку при складанні схем компоновок пластин необхідно розрахувати оптимальну схему для раціонального використання напору.
По контуру пластини розташовано паз для гумової ущільнювальної прокладки. Пластини штампують із листової сталі різних марок. Гофри пластин мають у перерізу профіль рівнобедреного трикутника. Пластини збираються на верхніх штангах рами за допомогою спеціальних скобок (для консольних апаратів і апаратів на двохопорній рамі з пластинами невеликих типорозмірів) або без них. Кожна пластина повернута у своїй площині на 180° відносно суміжної пластини.
Залежно від конструкції опорних рам розбірні та напіврозбірні теплообмінні апарати виготовляють у трьох виготовленнях: на консольній рамі (виготовлення 1), на двохопорній рамі (виготовлення 2) та на трьохопорній рамі (виготовлення 3).
Пластини виготовляються з листової сталі товщиною 0,8 або 1 мм. Апарати з пластинами товщиною 1 мм застосовують для роботи з агресивними середовищами при швидкості корозії понад 0,05 мм/рік.
Кутові отвори для проходу робочих середовищ мають круглу або складну форму. Останні забезпечують зниження місцевого гідравлічного опору на вході в канал та виході з нього, що сприяє зменшенню швидкості відкладання солей на цих ділянках і дозволяє більш раціонально використовувати всю площу пластини для теплообміну.
По контуру пластини розташовані пази під гумові одну велику та дві малі ущільнювальні прокладки.
Гофровані пластини збирають у пакет таким чином, щоб на суміжних пластинах нахилення гофр було спрямовано у протилежні боки. Нижня штанга рами, яка не несе навантаження від маси пластин, призначена для фіксації їх у заданому положенні. Кожну пластину можна легко витягнути з пакету або вставити в нього без зняття рухомої плити та решти пластин. Між кожною парою пластин створюється канал, по якому перетікає робоче середовище. Канали – сітчасто-поточні. Рідина в них здійснює хвилясте, простірний, трьохмірний рух і при цьому турбулізується. Сумарна площа поперечного перерізу міжпластинчастих каналів постійна у всіх перерізах, перпендикулярних до напряму руху потоку робочого середовища.
4 Конструкції нерозбірних пластинчастих апаратів
Ці апарати призначені для роботи в умовах, при яких робочі середовища не утворюють нерозчинних відкладень на стінках каналів, котрі не піддаються хімічній промивці. Пластини попарно зварені в секції, а секції – в уніфіковані пакети. Із пакетів компонують зварні блоки на розрахункову площу поверхні теплообміну. Зварний блок заданої площі поверхні теплообміну з привареними до нього штуцерами стиснуто гвинтовими стяжками між кінцевими плитами з вуглецевої сталі.
4.1 Теплообмінні апарати з пластинами типу 1,0
Призначені для нагріву та охолодження розчину моноетаноламіну в установках очищення газової суміші у виробництві аміаку. Можуть застосовуватися і в інших виробництвах в умовах, при яких робочі середовища не утворюють хімічно нерозчинних відкладень на стінках каналів.
Теплопередавальні пластини штампуються з листів розміром 1000х х1000х1,2 мм зі сталі 12Х18Н10Т.
По кутам пластин приварені з двох боків проставки. Пластини з проставками, зварені у пакети, створюють дві групи взаємно ізольованих систем каналів для робочих середовищ. Пакети зварені в блок теплообмінного апарата. Ззовні блоку приварені колектори, які охоплюють роздільно групи каналів для холодного та гарячого робочого середовищ. До торців колекторів сегментної форми і пластин приварені круглі плоскі, поребрині ззовні плити. Колектори замінюють гвинтові стяжки і несуть силове навантаження від тиску у середині апарата.
Вхід і вихід холодного та гарячого середовищ здійснюється через патрубки, вварені в колектори апарата.
4.2 Теплообмінні апарати зі здвоєними пластинами
Призначені для нагріву та охолодження різних робочих середовищ і конденсації парів.
Завдяки заміні гумових ущільнень з боку одного з робочих середовищ зварним з’єднанням пластин попарно в герметичний канал (секцію) розширюється галузь застосування пластинчастих теплообмінних апаратів.
Апарати зі здвоєними пластинами у багатьох випадках успішно замінюють традиційні кожухотрубчасті.
Гаряче агресивне середовище протікає по зварним каналам, ущільненим по контуру зваркою. Прокладка, що торкається гарячого середовища, представляє собою два ущільнювальних кільця, розташованих навколо круглих прохідних отворів між зварними секціями.
Канали для холодного неагресивного до гуми середовища ущільнені звичайними гумовими прокладками, що забезпечує доступ для механічного очищення каналів від забруднень. Зварні канали можна очищувати від забруднень лише хімічною промивкою.
Кріплення контурних прокладок до пазів – безклейове, кільцевих колекторних прокладок – клейове.
Апарати розроблені на базі комбінацій двох пластин, гофри яких мають трапецієвидний профіль. Вхідні ділянки складаються з гофр трапецієвидного профілю з перемінними плоскими ділянками у основи трапеції. Поле пластини низького гідравлічного опору складається з чергівних гофрованих ділянок з кутом нахилу гофр відносно вертикальної осі пластини 50º та гофрованих ділянок з кутом нахилу 1º до тієї ж осі (рисунок 7,а). Поле пластини високого опору складається з чергівних ділянок з нахилом гофр відносно вертикальної осі пластини 70 º (рисунок 7,б).
теплообмінний апарат пластина
4.3 Розбірні пластинчасті теплообмінні апарати
Визначальною особливістю конструкцій пластинчастих теплообмінних апаратів є конструкція та форми поверхонь теплообміну і каналів для робочих середовищ. Поверхня теплообміну створюється з окремих пластин, а канали для робочих середовищ мають щілиноподібну форму. Робоче середовище рухається біля поверхні теплообміну тонким шаром, що сприяє інтенсифікації процесу теплопередачі. Форми пластин та профілі їх поверхонь дуже різноманітні, а конструкції досить складні і взагалі мало погожі па пластини. Тому назва “пластина” строго кажучи, відносно деяких конструктивних форм має розглядатися як умовна.
Пластини розташовуються паралельно один одному, причому між робочими поверхнями двох суміжних пластин утворюється невеликий зазор, який у свою чергу утворює канал для робочого середовища.
У найпростішому випадку пластини можуть бути плоскими з гладкою поверхнею і мати прямокутну, квадратну, круглу або іншу форму.
Найпростіший апарат повинен мати не менше трьох пластин, які створюють два канали, по одному з яких тече гаряче робоче середовище, а по другому – холодне (рисунок ).
У промислових апаратах число пластин значно більше і робочі середовища рухаються по великій кількості паралельних каналів одразу.
Вже на основі загального принципу конструювання пластинчастих теплообмінних апаратів можна зробити висновок про деякі його особливості, дуже важливі для практики. Мала товщина пластин та паралельне розміщення їх з невеликими проміжками між пластинами дозволяють розмістити у просторі робочу поверхню апарата найкомпактніше з такою “щільністю”, яка не може бути досягнута в інших типах теплообмінних апаратів. Це призводить до того, що пластинчасті теплообмінні апарати мають при рівному тепловому навантаженні значно менші габаритні розміри та металоємкість, ніж кожухотрубчасті та деякі інші.
При тепловій обробці багатьох робочих середовищ на теплопередавальних стінках залишаються різні відкладення. Крім того, при тепловій обробці термічно нестійких продуктів на стінках утворюється пригар. У цих випадках необхідно часто розбирати апарат для очищення поверхні теплообміну від шару пригару, осаду або залишків продукту.
У деяких випадках у зв’язку зі зміненням технологічного режиму виникає необхідність перекомпоновки поверхні теплообміну, змінення паралельно включених каналів відповідно зміненим витратам робочих середовищ або деяке збільшення, або зменшення загальної поверхні теплообміну.
В хімічних виробництвах іноді трапляється інтенсивне корозійне або ерозійне нерівномірне руйнування поверхні теплообміну тільки на певних несприятливих ділянках, у зв’язку з чим виникає необхідність заміни поверхні теплообміну на цих ділянках.
У всіх подібних випадках найбільш раціональною, а часто і незамінимою є конструкція пластинчастих теплообмінних апаратів, які мають легко розбірну поверхню теплообміну, котра складається з окремих зімкнутих елементів.
Пластини у цих апаратах мають прокладки для ущільнення міжпластинчастих каналів.
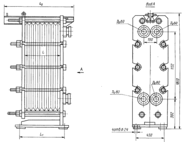
Апарат (рисунок 8) складається з групи теплообмінних пластин, підвішених на верхній горизонтальній штанзі.
Рисунок 8 – Загальний вигляд розбірного пластинчастого теплообмінного апарата
Кінці верхньої та нижньої штанг закріплені у нерухомій передній плиті (стійці) та в задній стійці. За допомогою натискної плити та стяжок з гайками, під які підкладені упорні підшипники, пластини у зібраному стані стиснені в пакет. У робочому положенні пластини щільно притиснені одна до одної на гумових прокладках.
Кожна пластина має прокладки двох призначень:
– велика гумова прокладка, що обмежує на лицевій стороні пластини канал для відповідного потоку робочого середовища та охоплює також два кутових отвори (з одного боку пластини або по діагоналі), через які потік середовища входить у міжпластинчастий канал та виходить з нього;
– дві малі гумові прокладки, котрі ізолюють два інших отвори та створюють транзитний прохід для другого робочого середовища.
Система ущільнювальних прокладок розбірного пластинчастого теплообмінного апарата побудована так, що після зборки та стиснення пластин в апараті створюються дві системи герметичних каналів, ізольованих одна від другої металевою стіною та прокладками: одна для гарячого робочого середовища, друга для холодного. Одна з цих систем складається з непарних каналів, друга – з парних, завдяки чому потоки гарячого та холодного середовищ чергуються. Обидві системи міжпластинчастих каналів з’єднуються зі своїми колекторами і далі зі штуцерами для входу та виходу робочих середовищ, розміщених на плитах.
Холодне робоче середовище входить в апарат через штуцер, розташований на нерухомій або на рухомій плиті, і через верхній кутовий отвір попадає в поздовжній колектор, створений кутовими отворами пластин після їх зборки. По колектору холодне середовище доходить до крайньої у пакеті пластини, яка має сліпий кут (буз отвору), і розподіляється по непарним міжпластинчастим каналам, що сполучаються (через один) з кутовим колектором завдяки відповідному розташуванню великих та малих гумових прокладок. При русі уверх по міжпластинчастому каналу середовище обтікає хвилясту поверхню пластин, які обігріваються зі зворотного боку гарячим середовищем. Потім підігріте середовище поступає у поздовжній колектор, створений нижніми кутовими отворами, і виходить з апарата через штуцер.
Гаряче робоче середовище рухається в апараті назустріч холодному. Воно поступає в апарат через штуцер входу, проходить через нижній колектор, розподіляється по парним каналам і рухається по ним уверх. Через верхній колектор та штуцер виходу охолоджене середовище виходить з апарата.
Зображеній перспективній схемі руху робочих середовищ терен теплообмінний апарат з п’яти відповідає умовна плоска схема, показана на рисунку . В реальних апаратах число пластин значно більше.
4.4 Напіврозбірні пластинчасті теплообмінні апарати
Задача створення розбірної поверхні теплообміну, доступної для огляд та механічного очищення, дуже складна. Гума та інші еластичні матеріали, що застосовуються для виготовлення ущільнювальних прокладок, мають обмежену теплову та корозійну стійкість, і прокладки є найменш зносостійкими елементами конструкції апаратів. Тому розбірні з’єднання пластин раціонально застосовувати лише при безумовній їх необхідності.
У промисловості часто буває, що одно з робочих середовищ не залишає на поверхні теплообміну забруднень, які вимагають розборку апарата для його механічного очищення. Для таких умов доцільно застосовувати кожухотрубчасті теплообмінні апарати з нерухомими трубними решітками, температурним компенсатором на кожусі або з плаваючою головкою. З цією ж метою розроблені також і більш ефективні напіврозбірні (зі здвоєними пластинами) пластинчасті теплообмінні апарати.
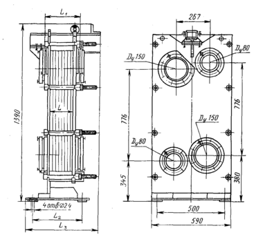
На рисунку 9 представлено загальний вигляд напіврозбірного пластинчастого теплообмінного апарата.
Рисунок 9 – Загальний вигляд напіврозбірного пластинчастого теплообмінного апарата
Основним елементом напіврозбірного пластинчастого теплообмінного апарата є попарно зварені між собою контактно-шовною електрозваркою пластини, які є дзеркальним відображенням одна одної. Кожна пара пластин підвішується на верхню штангу і може на ній переміщатися. По контуру кожної пластини виштамповано U-подібний паз, призначений для розміщення у ньому гумової прокладки, яка приклеюється до пластини.
Суміжні з нерозбірними канали (розбірні) призначені для механічного очищення від забруднень. Для цього попарно зварені пластини з’єднують у пакет і ущільнюють за допомогою гумових прокладок.
4.4 Конструкції основних елементів пластинчастих теплообмінних апаратів
Конструкції пластин визначають технічні характеристики теплообмінних апаратів. Від форми, розмірів і конструктивних особливостей пластин залежать інтенсивність теплопередачі, надійність апаратів, технологічність та трудоємкість їх виготовлення.
Література
1 Барановский Н.В., Коваленко Л.М., Ястребенецкий А.Р. Пластинчатые и спиральные теплообменники. М., «Машиностроение», 1973. – 288 с.
2 Пластинчатые теплообменные аппараты. Каталог. М.: ЦИНТИхимнефтемаш, 1990. – 52 с.
3 Стальные спиральные теплообменники. Каталог. М.: ЦИНТИхимнефтемаш, 1974. – 21 с.
Размещено на Allbest.ru
















