125612 (717617)
Текст из файла
Зміст
Вступ
1. Фізико-хімічна характеристика процесу
1.1 Існуючі методи одержання вінілацетату, їх стисла характеристика. Вибір методу
1.2 Теоретичні основи вибраного методу отримання вінілацетату
2. Технологічна характеристика процесу
2.1 Основні фізико - хімічні властивості сировини, допоміжних матеріалів, готової продукції
2.2 Опис технологічної схеми
2.3 Відходи виробництва, їх використання
2.4 Новизна в проекті
Література
Вступ
Хімія високомолекулярних сполук за останні роки розвивається винятково швидкими темпами. Величезне число досліджень у цій області привело до нагромадження багатого експериментального матеріалу, на основі якого був зроблений ряд теоретичних узагальнень. Хімія високомолекулярних сполук перетворилася в самостійний великий розділ хімічної науки. Промисловість синтетичних високомолекулярних сполук, що охоплює виробництво пластичних мас, плівок, синтетичного каучуку й синтетичного волокна, що зародилася на початку XX століття, розвивалася в значному відриві від хімічної науки, тому технічні досягнення часто були результатом чисто емпіричних досліджень і випереджали наукове вивчення відповідних процесів. У тридцятих роках відбулися істотні зміни у взаєминах між хімією й технологією синтетичних високополімерів. Промисловість стала виготовляти цілий ряд нових технічних високополімерів, синтез яких почав базуватися на глибокому вивченні реакцій полімеризації й поліконденсації і перетворень у ланцюгах високополімерів. Бурхливий розвиток промисловості пластичних мас, синтетичного каучуку й синтетичного волокна у свою чергу стимулювало подальше розширення об'єму досліджень і поглиблене вивчення складного механізму процесів утворення високополімерів, їхніх властивостей і залежності фізичних показників від структури.
Полімери на основі вінілацетату володіють рядом цінних і специфічних властивостей і, незважаючи на відносно невелику потребу в них у порівнянні із загальною потребою в полімерних матеріалах, відіграють важливу роль у розвитку різних галузей промисловості. Методи їхнього одержання пов'язані з використанням техніки полімеризації в розчинниках, суспензії й емульсії, статистичної й щепленої сополімерізації, численних реакцій полімераналогічних перетворень. Найважливішими особливостями цього класу полімерів є їх універсальні адгезійні та сполучні властивості, висока міцність волокон і плівкових матеріалів, виготовлених з їхнім застосуванням. У цей час важко назвати яку-небудь галузь народного господарства, де б не застосовувалися полімери на основі вінілацетату.
До полівінілацетатних пластиків відносять полівінілацетат і сополімери вінілацетату, які випускають у вигляді гранул, розчинів і дисперсій, полівініловий спирт і полівінілацетати.
Більше 60% колишнього СРСР виробляємого вінілацетату витрачається на виробництво полівінілацетатної дисперсії. Одержаний емульсійною полімеризацією вінілацетат в присутності захисних колоїдів або емульгаторів і окислювально-відновних ініціюючих систем використовується у вигляді 50 % водного продукту такого як клеї, що зв'язуют, плівкоутворювачів. Перевагами полівінілацетатних дисперсій перед іншими клеями є їхня низька вартість, негорючість, нешкідливість, стійкість до старіння, дії жирів, мастил і нафтопродуктів, гарні адгезійні властивості.
Полівінілацетатні дисперсії широко використаються для склеювання паперу, картону, гофрокартону, деревини, пінополістиролу, шкіри, тканин, а також у якості сполук у водоемульсійних фарбах, компоненту композиції для кріплення керамічної плитки і багатьох інших призначень. Недарма полівінілацетатні дисперсії називають «матеріалом тисячі можливостей».
Лакофарбові матеріали на основі дисперсій полівінілацетату є чудовим покриттям для вбираючих прокладок, наприклад штукатурки, бетону, цегли, асбоцементу. Вони швидко висихають і мають здатність «дихати», тобто пропускати вологу з прокладки, при цьому не відбувається ні відлущування покриття, ні утворення в ньому міхурів.
Водоемульсійні полівінілацетатні фарби заміняють мастильні, що дозволяє зменшити використання для технічних цілей харчової сировини. Так, застосування 1 тони полівінілацетатної дисперсії у вигляді фарби дозволяє заощадити 900 кілограмів натуральної оліфи, що виготовляється із соняшникової олії.
Розмаїття областей застосування полівінілацетатної дисперсії зробило необхідним створення різноманітних сортів цього продукту. У цей час промисловими підприємствами випускається 25 марок полівінілацетатних дисперсій, що розрізняються в'язкістю, складом і природою пластифікаторів, розміром часток.
Розроблено спосіб підвищення морозостійкості (до —40° С) дисперсій, пластифіцированого 15% дибутілфталату. Підвищення морозостійкості має істотне значення для транспортування й зберігання дисперсій і фарб на їхній основі в різних кліматичних умовах.
Однак застосування пластифікаторів, здатних згодом випаровуватись з покриттів і мігрувати в субстрати, погіршує споживчі властивості полівінілацетатних дисперсій. Цих недоліків позбавлені дисперсії сополімерів вінілацетату зі складними ефірами ненасичених моно- і дікарбонових кислот, іншими складними вініловими ефірами, етиленом, що є внутрішньо пластифіцированими продуктами. Крім того, дисперсії сополімерів вінілацетату відрізняються від гомополімерної полівінілацетатної дисперсії більш високою адгезією до різних матеріалів, а плівки на їхній основі стійкі до лужного гідролізу.
Особливий інтерес представляють дисперсії сополімерів вінілацетату з етиленом. Не поступаючись за властивостями іншим сополімерним дисперсіям, вони мають ту перевагу, що для їхнього виробництва використовується дешева й легкодоступна сировина - етилен. Ці дисперсії стійкі при низьких температурах, утворюють високоеластичний клейовий шов, здатний міцно зклеювати папір і дерево з полівінілхлоридною плівкою й у майбутньому зможуть майже повністю замінити гомополімерні полівінілацетатні дисперсії.
Сополімери вінілового спирту з етиленом поєднують високу еластичність із водостійкістю, зберігаючи інші властивості полівінілового спирту: газонепроникність, стійкість до дії мастил, жирів, нафтопродуктів, більшості органічних розчинників. Ці сополімери можуть знайти застосування в якості плівкових і конструкційних матеріалів.
Потреба народного господарства в полімерах на основі вінілацетату систематично випереджає ріст обсягу виробництва. Це обумовлено високою економічною ефективністю застосування полівінілацетатних пластиків у різних галузях народного господарства. Для більш повного задоволення потреби в них необхідне створення великих виробництв із великою потужністю технологічних ліній періодичної й безперервної дії й подальше розширення марочних асортиментів. [1]
1. Фізико-хімічна характеристика процесу
-
Існуючі методи одержання вінілацетату, їх стисла характеристика. Вибір методу
Рідкофазний процес синтезу вінілацетату
У першому патенті Клат’є опис процесу дається в наступному виді: 250 м безводної оцтової кислоти змішуються з 10 м сірчанокислого закису ртуті. Через суміш при температурі 60—100°С при перемішуванні пропускається ацетилен. Після припинення абсорбції ацетилену реакційна суміш переганяється під вакуумом. При цьому відганяється дуже невелика кількість вінілацетату й у залишку перебуває непрореагована оцтова кислота й етілідендіацетат. Таким чином, у цьому процесі реакція йде головним чином у бік етілідендіацетату. Таким методом можуть бути отримані етіліденові ефіри оцтової, моно-, ді- і тріхлороцтової, пропіонової, молочної, бензойної й іншої кислот.
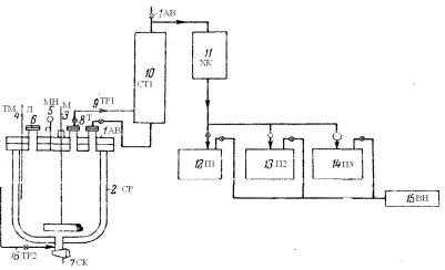
Рисунок 1:1(АВ) – автоклав; 2(СР) – сорочка; 3(М) – мішалка; 4(ТМ) – термометр; 5(МН) – монометр; 6(Л) – лаз; 7(СК) – спускний кран; 8(Т) – труба;9,16(ТР1,2) – трубопровід; 10(СТ1) – стовпчик для фракчіонування; 11(ХК) – холодильник; 12-14(П1-3) – приймач; 15(ВН) – вакуум-насос.
Схема виробництва вінілацетату за рідкофазним процесом із застосуванням підвищеного тиску рисунок 1.
Основним апаратом є автоклав (1) (АВ), футерований склом. Автоклав з термометром (4) (ТМ), манометром (5) (МН), завантажувальним лазом (6) (Л), мішалкою (3) (М), сорочкою для охолодження й обігріву (2) (СР), відвідною трубою (8) (Т), спускним краном (7) (СК) і трубопроводами (9, 16) (ТР 1,2).
В автоклав завантажується 600 частин оцтової кислоти, 30 частин сірчанокислої ртуті і 100 частин сірчанокислого окису заліза. Після завантаження реакційна суміш прохолоджується шляхом додавання в сорочку охолодженого розчину, автоклав продувається азотом і при роботі мішалки нагнітається ацетиленом. Температура підтримується близько 10°С. Протягом 5-6 годин поглинається 142 частин ацетилену, після чого до реакційної суміші додається 50 частин безводного оцетокислого натрію (для нейтралізації сірчаної кислоти), надлишок ацетилену відділяється і суміш піддається діленню у вакуумі за допомогою вакуум-насосу (1) (ВН). Пара проходить через мідний стовпчик для фракціонування (10) (СТ1) в алюмінієвий холодильник (11) (ХК) і конденсуються. У приймачах (12-14) (П1-3) відбираються фракції, що відповідають вінілацетату, оцтовій кислоті й етилідендіацетату. Сірчанокислий натрій і ртутні солі, що залишається в автоклаві віддаляються при промиванні автоклаву, і ртуть піддається регенерації.
У результаті виходить 100 частин вінілацетату, близько 5 частин етилідендіацетату і рекуперується 360 частин оцтової кислоти. Вихід вінілацетату на прореаговану оцтову кислоту становить близько 42 ваг. %.
Основні методи одержання вінілацетату в газовій фазі зводяться до наступного. Синтез вінілацетату здійснюється шляхом проходження суміші ацетилену з парою оцтової кислоти через нагрітий каталізатор. Каталізаторами служать солі цинку й кадмію (оцтові й фосфорнокислі). Як носій каталізатора застосовуються силікагель або активоване вугілля. Температура реакції лежить у межах 210–250°.
Газову суміш рекомендується нагрівати до цієї або трохи вищої температури. Ацетилен застосовується в надлишку проти теоретичного.
Схема одержання вінілацетату рисунок 2.
Ацетилен, що вживався для одержання вінілацетату, промивався спочатку у вежі водою, насиченої хлором, і потім у другій вежі 3%-м розчином їдкого натру.
Рисунок 2:
1(ВП) - випарник; 2(ПВ) – підігрівник; 3(ТБ) – теплообмінник; 4(ОБ) – обігрівач; 5,9(ПС1,2) – пастка; 6(ПЧ) – піч; 7а,б,8(ХК1,2,3) – холодильник; 10(ПД) – повітродувка; 11(СТ2) – стовпчик.
Після проходження через карбідні сущії для видалення вологи ацетилен надходив в очисники, завантажена сухою очисною масою, що складається з кізельгуру, просоченого хромовою кислотою, і звідси через повітродувку (10) (ПД) у випарник оцтової кислоти (1) (ВП), у якому підтримувалася температура 120°С. Ацетилен при температурі 90°С, насичений оцтовою кислотою, нагрівався послідовно в підігрівнику (2) (ПВ) до 120—140° С, у теплообмінника (3) (ТБ) до 165—190° і, нарешті, в електричному обігрівачі (4) (ОБ) до 170—220° С. У пастці для купрена (5) (ПС1), завантаженої використаним каталізатором і розташованої перед контактною піччю, газ звільняється від продуктів конденсації ацетилену. Суміш ацетилен-оцтова кислота входила в контактну піч (6) (ПЧ) і проходила через каталізатор, що складається з активованого вугілля з нанесеним на нього ацетатом цинку (20% Zn), що містяться у 785 трубках 3,5 м висоти й діаметром 50 мм. Піч ємністю 5 м3 містить 2100 кг каталізатора. Перетворення оцтової кислоти досягає 30—40%. Охолодження здійснюється ізофороном (з температурою кипіння 213—214°С), що входить у піч при температурі на 4°С нижче температури печі й залишає її при температурі печі. Початкова температура реакції 175°С і кінцева близько 220°С.
Контатна газова суміш проходить з контактної печі (6) (ПЧ) через теплообмінник (3) (ТБ) і підігрівник (2) (ПВ) до першого холодильника (7а) (ХК1), що залишала при температурі 45—50°С, і до другого холодильника (7б) (ХК2), що залишила при температурі 15°С. У наступному холодильнику (8) (ХК3) газ охолоджується до 12°С і реціклює через пастку (9) (ПС2), яка промивається оцтовою кислотою. Конденсат із другого холодильника, з газового холодильника (8) (ХК3) і пастки проходить до верхньої частини стовпчика (11) (СТ2). Ацетальдегід й ацетилен відганяються, і залишок, що складається з 40% вінілацетату, 0,6 % ацетальдегіду й 59,2% оцтової кислоти, переганяється послідовно в трьох колонах Рашига.
Перша дає сирий вінілацетат, що містить ацетальдегід; у другому стовпчику альдегід й інші домішки відокремлюються: у верхній частині третього стовпчика виходить чистий вінілацетат (температура кипіння 71°С при 730 мм). Залишок із третього стовпчика, що складає з оцтової кислоти, вінілацетату й альдегіду, який містить домішки, і другого стовпчика переганяється періодично на двох інших колонах. Для запобігання утворення полімеру під час перегонки додається розчин гідрохінону. За 1 годину на 1 л каталізатора виходить близько 50 м3 вінілацетату. Вихід вінілацетату становив по ацетилену приблизно 92% і по оцтовій кислоті 96-98%.
Парофазний метод синтезу має істотні переваги перед рідкофазним. При парофазному методі застосовуються більш дешеві неотруйні каталізатори, що мають більший термін служби, чим при рідкофазному методі. В самій сутності процесу він є безперервним і допускає легке одержання будь-якого співвідношення компонентів у парогазовій суміші, що дає можливість регулювати процес, створювати практично будь-який надлишок ацетилену й працювати з обраним відсотком конверсії, що визначається як технічними, так і економічними міркуваннями (практично застосовані співвідношення оцтової кислоти й ацетилену лежать у межах від 1:2 до 1:10). Застосування парофазного методу, однак, вимагає використання більше високих температур і здійснення ряду додаткових заходів пожежної й вибухонебезпечності. [1]
1.2 Теоретичні основи вибраного методу отримання вінілацетату
Синтез вінілацетату з ацетилену й оцтової кислоти проводиться в парогазовій фазі по реакції:
С2Н2 + СН3СООН → СН2=СНОСОСН3 + Q
через утворення комплексу ацетилену й оцтової кислоти із цинкацетатом, нанесеним на активоване вугілля.
Крім основної реакції протікає ряд побічних, що приводять до утворення ацетальдегіду, кротонового альдегіду, ацетону, етілідендіацетату, бензолу, діоксиду вуглецю й інших домішок.
Характеристики
Тип файла документ
Документы такого типа открываются такими программами, как Microsoft Office Word на компьютерах Windows, Apple Pages на компьютерах Mac, Open Office - бесплатная альтернатива на различных платформах, в том числе Linux. Наиболее простым и современным решением будут Google документы, так как открываются онлайн без скачивания прямо в браузере на любой платформе. Существуют российские качественные аналоги, например от Яндекса.
Будьте внимательны на мобильных устройствах, так как там используются упрощённый функционал даже в официальном приложении от Microsoft, поэтому для просмотра скачивайте PDF-версию. А если нужно редактировать файл, то используйте оригинальный файл.
Файлы такого типа обычно разбиты на страницы, а текст может быть форматированным (жирный, курсив, выбор шрифта, таблицы и т.п.), а также в него можно добавлять изображения. Формат идеально подходит для рефератов, докладов и РПЗ курсовых проектов, которые необходимо распечатать. Кстати перед печатью также сохраняйте файл в PDF, так как принтер может начудить со шрифтами.















