125449 (717579)
Текст из файла
Рекомендацій щодо конструювання торцевих ущільнень
Зміст
1. Охолоджування ущільнень
2. Термогідродинамічні торцеві ущільнення
3. Матеріали пар тертя на основі вуглецю
3.1 Приклади конструкції торцевих ущільнень насосів АЕС
Список літератури
1. Охолоджування ущільнень
Найважливішим показником, що обмежує ресурс ущільнення, є втрати потужності на тертя, які приводять до підвищення температури у торцевому зазорі, руйнування змащувальної плівки, температурних деформацій і в результаті до інтенсивного зносу контактних поверхонь. Тому при проектуванні ущільнень необхідно вживати всі доступні заходи щодо зменшення втрат потужності на тертя, перш за все за рахунок гідравлічного розвантаження (коефіцієнт навантаження k = 0,55-0,85) і вибору антифрикційних матеріалів для пари тертя. Якщо ці заходи є недостатніми для забезпечення задовільного теплового стану, необхідно збільшувати тепловідведення. Для ущільнень на високі параметри (р1v > 100 МПа м/с) потрібно створювати умови рідинного або напіврідинного змащення за рахунок гідро - та термогідродинамічних ефектів або переходити до гідростатичних ущільнень.
Збільшення тепловідведення досягається за допомогою спеціальних систем охолоджування (рис.1). У системі І відведення тепла з камери збільшується за рахунок циркуляції ущільнювальної рідини під дією тиску, що розвивається самим насосом. Така система ефективна, якщо насос перекачує холодну воду. Для насосів, що працюють на гарячій воді, система охолоджування доповнюється виносним теплообмінником, який вимагає додаткового джерела холодної води. Системи із внутрішнім холодильником для охолоджування пари тертя (ІІ) можуть працювати за рахунок циркуляції перекачуваної рідини аналогічно системі І, якщо насос працює на холодній воді. Інакше потрібна додаткова зовнішня система прокачування холодної води. На гарячих насосах вбудовані холодильники використовуються як термобар’єр (ІІІ) для охолоджування ущільнювальної рідини в камері ущільнення. Щоб підвищити ефективність вбудованих холодильників, їм надають геометричні форми з розвиненими поверхнями тепловіддачі.
Рисунок 1 - Системи охолоджування торцевих ущільнень
Значного поширення набули системи охолоджування з виносним теплообмінником та вбудованим лабіринтово-гвинтовим насосом (рис.2), що розвиває тиск, достатній для забезпечення необхідної витрати ущільнювальної рідини через холодильник. Як правило [1], примусова циркуляція від вбудованого насоса доповнюється термосифонною системою, яка являє собою піднятий на висоту не менше двох метрів теплообмінник, природна циркуляція в якому відбувається завдяки різній густині гарячої води на вході та охолодженої на виході.
Найефективнішим способом охолоджування (рис.3 а, б) є підведення в камеру ущільнення холодної замикаючої води під тиском, що дещо перевищує тиск ущільнювальної рідини (гідрозатвор). Найчастіше системи замикання поєднуються з подвійними торцевими ущільненнями (рис.3 б); при цьому внутрішнє обмежує перетікання замикаючої рідини в порожнину насоса під дією невеликого перепаду тиску, а зовнішнє ущільнює вихід запірної рідини назовні з насоса та сприймає повний тиск гідрозатвора. Такі системи охолодження повністю виключають зовнішні витоки рідини, що перекачується насосом, тому застосовуються у всіх насосах першого контуру. Системи з гідрозатвором, окрім теплообмінників та фільтрів, вимагають додаткового насоса високого тиску та автоматичних регуляторів перепаду тиску замикаючої і ущільнювальної рідин. Необхідний тиск у контурі циркуляції замикаючої води можна підтримувати газовою подушкою, утворюваною при підключенні до теплообмінника через редукційний клапан балона з рідким азотом. При цьому неминучі втрати замикаючої води, тому періодично необхідно заповнювати підживлюваним насосом.
Рисунок 2 - Система охолоджування з виносним теплообмінником та вбудованим лабіринто-гвинтовим насосом
Рисунок 3 - Системи охолоджування з гідро затвором з одинарним (а) та з подвійним (б) торцевим ущільненням
2. Термогідродинамічні торцеві ущільнення
Особливість таких ущільнень (рис.4 а) - серпоподібні канавки 2 на одній з контактних поверхонь 1. Ці ущільнення характеризуються тим, що коефіцієнт тертя в них зменшується із зростанням ущільнювального тиску (рис.4 б) та колової швидкості. Пояснюється це тим, що в зоні канавок умови охолоджування кращі, ніж на віддалених від них ділянках контактної поверхні. У результаті осесиметричне температурне поле кільця змінюється хвилеподібно від канавки до канавки, викликаючи відповідні температурні мікродеформації. Завдяки цьому торцевий зазор по периметру змінюється згідно із законом, близьким до гармонійного, і при ковзанні контактних поверхонь відносно один одного в місцях зменшення зазора виникають гідродинамічні мікроклини з підвищеним тиском. Таким чином, температурні деформації збільшують розклинюючу гідродинамічну силу та зменшують контактний тиск поверхонь та втрати потужності на тертя. Термогідродинамічні ущільнення мають здатність до саморегулювання втрат потужності на тертя: зростання контактного тиску веде до збільшення температурних ефектів, які зменшують стале значення втрат потужності. На жаль, зворотний зв'язок щодо температури пари тертя порівняно слабкий та не піддається прогнозуванню. Тому успіхи, досягнуті в області термогідродинамічних ущільнень, базуються на практичному досвіді та на інженерних пошуках оптимальних конструкцій [1]. Такі ущільнення є проміжним ступенем між традиційними механічними торцевими ущільненнями та гідростатичними ущільненнями з саморегульованим зазором.
Рисунок 4 - Термогідродинамічне торцеве ущільнення:
а - поверхня тертя; б - залежність коефіцієнта тертя
від параметрів серпоподібні канавки
3. Матеріали пар тертя на основі вуглецю
Надійність та ресурс контактних ущільнень визначається головним чином фізико-механічними властивостями матеріалів пар тертя. Пари тертя повинні мати мінімальний коефіцієнт тертя та низьку швидкість зношування, високу теплопровідність і термоміцність, низький температурний коефіцієнт лінійного розширення, стійкість проти задирання, схоплювання та корозії. Перелічені вимоги значною мірою задовольняють антифрикційні матеріали на основі вуглецю. Коефіцієнт теплопровідності цих матеріалів в 2-4 рази більше, а коефіцієнт лінійного розширення в 2-3 рази менше, ніж у чорних металів; вони легко переносять термічні удари, здатні до самозмащування та мають низький коефіцієнт тертя.
Для торцевих ущільнень в основному використовують штучні вуглеграфітові матеріали, які одержують з нафтового коксу шляхом термообробки, подрібнення та пресування. Використовують також антрацит, пековий кокс та сажу. В якості зв'язувального матеріалу застосовують кам'яновугільний пек та смоли. Для підвищення антифрикційних властивостей додають природний очищений графіт.
Після випалення (1200-1300°С) пресованих заготовок кілець одержують обпалений вуглець (АО - антифрикційний обпалений вуглеграфіт). При випаленні випаровуються леткі складові пеку та утворюються пори, об'єм яких досягає 20-40% об'єму матеріалу; розміри пор 0,01-5мкм. Додаткове випалення заготовок при температурі 2300-2600°С викликає рекристалізацію вуглецю та переводить частину аморфного вугілля в графіт, у результаті одержують графітірований вуглеграфіт (АГ).
Для зменшення пористості та підвищення експлуатаційних якостей вуглеграфітів їх просочують металами, термостійкими смолами, кремнієм, фторопластами і т.д. Випалені та графітизовані вуглеграфіти АО-1500-СО5 та АГ-1500-СО5 просочені сплавом свинцю (95%) та олова (5%), а АГ-1500-Б83 та АГ-1500-Б83 - бабітом. Гранично допустимі температури в зоні тертя 300 та 200 °С відповідно для просочень СО5 та Б83. Перевищення цих температур приводить до виплавлянню металу, просочення та порушенню герметичності. Обпалений вуглеграфіт 2П-1000-Ф просочений фенолформальдегідною смолою (допустима температура 140°С). Просочення синтетичною смолою зменшує небезпеку задирання при підвищеному контактному тиску. Обпалений антифрикційний матеріал химаніт-Т виготовляють методом суміщеного пресування та випалення з подальшим просоченням фурфуриловим спиртом та термообробкою при 300°С. Матеріал має високу термостійкість (до 300°С) та малий коефіцієнтом тертя, що забезпечує його працездатність при швидкостях ковзання до 25 м/с і контактному тиску до 8 МПа.
Для ущільнень з високим та надвисоким ступенем навантаження (табл.1) частіше за все використовують силіційований графіт, який одержують просоченням пористого графіту розплавленим кремнієм. У процесі просочення у результаті взаємодії кремнію з вуглецем утворюється карбід кремнію. Частина кремнію та графіту залишається не зв'язаною, тому силіційований графіт являє собою трикомпонентну систему. Фаза карбіду обумовлює високі фізико-механічні показники та хімічну стійкість, а вільний графіт - антифрикційні властивості. Силіційовані графіти СГ-М, СГ-П, СГ-Т розрізняються змістом фази карбіду (у порядку зростання) та відповідно твердістю і зносостійкістю. Недоліком цих матеріалів є крихкість (зростає із збільшенням твердості), а також те, що вони піддаються обробці тільки алмазним кругом на шліфувальних верстатах.
Менш крихкі боросиліційовані графіти БСГ-30 та БСГ-60, що розрізняються пористістю початкового графіту ПРОГ-2400: 30% для БСГ-30 та 60% для БСГ-60. Ці графіти також обробляються лише шліфуванням алмазним кругом.
Кращим з силіційованих графітів є алюмокарбідкремнієвий графіт ГАКК 55/40, який обробляється на металорізальних верстатах твердосплавними різцями. Матеріал допускає короткочасну роботу насухо, коефіцієнт сухого тертя 0,05-0,1.
Поверхні тертя ущільнювальних кілець з вуглецевих матеріалів доводять на скляних та чавунних притирах алмазними пастами, алмазними порошками або порошками карбіду бору. Шорсткість контактних поверхонь після доведення Ra = 0,025-0,1 мкм, неплощинність не більше 0,9 мкм.
3.1 Приклади конструкції торцевих ущільнень насосів АЕС
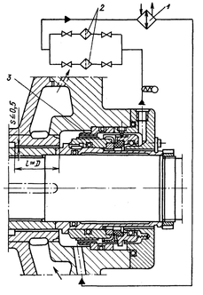
Термогідродинамічні торцеві ущільнення (рис.5) для живильних насосів АЕС розроблені фірмою "Бургман" (Німеччина) на діаметри вала 150-200 мм, колова швидкості до 70 м/с та тиск до 7 МПа [1]. В якості пари тертя використаний карбід вольфраму по графіту або карбід кремнію по графіту. Ущільнювальні кільця встановлені в обоймах по пресовій посадці із попереднім натягом, що виключає їх звільнення через різницю температурних коефіцієнтів лінійного розширення кілець та обойм. Гранична температура охолоджувальної води на виході з камери ущільнення 90°С. Перевищення цієї межі викликає аварійне відключення насоса. Обойма, що обертається, гідравлічно розвантажена та зафіксована на валу шпонкою тільки від повороту. Вторинні ущільнення - гумові кільця круглого перерізу. Температура перекачувальної насосом живильної води 150-200°С, зовнішня система 1, 2 забезпечує безперервне очищення та охолодження води в камері ущільнення до 50-70°С. Циркуляцію води в цьому контурі здійснює вбудоване лабіринтно-гвинтовий насос 3 із багатозахідною прямокутною нарізкою.
Рисунок 5 - Торцеве ущільнення живильного насоса фірми "Бургман"
Характеристики
Тип файла документ
Документы такого типа открываются такими программами, как Microsoft Office Word на компьютерах Windows, Apple Pages на компьютерах Mac, Open Office - бесплатная альтернатива на различных платформах, в том числе Linux. Наиболее простым и современным решением будут Google документы, так как открываются онлайн без скачивания прямо в браузере на любой платформе. Существуют российские качественные аналоги, например от Яндекса.
Будьте внимательны на мобильных устройствах, так как там используются упрощённый функционал даже в официальном приложении от Microsoft, поэтому для просмотра скачивайте PDF-версию. А если нужно редактировать файл, то используйте оригинальный файл.
Файлы такого типа обычно разбиты на страницы, а текст может быть форматированным (жирный, курсив, выбор шрифта, таблицы и т.п.), а также в него можно добавлять изображения. Формат идеально подходит для рефератов, докладов и РПЗ курсовых проектов, которые необходимо распечатать. Кстати перед печатью также сохраняйте файл в PDF, так как принтер может начудить со шрифтами.















